
10月10日,专注于CAR-T疗法的生物技术公司Sana Biotechnology宣布,将裁员29%(约120名员工),以专注于体外细胞疗法。

此次裁员标志着公司不到一年的第二轮裁员。
2022年11月,该公司解雇了15%的员工,并停止了研究使用心脏细胞治疗心力衰竭的项目的开发。Sana表示,此次成本的削减将有助于公司节省现金,使其能在未来几年投资关键的临床项目。并预计2024年的运营资金将低于2亿美元,现金跑道将延长至2025年。

Sana计划在2023年和2024年从多个项目中进行临床概念验证,为更好地了解其治疗血癌的同种异体HIP CAR - T项目、治疗自身免疫性疾病的同种异体HIP CAR - T项目以及治疗1型糖尿病的HIP胰岛细胞。
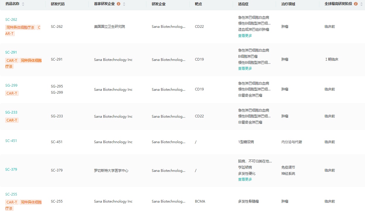
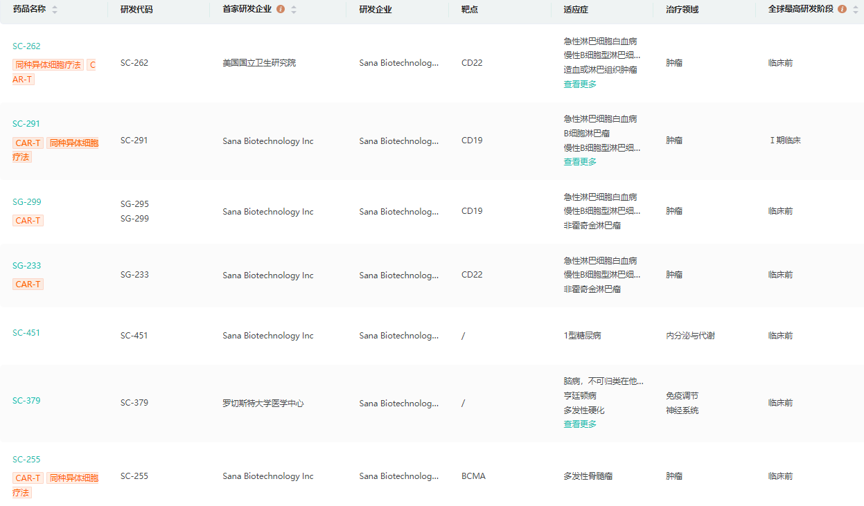
其中,用于测试b细胞介导的自身免疫性疾病的细胞疗法SC291提交了IND申请,预计2024年获得数据;用于b细胞恶性肿瘤患者的细胞疗法SC262将于今年第四季度提交IND,用于治疗血癌的CAR-T疗法SG299的IND将推迟提交;1型糖尿病项目预计在2023年或2024年获得数据。
除了SG299, Sana的体内目标还包括用于多发性骨髓瘤、各种淋巴瘤和白血病、镰状细胞病和地中海贫血的临床前阶段资产。据知情人士透露,如果公司获得更多融资,体内项目最终可能会被授权出去,或者仍在公司推进。
公司管线

截图来源:药融云全球药物研发数据库
Sana是过去四年出现的最引人注目的细胞治疗公司之一。公司由ARCH Venture Partners和Flagship Pioneering成立后,Sana在私募市场获得了超过7亿美元的资金,随后在2021年2月进行了近6亿美元的IPO。目前市值7.48亿美元。

参考资料:
1.公司官网
2.药融云数据库
<END>
要解锁更多企业药品研发信息吗?查询药融云数据库(vip.pharnexcloud.com/?zmt-mhwz)掌握药品各国上市情况、药品批文信息、销售情况与各维度分析、市场竞争格局、一致性评价情况、集采中标情况、药企申报审批信息、最新动态与前景等,以及帮助企业抉择可否投入时提供数据参考!注册立享15天免费试用!








川公网安备51019002008863号
本网站未发布麻醉药品、精神药品、医疗用毒性药品、放射性药品、戒毒药品和医疗机构制剂的产品信息
收藏
登录后参与评论
暂无评论