
5月7日,据上海医药发布公告,其下属全资子公司上药东英(江苏)药业的左西孟旦注射液以仿制4类报产获批,视同过评。据药融云数据显示,该品种在2022年全国院内市场销售额超6亿元。(相关阅读:上海医药:溶瘤病毒疗法“T3011”临床申请获CDE承办)

截图来源:企业公告
左西孟旦注射液作为唯一的与肌钙蛋白具有较高亲和力的强心药, 它具备较强的药效,较好的安全性和可靠性,避免了传统强心药常可引起心律失常的缺点,是正性肌力类药物中增长最快的品种,市场前景可观。据药融云数据显示,左西孟旦注射液在全国院内市场销售峰值近7亿元,且在2022年的销售额更是超6亿元,充分证明了其强大的市场影响力。

截图来源:药融云全国医院销售数据库
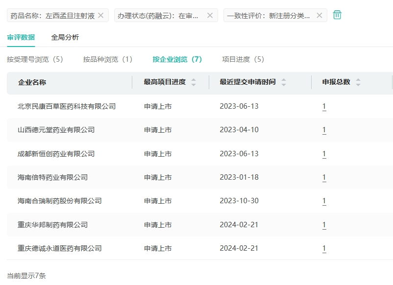
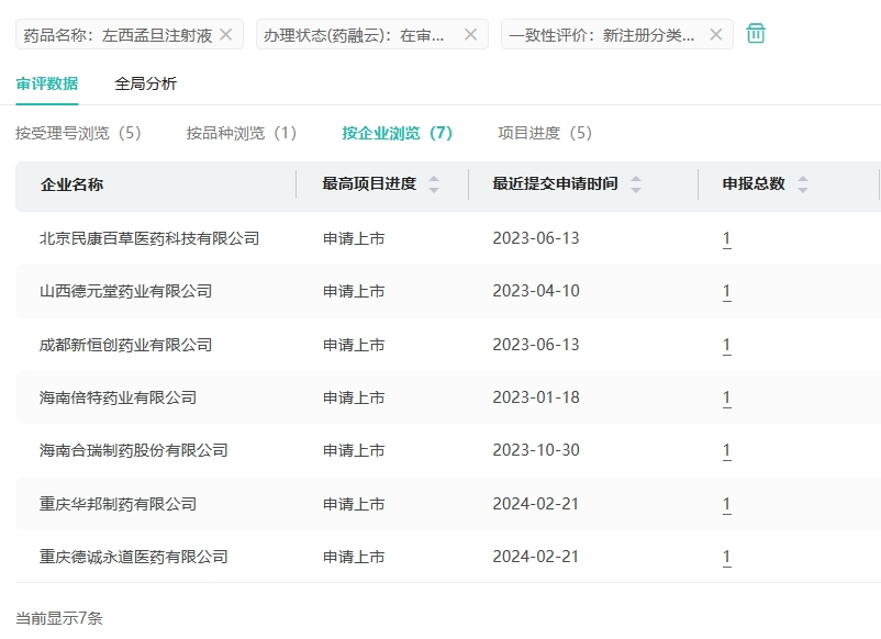
在仿制药布局方面,左西孟旦注射液有重庆华邦制药、海南倍特药业、成都新恒创药业等7家药企提交了仿制申请,均在审评审批中。

截图来源:药融云中国药品审评数据库
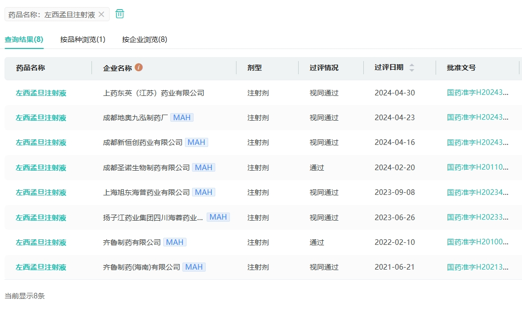
目前,左西孟旦注射液有9家企业拥有生产批文,其中,齐鲁制药、上药东英(江苏)药业、扬子江四川海蓉药业、成都新恒创药业、成都地奥九泓制药厂等8家国内药企已过评。

截图来源:药融云过评药品汇总数据库
2024年至今,上海医药(含子公司)已有恩格列净片、氨甲环酸注射液、注射用美罗培南、注射用头孢曲松钠等15个品种过评。
<END>
要解锁更多企业药品研发信息吗?查询药融云数据库(vip.pharnexcloud.com/?zmt-mhwz)掌握药品各国上市情况、药品批文信息、销售情况与各维度分析、市场竞争格局、一致性评价情况、集采中标情况、药企申报审批信息、最新动态与前景等,以及帮助企业抉择可否投入时提供数据参考!注册立享15天免费试用!








浙公网安备33011002015279
本网站未发布麻醉药品、精神药品、医疗用毒性药品、放射性药品、戒毒药品和医疗机构制剂的产品信息
收藏
登录后参与评论
暂无评论