
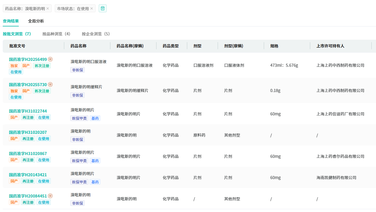
1月5日,上海医药集团旗下上海上药中西制药研发的 溴吡斯的明口服溶液 正式获得国家药监局批准上市,成为国内该剂型的首仿产品。此前,国内 溴吡斯的明 仅有片剂和缓释片两种口服剂型,此次获批标志着该药物在国内首次提供口服溶液选择,进一步丰富了临床用药选择。

截图来源:NMPA
溴吡斯的明这款被患者亲切称为“小明”的药物,是治疗重症肌无力的关键药物。在1995年,上药信谊率先在国内首仿片剂上市。它作为胆碱酯酶抑制剂,通过增强神经肌肉间的信号传递,有效改善患者的肌无力症状,是各类型重症肌无力的一线治疗药物,还能长期单药治疗眼肌型等重症肌无力患者。
近年来,溴吡斯的明片市场表现强劲,据摩熵医药数据库显示,在2024年全终端医院市场销售额突破1亿元,同比增长21.69%;2025年前三个季度销售额逼近1亿元,同比增长31.65%。









川公网安备51019002008863号
本网站未发布麻醉药品、精神药品、医疗用毒性药品、放射性药品、戒毒药品和医疗机构制剂的产品信息
收藏
登录后参与评论
暂无评论