
5月13日,据NMPA官网公示,海南普利制药递交的4类仿制化药注射用盐酸万古霉素获批上市并视同过评,成为国产第4家获批生产注射用盐酸万古霉素的药企。

截图来源:NMPA
万古霉素作为第一个问世的糖肽类抗生素,原研由礼来开发,该品种在1958年获得FDA的批准上市,目前在世界卫生组织基本药物标准清单中有收载,已经在全球广泛上市销售。万古霉素对多种革兰阳性菌有杀菌活性,是治疗MRSA感染的首选药物。
抗生素王牌!院内销售峰值近16亿元
作为抗生素王牌,万古霉素被誉为“人类最后一道防线”,近年来在中国的市场处于稳定增长中,据药融云数据库,2022年注射用盐酸万古霉素在全国院内市场销售额近16亿元,同比增长达6.05%,2023年(截止Q3)该品种在全国院内销售额近15亿元,其中原研市场占有率近80%。

截图来源:药融云全国医院销售数据库
在2023年全国院内系统用抗感染药物TOP20榜单中,注射用盐酸万古霉素凭借其卓越的治疗效果和广泛的应用领域,跻身TOP18的位置,展现了注射用盐酸万古霉素在医疗领域的显著贡献和广泛认可。
多家药企布局,海南普利制药斩获国产第4家
据药融云数据统计,浙江医药为国内注射用盐酸万古霉素首家过评企业,海正药业于2021年11月获批,成为国内该品种过评的第2家企业,丽珠集团2023年4月获批,为国产第3家,此次海南普利制药是国内第4家获批并过评的药企。

截图来源:药融云过评药品汇总数据库
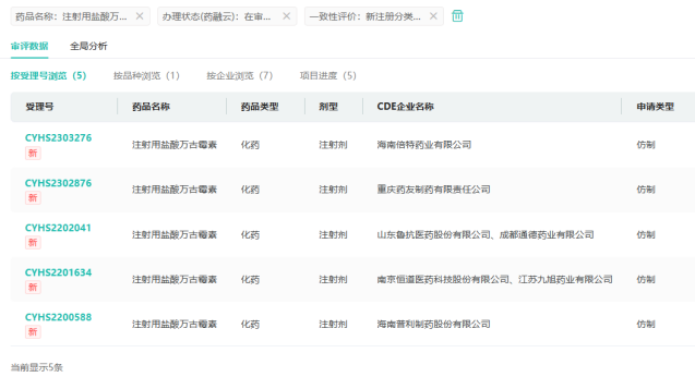
在仿制药布局方面,注射用盐酸万古霉素有重庆药友制药、海南倍特药业、江苏九旭药业、成都通德药业、山东鲁抗医药、南京恒道医药提交了仿制申请,均在审评审批中。

截图来源:药融云中国药品审评数据库
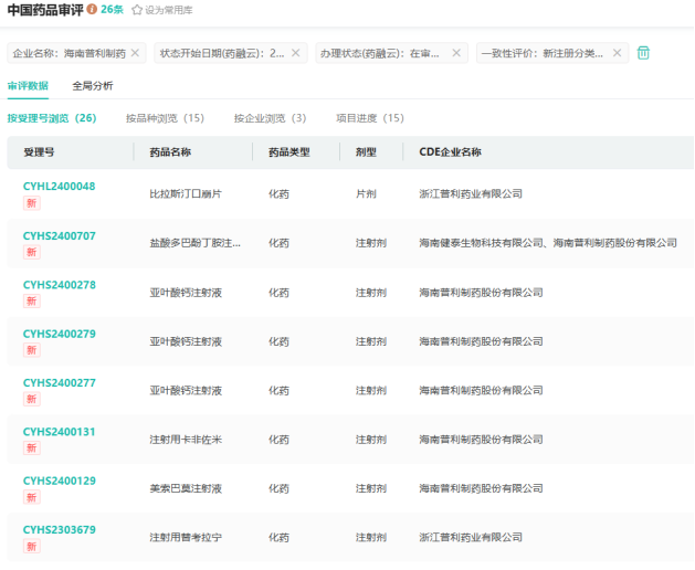
目前海南普利制药提交了钆特酸葡胺注射液、左亚叶酸钙注射液、钆特醇注射液、亚叶酸钙注射液提交了27个品种的仿制申请,2024年至今提交了15个品种的仿制申请,均在审评审批中。

截图来源:药融云中国药品审评数据库
2024年至今,海南普利制药已有磷酸奥司他韦胶囊、尼莫地平注射液、注射用盐酸万古霉素3个品种过评。
<END>
要解锁更多企业药品研发信息吗?查询药融云数据库(vip.pharnexcloud.com/?zmt-mhwz)掌握药品各国上市情况、药品批文信息、销售情况与各维度分析、市场竞争格局、一致性评价情况、集采中标情况、药企申报审批信息、最新动态与前景等,以及帮助企业抉择可否投入时提供数据参考!注册立享15天免费试用!








川公网安备51019002008863号
本网站未发布麻醉药品、精神药品、医疗用毒性药品、放射性药品、戒毒药品和医疗机构制剂的产品信息
收藏
登录后参与评论
暂无评论