
近日,普利制药全资子公司浙江普利药业收到国家药监局签发的氟康唑干混悬剂(普利康唑)的化学药品3类上市许可,视同通过仿制药一致性评价,成为国内该品种的独家过评企业。药融云数据显示,这是普利制药继阿奇霉素干混、伏立康唑干混之后的第三款瓶装干混悬剂。
今年9月,普利制药的氟康唑干混悬剂获美国食药监局(FDA)上市许可。用于治疗口咽和食管念珠菌病;念珠菌尿路感染、腹膜炎和全身性念珠菌感染等。氟康唑是一种三唑类抗真菌药物,主要作用机制是高度选择性地抑制真菌细胞色素P-450甾醇C-14α-脱甲基作用,使真菌内的C-14α-甲基甾醇堆积,从而抑制真菌的繁殖和生长。
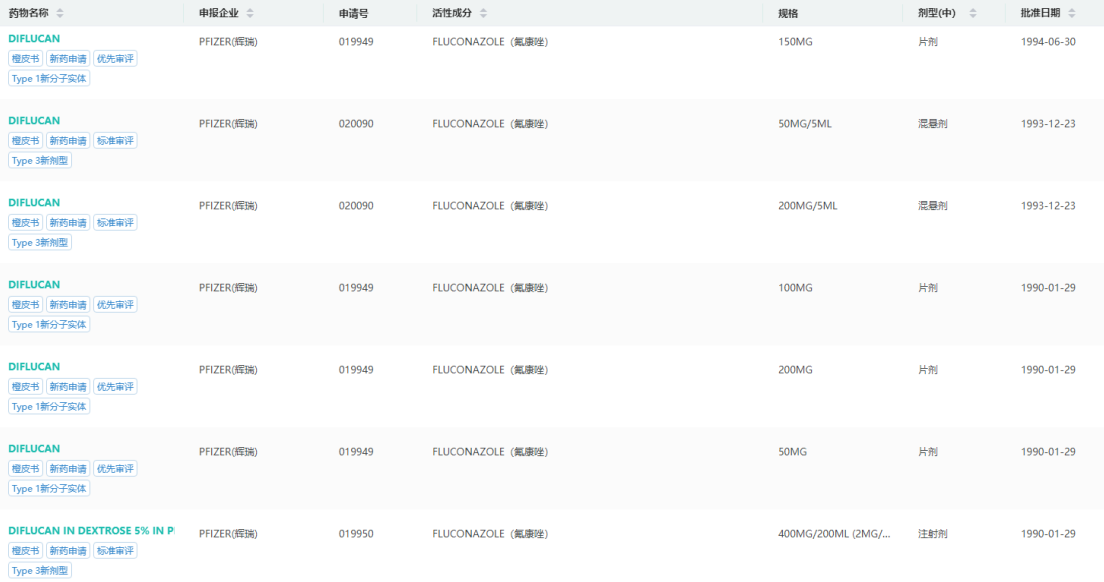
氟康唑(商品名:DIFLUCAN)原研公司为辉瑞(PfizerINC),于1981年获得化合物专利,1988年3月在法国批准上市,后于1990年1月由美国FDA正式批准该药品口服和静脉注射用于治疗隐球菌性脑膜炎和各种念球菌病。其干混悬剂于1993年在美国获得批准上市。
美国FDA批准药品-氟康唑信息查询(部分)

图片来源:药融云美国FDA批准药品数据库
氟康唑是第一个被WHO指定的治疗全身性真菌感染的首选三唑类药物,是抗真菌领域的一线药物。目前在国内上市的剂型包括胶囊、片剂、注射液、滴眼液等多种,其中,氟康唑口服常释剂型(片、胶囊)已于2020年1月纳入第二批国家集采,氟康唑氯化钠注射液也于2021年6月纳入第五批国家集采。
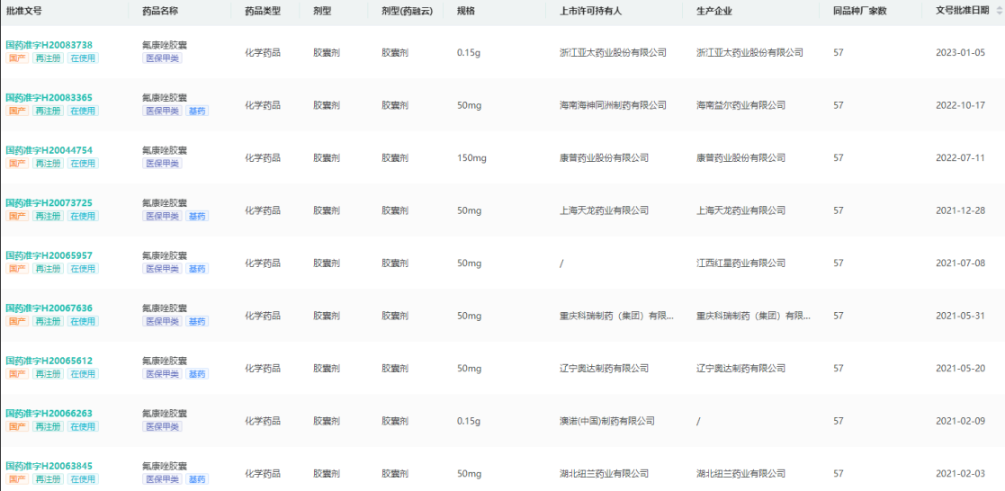
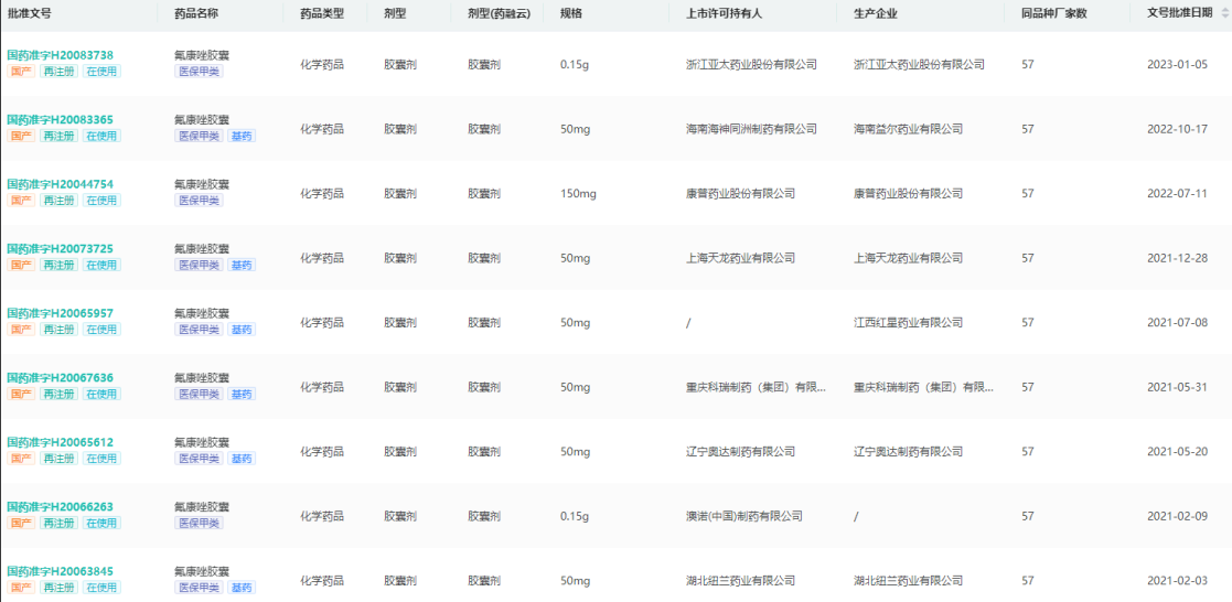
据药融云数据库统计,目前国产氟康唑片市场批文有31条,涉及20家生产企业,其中通过一致性评价的企业共5家,包括科伦药业、扬子江药业、遂成药业、石四药、上海桓华制药。国产氟康唑胶囊的市场批文有83条,涉及64家生产企业,其中通过一致性评价的企业共3家,包括成都倍特药业、辽宁奥达制药、浙江苏可安药业。
普利制药的氟康唑干混悬剂是独家获批上市,独家通过一致性评价的第一款干混剂型。
氟康唑胶囊生产批文信息查询(部分)

图片来源:药融云中国药品批文数据库
据药融云全国医院销售(全终端)数据库显示,目前,在医院终端市场上的氟康唑主要以注射液销量为主,占所有剂型的81%市场份额,口服常释剂型、滴眼液等占近20%市场份额。2022年氟康唑在医院端市场的销售额为4.62亿元,同比下降37.67%;其中原研辉瑞一家独大占据近90%的市场份额,其次是扬子江药业占3.66%,石四药占2.3%的市场份额。
普利药业的产品覆盖抗过敏类药物、非甾体抗炎药物、抗生素类药物、消化类药物、心脑血管类和造影剂类等领域。据其2023年半年报数据显示,上半年实现营业收入8.34亿元,同比增长4.83%,净利润2.70亿元,同比下降6.14%,基本每股收益为0.62元。
<END>
要解锁更多企业药品研发信息吗?查询药融云数据库(vip.pharnexcloud.com/?zmt-mhwz)掌握药品各国上市情况、药品批文信息、销售情况与各维度分析、市场竞争格局、一致性评价情况、集采中标情况、药企申报审批信息、最新动态与前景等,以及帮助企业抉择可否投入时提供数据参考!注册立享15天免费试用!








川公网安备51019002008863号
本网站未发布麻醉药品、精神药品、医疗用毒性药品、放射性药品、戒毒药品和医疗机构制剂的产品信息
收藏
登录后参与评论
暂无评论