
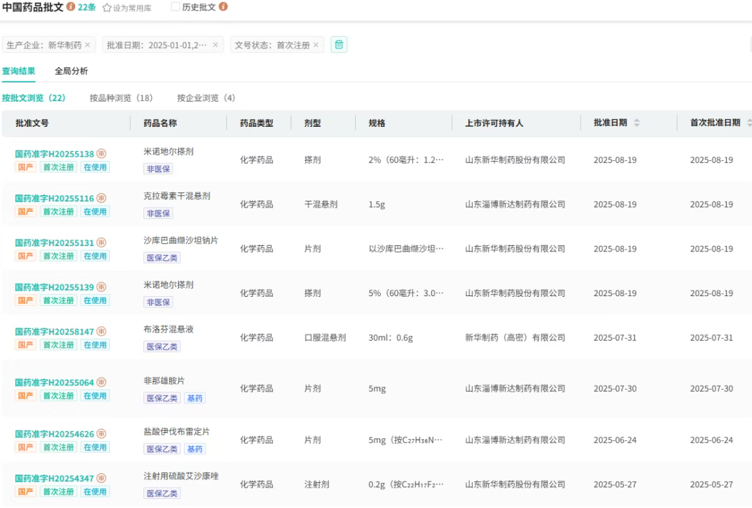
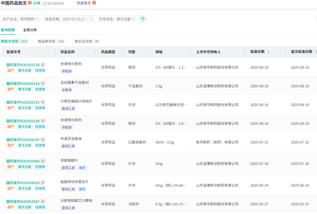
近日,国家药监局(NMPA)官网显示,新华制药子公司山东淄博新达制药有限公司申报的克拉霉素干混悬剂获批上市,视同过评。据摩熵医药数据库显示,新华制药是该产品国产第三家获批企业,并拿下首家过评!

截图来源:NMPA官网
克拉霉素(clarithromycin)是一种常用的大环内酯类抗生素,主要用于治疗对克拉霉素敏感的病原体所引起的感染,包括上呼吸道感染、下呼吸道感染、皮肤和软组织感染以及急性中耳炎等。

截图来源:摩熵医药全球药物研发数据库
该药物由日本大正制药株式会社于20世纪80年代开发,后原研技术转让至雅培制药,并于1990年12月获FDA批准上市,目前已覆盖全球50多个国家或地区。
1996年,美国雅培公司(Abbott)将克拉霉素原研药引入中国市场并获上市批准,商品名为克拉仙(Klacid)。
从市场表现来看,该药物在我国院内市场累计销售额已达135.68亿元,近两年销售额保持在10亿元左右,2024年实现了6.62%的同比增长,市场前景未来可期。












川公网安备51019002008863号
本网站未发布麻醉药品、精神药品、医疗用毒性药品、放射性药品、戒毒药品和医疗机构制剂的产品信息
收藏
登录后参与评论
暂无评论