
近期,陕西省药械集中采购平台发布的《十四省(区、兵团)药品集中带量采购文件(征求意见稿)》显示, 由陕西牵头黑龙江、广西等14个省、市及自治区自愿组成省际联盟,开展省际药品集中带量采购。根据集采要求,本次联盟集采的采购周期原则上为两年,采购周期内采购协议每年一签。

截图来源:陕西省药械集中采购平台
此次集中采购根据投标品种的相关资质分为A、B两组,分别竞争。A、B两组分别进行报价、综合评审。A组包括参比制剂、过评/视同过评仿制药,B组为其他药品;符合A组条件的品种自愿申报列入B组的,企业经济技术标得满分。在拟中选规则按独家或非独家申报区分:
① 独家申报且报价降幅达标,或外省有集采中选价者,直接中选;
② 非独家申报则按综合评审得分(经济技术标×50%+商务标×50%)高低排序,在限额内确定中选。
此外,本次集采设复活机制,未中选品种有机会复活,但复活企业采购量减半且不参与待分配量。本次集采涉及19种药品,注射剂占居主导地位,治疗药物涵盖血液和造血系统药物、神经系统药物、消化系统与代谢药物等。
拟纳入14省联盟集采药品名单

其中有肝素钠注射剂、谷胱甘肽、多糖铁复合物等多款品种在2023年全国院内市场销售额超8亿元。据了解,肝素钠作为肝素价值链中的高端产品,市场规模巨大,肝素钠注射剂在2023年全国院内市场的销售额超11亿元,跻身血液和造血系统药物TOP20之列。

截图来源:药融云全国医院销售数据库
据药融云数据库显示,在肝素钠注射剂院内市场竞争中,成都市海通药业以32.81%份额领先,常州千红生化制药以25.20%紧随其后,江苏万邦生化医药集团则以14.38%位居第三。目前该品种在国内市场有23家药业拥有生产批文。

截图来源:药融云全国医院销售数据库
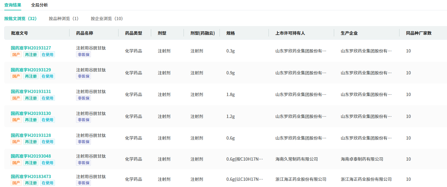
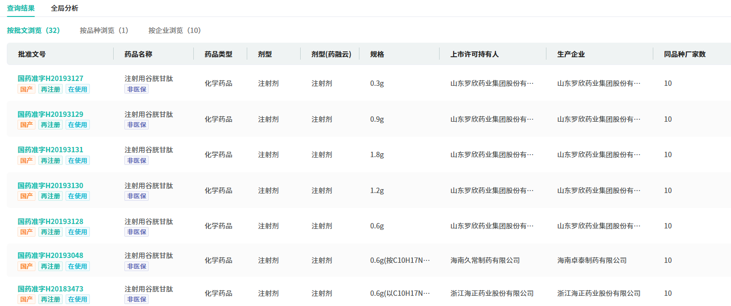
此外,注射用谷胱甘肽在2023年全国院内市场的销售额近10亿元,其中山东绿业制药以27.25%的市场份额领跑,上海复旦复华药业26.35%市场份额位居第二,山东罗欣药业以5.83%的市场份额位居第三,目前该品种有10家企业获批上市,市场竞争较为激烈。

截图来源:药融云中国药品批文数据库
总体来看,虽然本次集采涉及的药品数量不多,规则不难,但由于采购品种、联盟成员与近两年的集采项目有较多重合,且非独家申报情形下适用综合评审规则,因此对于企业而言仍存在一定的降价压力。
<END>
想要解锁更多药品信息吗?查询药融云数据库(vip.pharnexcloud.com/?zmt-mhwz)掌握药品各国上市情况、药品批文信息、销售情况与各维度分析、市场竞争格局、一致性评价情况、集采中标情况、药企申报审批信息、最新动态与前景等,以及帮助企业抉择可否投入时提供数据参考!注册立享15天免费试用!








川公网安备51019002008863号
本网站未发布麻醉药品、精神药品、医疗用毒性药品、放射性药品、戒毒药品和医疗机构制剂的产品信息
收藏
登录后参与评论
暂无评论