众所周知,上市医药企业每年都会公示其年度报告,便于为投资者提供企业的财务数据、经营业绩、发展战略等信息,帮助其评估投资风险和收益,做出合理的投资决策,但这些报告也常被用于医药行业研究洞察,使行业研究者和企业能够深入了解医药行业的现状和趋势,把握市场机会,制定相应的发展策略。
这也是为什么说学会查询某个医药公司年报是一个医药人的基本功,毕竟了解目标药企在市场中的地位、优势与劣势,以及竞争对手的研发投入、产品销售情况等情况,这是一个绝佳的途径,那么该如何查询这些医药公司的年报信息呢?笔者这里总结2个行业常用的查询方法,涵盖了全球国内外多个主流国家自1990至今的全部年度报告,可通过名称、代码、年份、季度、国家货币进行筛选。
1、国家企业信用信息公示系统(通用,但不能查询国外医药公司年报)

①、打开网站,把要查的公司名字或者企业编号输进去,然后点查询,结果就出来了,你再挑出你想要的那个公司就行。
②、在打开公司页面后,会呈现一系列公司相关信息,包括注册资金、住所、经营范围、高管团队以及投资方等。继续向下拖动页面,还会出现企业年报信息,其中涵盖每年的年报内容。
注意:在证券市场交易的企业,必须得公布财务、人事、投资、盈利这些年度报告信息。但那些没在证券市场交易的企业,可就没这个义务了。所以,要是你查的公司很小,又不规范,那可能就没年报。不过,要是你查的公司有想法往大了发展,那它可能就会主动公布年报。
2、摩熵医药-上市医药企业年报数据库(行业常用, 含港股、美股企业年报数据)
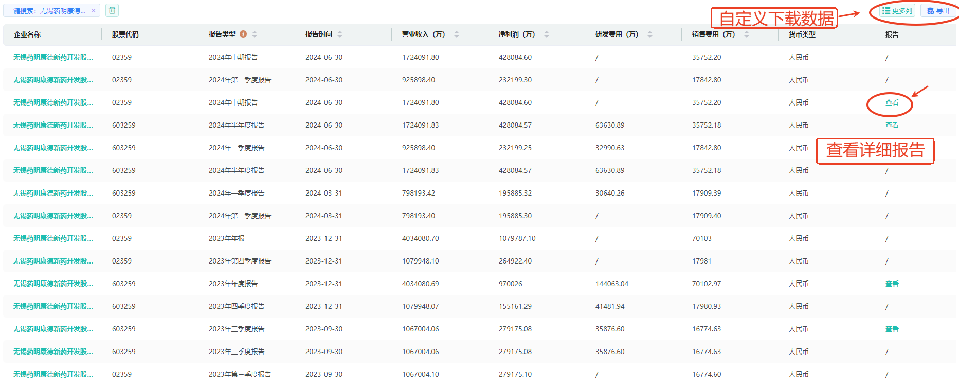
该库收载医药行业相关公司年报10万+个(含),涵盖了港股、美股企业年报数据,可通过企业名称或股票代码进行检索查询,并可筛选某个时间段的年报、中报、季报,包括企业营业收入、净利润、研发投入及销售费用等信息,同时可扩展200多个子数据库调研目标医药企业的研发管线、市场竞争等信息,对于了解医药竞争对手或投资对象来说非常nice。

①、进入摩熵医药数据库后,选择行业参考-->找到‘上市医药企业年报’,如下图,直接通过企业名称、股票代码、报告时间(年份、季度)、货币类型进行查询筛选。
②、筛选查询后,在列表页即可看到目标药企不同时间段的营收、净利润、研发费用、销售费用等信息,在报告列点击‘查看’即可下载目标药企的报告文档。

还有更为简单的一种方法就是通过数据库首页直接搜索目标公司,如搜索‘无锡药明康德新药开发股份有限公司’,可以看到该公司的关于药物研发、适应症格局、靶点格局、品种格局、企业格局的竞争情报信息,还有临床试验、上市批文、药品销售、招投标、投融资、医药交易、一致性评价等管线信息,我们只需要在‘行业参考’中点击‘上市医药企业年报’即可批量下载&查看详细报告内容。

当然还有像天眼查、企查查、企业官网及部分金融行业网站也有企业年报查询功能,这些也都可以用的,虽然没有那么专业垂直,但对于普通查找来说也是足够用了。







川公网安备51019002008863号
本网站未发布麻醉药品、精神药品、医疗用毒性药品、放射性药品、戒毒药品和医疗机构制剂的产品信息
收藏
登录后参与评论
暂无评论