今年7月中旬,国家联采办在公布了第七批国家药品集采的中选结果时,也明确了将于2022年11月开始实施。11月初,第七批国采进入密集落地期,多省市已确定具体日期开始执行中选结果,包括河南、青海、天津、浙江、山东、辽宁、山西、甘肃、河北、贵州、上海等21个省/市。
参加第七批国采的医疗机构也将面向患者销售中选药品。据药融云药品集中采购数据库显示,国家第七批集中带量采购药品有60种,平均降价48%,涉及31个治疗类别,排名前三的是系统用抗感染药占26.15%,神经系统用药占15.38%,抗肿瘤药和免疫机能调节药占13.85%;包括高血压、糖尿病、抗感染、消化道疾病等常见病、慢性病用药,也包括肺癌、肝癌、肾癌、肠癌等重大疾病用药。(通过药融云药品集中采购数据库,可以系统查询各省市不同批次所有国采中选药品、中选企业、中选价格等供应详情)
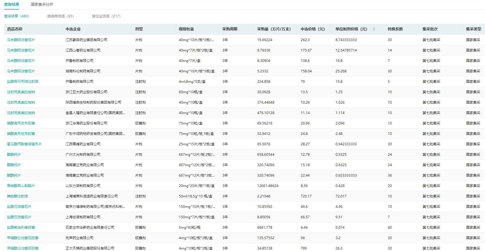
第七批国采中选结果清单(部分)




图片来源:药融云药品集中采购数据库
其中,有15个药品降幅超90%,最高降幅达98.22%。品种降幅排名前三的分别是富马酸丙酚替诺福韦片、甲磺酸仑伐替尼胶囊、盐酸替罗非班氯化钠注射液。
1.富马酸丙酚替诺福韦片
齐鲁制药的富马酸丙酚替诺福韦片(25mg)降幅98.22%拔得头筹,单位制剂价格为0.32元,供应地区有山西、江苏、广东、四川,首年约定采购量最多的省份是广东。
除此之外,富马酸丙酚替诺福韦片的中选企业还有江西青峰药业、上海迪赛诺生物医药、华北制药、华润三九、吉林四环制药、安徽安科恒益药业、成都苑东生物制药、石家庄龙泽制药、苏州特瑞药业,供应地区共有河北、福建、宁夏、内蒙古、浙江、安徽、辽宁、河南等31个省市。国采相应中选价格开始执行,将给更多患者带来福音。
富马酸丙酚替诺福韦片(TAF)是近10年来全球批准的唯一一个治疗乙肝的新药,被誉为“史上最强乙肝药物”。其原研是美国吉利德(Gilead),于2016年11月被FDA批准上市,商品名为Vemlidy®,2018年11月在中国批准上市,商品名为韦立得,用于治疗成人和青少年(12岁以上且体重至少为35kg)的慢性乙型肝炎,也被称为替诺福韦二代。
富马酸丙酚替诺福韦片上市时间轴

图片来源:药融云全球药物研发数据库
药融云全球药物研发数据库显示,2020年韦立得全球销量达到6.57亿美元,较2019年增加34.63%,其中国际市场(包括中国)销量增长72.2%,达到2.72亿美元;2021年全球销量达到8.14亿美元,同比增长23.9%。
值得一提的是,第七批国家药品集采齐鲁制药中选9个品种位居榜首,分别有二甲双胍维格列汀片(Ⅱ)、伊班膦酸钠注射液、依达拉奉注射液、富马酸丙酚替诺福韦片、来氟米特片、注射用唑来膦酸浓溶液、甲磺酸仑伐替尼胶囊、盐酸昂丹司琼注射液、马来酸阿法替尼片。
齐鲁制药第七批国采中选品种

图片来源:药融云药品集中采购数据库
2.甲磺酸仑伐替尼胶囊
在第七批国家药品集采的中选品种中,降幅排名第二的品种是甲磺酸仑伐替尼胶囊。甲磺酸仑伐替尼胶囊是一款多靶点受体酪氨酸激酶抑制剂,原研为日本卫材(Eisai)公司,2015年2月获FDA批准用于甲状腺癌、肾细胞癌的治疗;2018年9月在中国获批上市(商品名:乐卫玛),用于治疗肝细胞癌患者,是中国第二个上市的肝癌一线靶向治疗药物。第一个是索拉非尼。
第七批国采甲磺酸仑伐替尼胶囊的中选企业有7家,包括正大天晴、先声药业、成都倍特药业、江苏奥赛康药业、江西山香药业、石药集团欧意药业、齐鲁制药。其中,先声药业的甲磺酸仑伐替尼胶囊(4mg)价格降幅最高达97.04%,单位制剂价格为3.2元,供应地区有山西、上海、安徽、江西、广东、青海。
据药融云全国医院销售数据库显示,2021年医院端甲磺酸仑伐替尼胶囊的销售规模超8亿元,同比增长734.54%,预计2022年将突破10亿大关。其中原研企业日本卫材占据了93.29%的市场份额,正大天晴仅占3%。
甲磺酸仑伐替尼胶囊医院端销售趋势

图片来源:药融云全国医院销售数据库
3.盐酸替罗非班氯化钠注射液
第七批国采的盐酸替罗非班氯化钠注射液,中选企业有6家,最高降幅为四川科伦药业,中选价格11.5元,降幅达95.95%。盐酸替罗非班氯化钠注射液,原研企业为默克公司,于1998年被FDA批准上市,2004年在中国批准上市,并进入2019年国家医保乙类用药,用于末次胸痛发作12小时之内且伴有心电图改变和/或心肌酶升高的非ST段抬高型急性冠脉综合征成年患者,预防早期心肌梗死。
据药融云一致性评价数据库显示,目前国产盐酸替罗非班氯化钠注射液市场批文21条,通过/视同通过一致性评价的15个,涉及生产企业16家,包括成都倍特药业、鲁南贝特制药、四川美大康佳乐药业、石药集团、扬子江药业、远大制药等。
药融云全国医院销售数据库显示,2021年医院端盐酸替罗非班氯化钠注射液的销售额为2.84亿元,同比增长50.14%。超九成主要医院市场被远大制药所占据,随着国产仿制药的竞争加剧,有望打破壁垒,抢夺更大的市场份额。
更多国家集中采购药品报量、中标以及供应的信息(药品名称、最小单位价格、规格、剂型、报量、各省供应量等多个维度信息),请登录药融云数据库(vip.pharnexcloud.com/?zmt-mhwz)进行全面查询。
<END>








浙公网安备33011002015279
本网站未发布麻醉药品、精神药品、医疗用毒性药品、放射性药品、戒毒药品和医疗机构制剂的产品信息
收藏
登录后参与评论
暂无评论