
十一月里芦花白,十二月里腊梅芳。十二月份一到,很多医药企业和代理商朋友就在期盼着新版国家医保目录的最终公布,虽然有些结果已经通过多方打探到了,但是有些事还是必须要看到官宣结果。前段时间的广州药交会,很多产品已经开始以国谈身份来宣传产品了,有的设计特别显著和夸张,也确实有部分产品会场上异常火热,门庭若市。
12号下午得到消息,国家医保局定于12月13日(周三)上午10:00,在西城区月坛北小街2号召开新闻发布会,邀请国家医保局有关司(中心)负责人、国家医保药品目录调整药物经济学专家等介绍2023国家医保药品目录调整有关情况。笔者不到十点就准时打开直播链接,静候官宣。新版目录共1698种西药、1390种中成药,协议期内谈判药品431个(含西药364个、中成药 67个),合计3088种,打破了三千大关。此次共143种药品参与谈判,121种成功,成功率84.6%,平均降幅61.7%,预计未来2年叠加起来将为患者减负400亿。发布会上明确新版目录执行时间还是原定的2024年1月1日。发布会结束之后,国家医保局网站上就挂出了新版目录,紧接着微信朋友圈就被新版医保目录刷屏,被各厂家、各产品的喜报刷屏。往年这一天朋友圈都是灰白色,这次红色混了进来。
离2023版国家医保目录执行剩余不到20天的时间,留给各省落地的缓冲时间短暂,真的是时间紧、任务重。由于国家医保目录是按通用名的,除了国谈药品本身,同通用名或者说国谈仿制药能否一起同步落地,这关系到未来两到三个月的黄金时间能否抓住。价格已经很清晰,仿制药的价格不得高于谈判确定的支付标准。在这一波国谈仿制药中,最为关注的或许就是2023年下半年获批的产品,某种意义上的搭顺风车产品。
2023年下半年受到价格治理的影响,各省挂网普遍进度延缓,如果赶上国谈落地的顺风车,根据去年落地的情况初步统计,大概有17个省可以和国谈药一起落地,主要包括河北、天津、上海、云南、浙江、海南、江苏、青海、内蒙古、广东、河南、湖北、安徽、重庆、山东、甘肃和山西。
换句话说,如果你的产品是国谈仿制药,企业之前已经完成开户,赶在此次国家医保目录落地时已经获批,且基本申报资质齐全,就可以赶上国谈申报。这其中包括一个重点环节就是首先要去申报国家医保分类代码,现在编码公布的频率已经很高了,申报完大概十天左右就公布了,但是国家往各省推送数据依然需要时间,以往至少需要半个月、一个月,不知道现在是否允许加速,如果没有的话,如果很卡点还是有赶不上的风险的。当然,有些省你还要具备一些其他的细化条件。比如天津,你需要提前维护要产品基本信息并且审核通过了,才能赶上通知参加统一的医保对接。山西如果你赶不上,那么你挂网周期则需要延长3个月左右时间。上述省份整体来说问题不大,企业只需要关注通知,及时按要求申报,关注审核,关注公布、执行即可。
另外还有十三个省,国谈仿制药基本上是需要单独申报的,这些省份近期的通知同样需要动态关注。贵州、陕西、北京、江西和吉林,预计在2024年的二三月份可以落地,时间不是太大。湖南则需要赶每个季度首月的窗口期,三个外省价格已经不再是问题。四川需要等四五月份的窗口期,届时5省价格也不再是问题。西藏一直是同步四川,比四川晚半个月到一个月,四川出来了西藏就不远了。福建则是参与每次的季度项目申报,最迟一个季度结果也就公布了。新疆自治区和兵团则是参与3月或6月份的阳关挂网申报,一般次月也就公布结果了。宁夏、辽宁也是季度申报的频率,区别是前者周期固定,后者以实际通知为准。
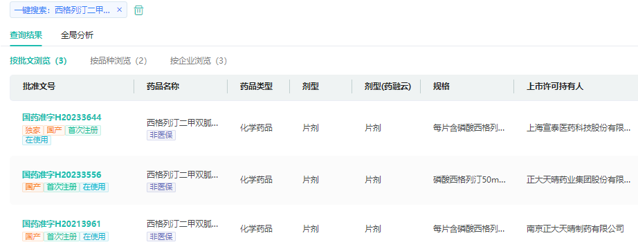
2022版目录一共包括17种竞价药品,今年增至33种,新增了16种,包括西格列汀二甲双胍缓释片、氢溴酸替格列汀片、骨化三醇口服溶液、尼替西农胶囊、复方电解质醋酸钠葡萄糖注射液、山梨醇甘露醇冲洗剂、注射用头孢曲松钠/氯化钠注射液、注射用头孢他啶阿维巴坦钠、磷酸特地唑胺片、曲氟尿苷替匹嘧啶片、氨己烯酸口服溶液用散、丁苯那嗪片、盐酸右美托咪定氯化钠注射液、草酸艾司西酞普兰口服溶液、氮䓬斯汀氟替卡松鼻喷雾剂、吸入用盐酸氨溴索溶液。
西格列汀二甲双胍缓释片批文查询

骨化三醇口服溶液批文查询

截图来源:药融云中国药品批文数据库
竞价产品的挂网价格要求和谈判药品不同,参与报价的企业的挂网价格不高于竞价时的报价即可,是允许高于支付标准的,去年是这么规定的,今年也是这个规定,这个区别往往被一些人忽略和误读,有疑问的可以自己去学习官方原文。
据笔者所知,今年新增的竞价产品中,有部分产品的参照药品在2023年下半年价格降幅显著,但是由于当年的价格采集只采集到6月底,在此之后的降价并不会有影响。这进一步说明了时间的重要性,你见或者不见,规则就在那里。今年有57个产品是获批当年就纳入了国家医保,一方面是得益于政策的优化,另外一方面就是厂家自己的良苦用心。因为降价是大的趋势,今年进或许价格还能不错,到了明年可能就要大打折扣,想进医保还是趁早,除非你有大手笔去深耕临床研究,还愿意为产品大厦的地基建设添砖加瓦。
政策上是允许竞价药品的挂网价格高于、等于或者低于支付标准,价格高一些企业利润和产品空间无疑整体上会更好一些,只是有少部分省可能面临放弃(例如福建、山西、河南)。但是从竞争的角度考虑,低价更有优势,体现在优先纳入双通道以及被鼓励进院。自古就是鱼和熊掌不得兼得,企业最终要如何取舍,还是需要多动一些心思的。毕竟新版医保落地后的黄金时间就是那两到三个月,错过了就追不回来。
相信从新版目录发布日期(2023年12月13日,巧了也是国家公祭日)到执行(2024年元旦)这段时间,这类话题的热度不断,各大公众号都会有各种分析,甚至有的还要花钱才能看到、听到,代理商像小蜜蜂一样忙着最终的定夺,毕竟现在各方面都好、综合得分较高的产品也不是很多。
最后,恭喜产品顺利进入医保目录的企业,没有进入的企业再接再厉,明年再打翻身仗。毕竟,笑到最后的才是笑得最好的!
<END>
要解锁更多企业药品研发信息吗?查询药融云数据库(vip.pharnexcloud.com/?zmt-mhwz)掌握药品各国上市情况、药品批文信息、销售情况与各维度分析、市场竞争格局、一致性评价情况、集采中标情况、药企申报审批信息、最新动态与前景等,以及帮助企业抉择可否投入时提供数据参考!注册立享15天免费试用!








川公网安备51019002008863号
本网站未发布麻醉药品、精神药品、医疗用毒性药品、放射性药品、戒毒药品和医疗机构制剂的产品信息
收藏
登录后参与评论
暂无评论