
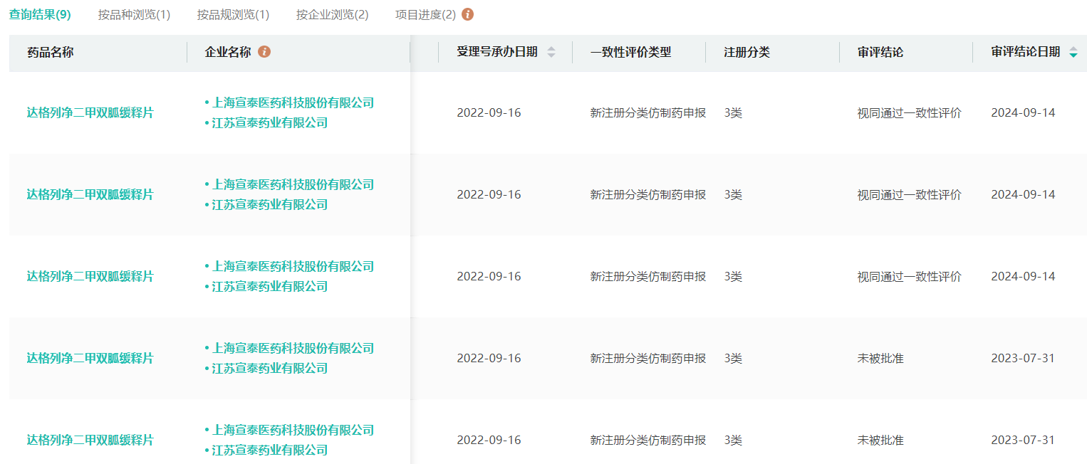
9月14日,上海宣泰医药的达格列净二甲双胍缓释片三个规格首仿过评,成为该明星复方降糖药物的国内首仿。
但值得注意的是,该产品原研有5个规格,上海宣泰医药仅过评三个,两个规格被驳回。具体理由未可知。
*此规格指的是达格列净和二甲双胍的配比

根据药融云数据库显示,达格列净2023年医院全终端销售额已达40亿元,而二甲双胍一直是糖尿病治疗药物“一哥”。
达格列净+二甲双胍的组合物专利尚有3年到期,仿制大战就已开启,上海宣泰是以化药3类申报过评的,阿斯利康的原研产品在2022年2月开始申请在国内上市,23年6月获批,而上海宣泰等不及原研在国内上市就进行了仿制申报。
与上海宣泰情况一致的是正大天晴,于2023年2月进行了3类申报,相较于其他企业等着原研在国内上市后才进行的4类申报,这两家企业都做到了快人一步。
正大天晴一边仿制上市一边对原研的专利进行了无效申请,2024年6月对达格列净+二甲双胍的组合物专利发起了专利无效申请,虽然失败了,但正大天晴的思路还是很正确的,先过评再攻破专利,争取能早日销售。
目前该品种尚有有9家企业在申请上市。

图 | 达格列净二甲双胍缓释片上市申请
医学上对于肥胖伴随其他基础性疾病的糖友有一个221方案,里面的两个2就是分别指二甲双胍和SGLT-2抑制剂,达格列净就属于SGLT-2抑制剂,与二甲双胍联合使用可针对性控制血糖,221方案里的1代表GLP-1目前基本都是注射液,暂未有复方制剂上市暂且不论,二甲双胍加SGLT-2抑制剂的复方性药物已上市诸多,降血糖的同时可以给心肾带来保护。

图源:丁香园
SGLT-2抑制剂还有恩格列净、卡格列净、恒格列净等,这些都可以跟二甲双胍形成复方制剂。
二甲双胍恩格列净片原研共5个规格,目前已有3个规格有过评产品,2个规格依旧为勃林格殷格翰独有,勃林格殷格翰的二甲双胍恩格列净片(I)注册证到期未续,可以看出这类复方制剂并不是掌握了其中一种配比就能完成所有规格的申报。

图 | 二甲双胍恩格列净片上市文号
有意思的是二甲双胍恩格列净片只有中美华东的规格在销售,连勃林格殷格翰都未有销售数据。
二甲双胍+恩格列净的组合专利已宣告无效,目前尚有36家企业,46个受理号在申请一致性评价,加上原研和已上市企业6家,二甲双胍恩格列净片竞争格局是42家企业,与达格列净二甲双胍相比,真正的卷王是它。

图 | 二甲双胍恩格列净片上市申请
恩格列净二甲双胍缓释片国内未有上市,原研同样是勃林格殷格翰,正因为专利已宣告无效,常释剂型已有36家企业上报,缓释片也有多家申请上市了,但不只是缓释片技术较常释片难处许多,申请上市7家,目前已有4家被驳回了。

恒格列净二甲双胍缓释片山东盛迪以2.3类改良新药上市,国内独家,且没有其他企业有临床或上市信息,可以独占市场较久。

卡格列净二甲双胍片,曾经华东医药和哈尔滨珍宝制药做过申报,但也仅限于获批临床,未有下文了。

卡格列净二甲双胍缓释片原研强生,美国已上市,且被列入参比,乐普药业提交过上市申请,被驳回了,华海药业正在临床中,乐普药业当时被驳回有可能是仅做BE试验通不过,但依据达格列净二甲双胍缓释片能仅做BE试验顺利过评的情况看,不一定是这个原因。

慢病用药一直是兵家必争之地,从阿卡波糖到二甲双胍,再到达格列净片,都创造过销售神话,产品从单方制剂卷到了复方制剂,这常卷王之战不知会延续到几时。
注:以上数据仅代表常见的SGLT-2抑制剂与二甲双胍的复方制剂不代表全部。
<END>
想要解锁更多药物研发信息吗?查询药融云数据库(vip.pharnexcloud.com/?zmt-mhwz)掌握药物基本信息、市场竞争格局、销售情况与各维度分析、药企研发进展、临床试验情况、申报审批情况、各国上市情况、最新市场动态、市场规模与前景等,以及帮助企业抉择可否投入时提供数据参考!注册立享15天免费试用!








川公网安备51019002008863号
本网站未发布麻醉药品、精神药品、医疗用毒性药品、放射性药品、戒毒药品和医疗机构制剂的产品信息
收藏
登录后参与评论
暂无评论