
12月15日,CDE官网显示,齐鲁制药提交的2.3类新药阿瑞匹坦帕洛诺司琼乳状注射液上市申请获受理。目前,国内仅齐鲁制药一家提交了新品申报,实现国内独家“抢跑”,这更是其于该领域筑牢“全剂型、全靶点”防御壁垒的关键之举。

截图来源:CDE官网
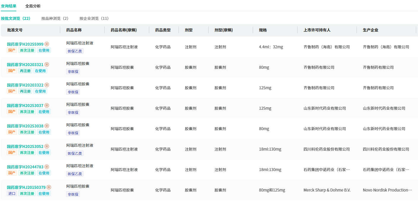
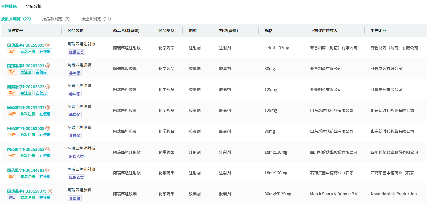
据摩熵医药数据库显示,阿瑞匹坦原研来自默沙东,作为高选择性神经激肽1(NK-1)受体拮抗剂,通过阻断P物质与NK-1受体结合发挥作用。国内除原研药外,又超10家药企的阿瑞匹坦仿制药已获批上市。

截图来源:摩熵医药中国药品批文数据库
帕洛诺司琼是瑞士赫尔森集团研发的5-HT3受体拮抗剂,用于预防和治疗化疗或术后恶心呕吐。国内除原研药外,有30家药企的帕洛诺司琼仿制药获批。齐鲁制药早在2008年就拿下了盐酸帕洛诺司琼注射液;2022年及2025年又相继攻下阿瑞匹坦的注射与胶囊双剂型。2025年7月刚获批奈妥匹坦帕洛诺司琼胶囊。

截图来源:摩熵医药中国药品批文数据库
阿瑞匹坦帕洛诺司琼乳状注射液是复方制剂(研发代号QLM2010),结合了两种不同且互补的作用机制。其中,帕洛诺司琼作为第二代长效高选择性5-HT₃受体拮抗剂,对化疗急性期(化疗后24小时内)恶心呕吐效果显著且持久。

截图来源:摩熵医药中国临床试验数据库
摩熵医药数据显示,今年11月,齐鲁制药在国内完成了一项多中心、随机、双盲、阳性药物平行对照的Ⅲ期临床研究(CTR20242556),旨在评估 QLM2010 预防高致吐风险化疗方案引发恶心、呕吐的有效性与安全性。
结语
齐鲁制药实现从单方到复方、口服到注射的全维度布局。这种内部竞争模式,实为对外来竞争者的降维碾压。若阿瑞匹坦帕洛诺司琼乳状注射液顺利获批,其领先优势将进一步巩固,地位短期内难以动摇。
参考来源:
[1] CDE官网
[2] 摩熵医药(原药融云)数据库
扩展阅读:
1. 齐鲁制药冲刺阿贝西利片国内首仿!CDK4/6抑制剂“三足鼎立”局面或改变
2. 齐鲁制药夺得阿帕他胺片国内首仿,两大片剂同日获批上市!前列腺药物市场竞争升级
3. 最新批件!瑞阳制药、齐鲁制药、石家庄四药...54个品种过评
查数据,找摩熵!想要解锁更多药物研发信息吗?查询摩熵医药(原药融云)数据库(vip.pharnexcloud.com/?zmt-mhwz)掌握药物基本信息、市场竞争格局、销售情况与各维度分析、药企研发进展、临床试验情况、申报审批情况、各国上市情况、最新市场动态、市场规模与前景等,以及帮助企业抉择可否投入时提供数据参考!注册立享15天免费试用!








川公网安备51019002008863号
本网站未发布麻醉药品、精神药品、医疗用毒性药品、放射性药品、戒毒药品和医疗机构制剂的产品信息
收藏
登录后参与评论
暂无评论