
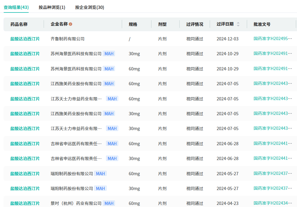
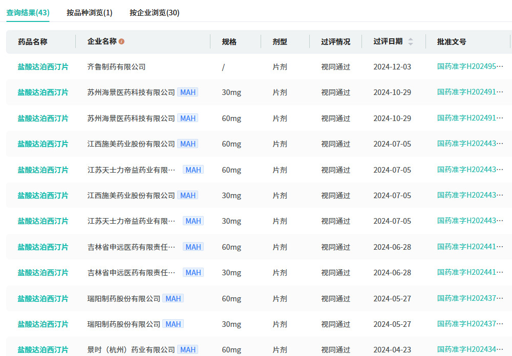
12月3日,据NMPA官网公示,齐鲁制药(含子公司)提交的盐酸达泊西汀片和阿帕他胺片两款4类仿制药获批生产并视同过评,其中阿帕他胺片除原研,国内暂无药企获批。此次,齐鲁制药顺利获批,成为国内该品种的首仿药企。

截图来源:NMPA官网
超23亿美元重磅前列腺药物,三大明星药企激战正酣
阿帕他胺(apalutamide)是由美国加利福尼亚大学研制,并于2009年授权美国Aragon公司独家开发。2013年,Aragon被强生收购,强生旗下子公司杨森负责该药的研发、上市及生产销售。该产品主要用于治疗非转移性去势抵抗性前列腺癌,是全球首个获批上市用于治疗非转移性去势抵抗性前列腺癌的药物。据摩熵医药数据库显示,2023年,阿帕他胺片在全球销售额超23亿美元,同比增长26.9%,是“重磅前列腺药物”。
阿帕他胺纳入医保体系后,迅速迈入销售高速增长期,其在国内市场销售额呈现出强劲的增长态势。据摩熵医药数据库显示,2023年阿帕他胺片在全国院内市场的销售额超4亿元,同比增长达91.8%。










川公网安备51019002008863号
本网站未发布麻醉药品、精神药品、医疗用毒性药品、放射性药品、戒毒药品和医疗机构制剂的产品信息
收藏
登录后参与评论
暂无评论