据CDE官网,浙江万晟药业递交的3类仿制药米诺地尔泡沫剂上市申请获受理。目前国内尚无同类产品获批上市。

截图来源:CDE官网
「副业转正」的雄秃药物,多款新剂型在路上
目前,全球范围内仅有非那雄胺、米诺地尔两款药物获批治疗雄激素性脱发。其中,口服药物首选非那雄胺(仅适合男性),外用药物首选米诺地尔。
米诺地尔原是用于降血压的血管舒张剂,对严重的顽固性高血压效果好,后发现长期服药的患者出现了不同程度的多毛症状……于是,制药公司开始研究它在治疗脱发方面的功效,1988年美国FDA批准米诺地尔溶液用于治疗雄激素脱发,它主要通过增加毛囊血供、刺激毛囊细胞增生、局部抗雄激素作用等多维度作用机制发挥作用。
在我国,米诺地尔外用制剂也已经被批准作为非处方药使用,销售额连年增长。据药融云数据统计,2020年米诺地尔在全国医院及药店总销售额已突破2亿元,2021H1院内销售额还同比增加了186%,增长趋势明显。
目前国内米诺地尔获批的剂型有擦剂、喷雾剂、酊和凝胶,其中仅米诺地尔酊有企业进行一致性评价布局:江苏康缘药业于2021年3月递交了3类仿制药的上市申请,尚在审评审批中。此外,还有米诺地尔外用溶液和泡沫剂有企业以新分类注册申报,涉及山东京卫制药、海南振东生物和此次的浙江万晟药业。
米诺地尔制剂当前报产情况

截图来源:药融云药品审评数据库
「头顶大事」,多款国产JAK抑制剂在研
据国家卫健委2019年发布的脱发人群调查,中国有超2.5亿人正饱受脱发的困扰,平均每6人中就有1人脱发,大批90后也被脱发所困扰。根据脱发原因,脱发大致可以分为雄激素性脱发、斑秃和抗癌药物治疗引起的脱发等。
其中,雄激素性脱发(AGA)发病率最高,其治疗方法主要有药物治疗、毛发移植术、中胚层疗法和低能量激光治疗等。药物治疗方面,目前全球范围内仅有非那雄胺、米诺地尔两款药物获批。此外全球范围内还有多款处于临床阶段的药物,包括开拓药业的福瑞他恩、Cassiopea公司开发的clascoterone等,其中福瑞他恩已于2021年11月获得NMPA批准开展III期临床试验,并已于当年12月31日完成首例患者入组及给药,是全球首个进入注册性III期临床试验用于雄激素性脱发治疗的雄激素受体(AR)拮抗剂。
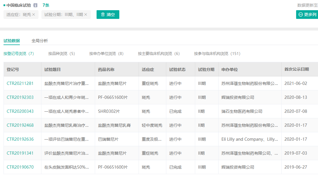
斑秃(AA)是全球发病率第二高的脱发类型,当前并没有治疗斑秃的通用疗法,FDA 也没有批准治疗 AA 的药物。目前,JAK抑制剂为治疗AA的热门候选药物之一。经查询,国内被开发用于治疗AA的JAK抑制剂中,进度靠前的主要有礼来的 JAK1/2 抑制剂巴瑞替尼、辉瑞的 JAK3 抑制剂 PF-06651600、泽璟生物的杰克替尼和瑞石生物的 SHR0302。

截图来源:药融云中国临床试验数据库
<END>







川公网安备51019002008863号
本网站未发布麻醉药品、精神药品、医疗用毒性药品、放射性药品、戒毒药品和医疗机构制剂的产品信息
收藏
登录后参与评论
暂无评论