
7月10日,国家药监局(NMPA)官网显示,四川国为制药有限公司以仿制4类申报的艾拉莫德片获批上市,视同通过一致性评价,为该品种第四家过评企业。

截图来源:NMPA官网
艾拉莫德是一种新型的改善病情抗风湿病药物,具有抗炎、抑制免疫球蛋白生成、抑制炎性因子产生、抗骨吸入和促骨形成等作用。临床上主要用于治疗类风湿关节炎,可缓解肿胀关节疼痛。

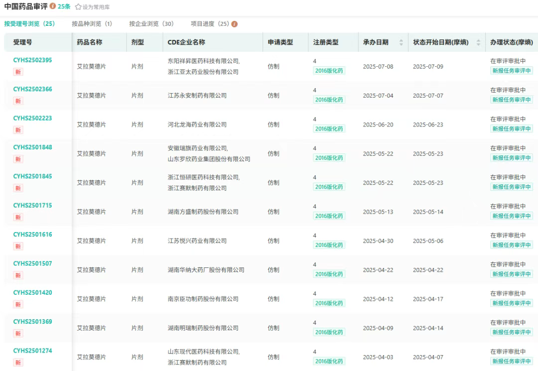
截图来源:摩熵医药全球药物研发数据库
据摩熵医药数据库显示,艾拉莫德片由先声药业于2011年获批,不仅是我国近20年来第一个具有完全自主知识产权的抗风湿1.1类新药,也是全球首个获批上市的艾拉莫德类药物。
自2017年,艾拉莫德片被正式纳入国家医保药品目录后,近年在全国院内(全终端)市场规模快速扩容,2022年突破10亿元大关,2023年再创新高,销售额超过12亿元,同比增长26.20%,24年上半年再增26.75%,市场需求增长迅速。












川公网安备51019002008863号
本网站未发布麻醉药品、精神药品、医疗用毒性药品、放射性药品、戒毒药品和医疗机构制剂的产品信息
收藏
登录后参与评论
暂无评论