
10月24日,据CDE官网显示,北京福元医药提交的4类仿制药艾拉莫德片上市申请获受理。据摩熵医药(原药融云)数据库显示,艾拉莫德片在2023年全国院内市场的销售额超9亿元。

截图来源:CDE
艾拉莫德化合物最初来自日本富山化学,后富山化学联合卫材明确艾拉莫德研发方向——治疗类风湿性关节炎(RA)。作为一种慢性抗风湿药物,艾拉莫德兼具抗炎与免疫调节的双重作用,临床上主要用于活动性类风湿关节炎的治疗。据摩熵医药(原药融云)数据库显示,艾拉莫德片在2023年全国院内市场的销售额超9亿元。

截图来源:摩熵医药(原药融云)全国医院销售数据库
据摩熵医药(原药融云)数据库显示,在2023年全国院内市场抗炎和抗风湿药销售总额91亿元,其中,艾拉莫德片是抗炎药和抗风湿药TOP2品种。

截图来源:摩熵医药(原药融云)全国医院销售数据库
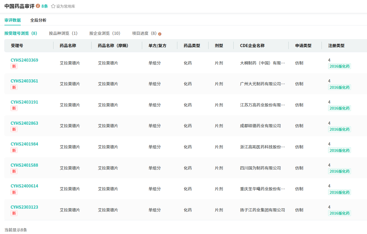
截至目前,艾拉莫德片有海南先声药业、江苏正大清江制药2家企业获批生产,其中江苏正大清江制药则是国产第2家和首家过评企业。在仿制药布局方面,艾拉莫德片在国内还有南京海纳制药、四川国为制药、扬子江药业集团、江苏万高药业、重庆圣华曦药业等10家企业以仿制4类报产在审。

截图来源:摩熵医药(原药融云)中国药品审评数据库
目前,北京福元医药有超40款品种报产在审。同时有53个品种过评,其中替米沙坦氢氯噻嗪片、美阿沙坦钾片、丙戊酸钠缓释片(Ⅰ)等20款品种为首家过评。
参考来源:
[1] CDE官网
[2] 摩熵医药(原药融云)数据库
<END>
想要解锁更多药物研发信息吗?查询摩熵医药(原药融云)数据库(vip.pharnexcloud.com/?zmt-mhwz)掌握药物基本信息、市场竞争格局、销售情况与各维度分析、药企研发进展、临床试验情况、申报审批情况、各国上市情况、最新市场动态、市场规模与前景等,以及帮助企业抉择可否投入时提供数据参考!注册立享15天免费试用!








川公网安备51019002008863号
本网站未发布麻醉药品、精神药品、医疗用毒性药品、放射性药品、戒毒药品和医疗机构制剂的产品信息
收藏
登录后参与评论
暂无评论