相较于其他降压药物,盐酸贝尼地平片不仅对肌肉型(L型)钙离子通道有抑制作用,还对电压依赖型N型和T型钙离子通道也有抑制作用,是目前唯一对上述三种通道均有作用的钙离子拮抗剂。因其独特优势,引国内药企纷纷押注。
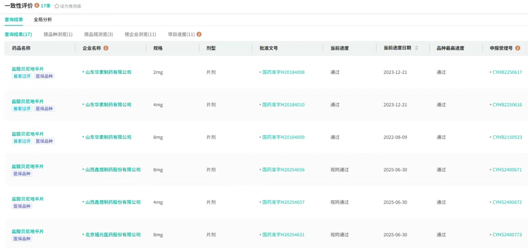
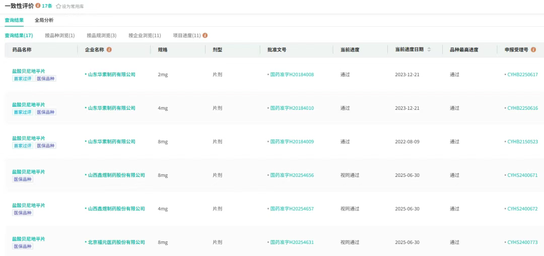
自2023年以来,国内药企密集递交盐酸贝尼地平片上市申请。据摩熵医药数据库显示,除原研外,国内已有山东华素制药、湖南华纳、吉林四环制药、浙江赛默制药、北京福元医药等11家药企的盐酸贝尼地平片通过一致性评价获批上市,形成原研1+国产11的竞争格局。

截图来源:摩熵医药一致性评价数据库
2025年1月10日,河北牵头京津冀赣化学药品集中带量采购中选结果公布,重庆圣华曦药业的8mg/14片的盐酸贝尼地平片报价10.18元,单片0.73元,是原研价格的十分之一,也远远低于其他几家的市场售价。

截图来源:摩熵医药药品集中采购数据库
同日,浙江省公立医疗机构第五批药品集中带量采购中选结果对外发布,华纳药厂的盐酸贝尼地平片中选,华纳药厂也是该品种唯一中选的申报企业。
此外,湖南九典制药、石家庄四药、江华海药业等多家企业的盐酸贝尼地平片仿制上市申请正在审评审批中。

截图来源:摩熵医药中国药品审评数据库
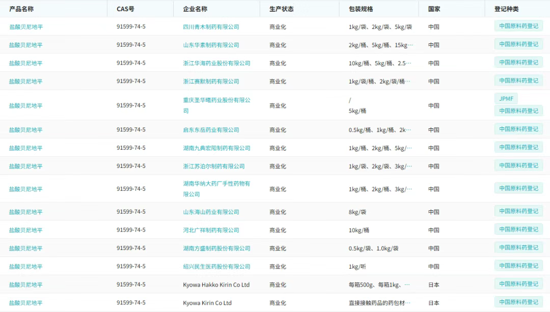
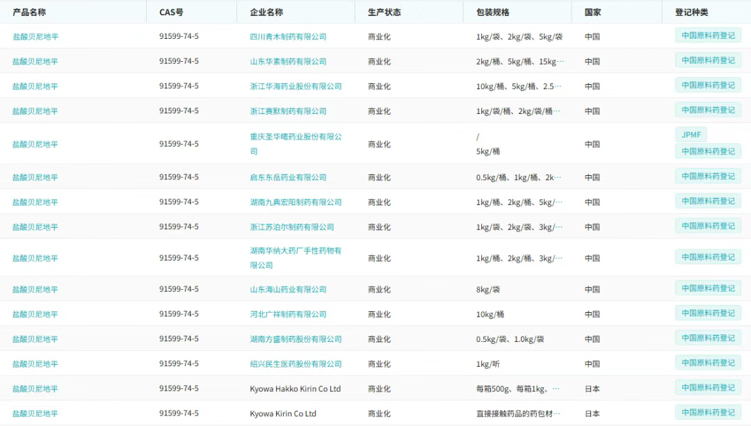
目前有21家原料药企业备案了盐酸贝尼地平原料药,其中17家转“A”。好的药品,从来不缺竞争!

截图来源:摩熵医药原料药数据库
今年以来,福元医药累计斩获9款产品,均为高端仿制药。获批的地平类药物除盐酸贝尼地平片外,还有比索洛尔氨氯地平片。随着公司的产品线逐步拓宽,公司的市场地位也将进一步提升。

截图来源:摩熵医药中国药品审评数据库
小结
盐酸贝尼地平片的上市,是福元医药深耕心脑血管领域的又一里程碑,也使其在高血压治疗领域的产品矩阵进一步完善,有望快速切入市场并惠及更多患者。未来,期待福元医药以此次获批为起点,持续加码创新研发,为心脑血管疾病防治领域再添 “中国方案”,助力更多患者拥抱健康生活。
想要解锁更多药物研发信息吗?查询摩熵医药(原药融云)数据库(vip.pharnexcloud.com/?zmt-mhwz)掌握药物基本信息、市场竞争格局、销售情况与各维度分析、药企研发进展、临床试验情况、申报审批情况、各国上市情况、最新市场动态、市场规模与前景等,以及帮助企业抉择可否投入时提供数据参考!注册立享15天免费试用!

收藏
登录后参与评论
暂无评论