
8月8日,据CDE官网公示,北京福元医药(受理号CYHS2402527)、南京易亨制药(受理号CYHS2402526)2家药企提交的3类仿制药吡格列酮二甲双胍片上市申请已获受理。目前,吡格列酮二甲双胍片在国内仅2家药企获批并通过一致性评价。

截图来源:CDE
吡格列酮二甲双胍片用于改善2型糖尿病人的血糖控制,适用于单独使用盐酸二甲双胍治疗效果不佳的病人,以及使用盐酸吡格列酮和盐酸二甲双胍联合治疗的病人。据药融云数据库显示,吡格列酮二甲双胍片在2023年全国院内市场的销售额超10亿元,同比增长达14.09%。在2023年全国医院内糖尿病治疗药物销售排行榜中,吡格列酮二甲双胍片以3.21%的市场份额,跻身TOP12品种之列。

截图来源:药融云全国医院销售数据库
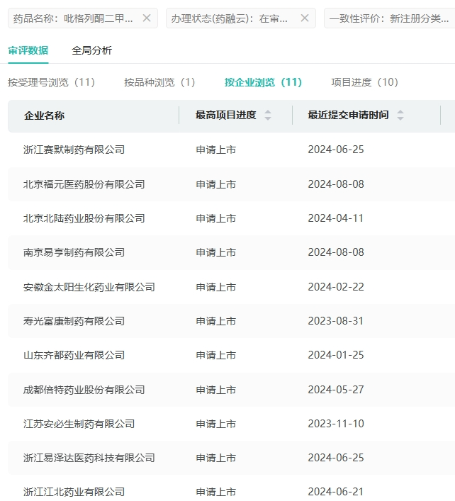
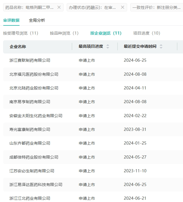
据药融云数据库显示,吡格列酮二甲双胍片在国内仅江苏德源药业、杭州中美华东制药2家药企获批并通过一致性评价。截至目前,吡格列酮二甲双胍片有成都倍特药业、北京福元医药、山东齐都药业等11家企业报产在审。此次,北京福元医药、南京易亨制药2家药企以仿制3类报产获受理,若能顺利获批,国产第3家有望后来者居上。

截图来源:药融云中国药品审评数据库
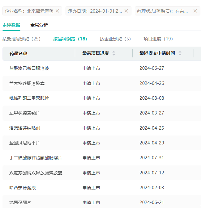
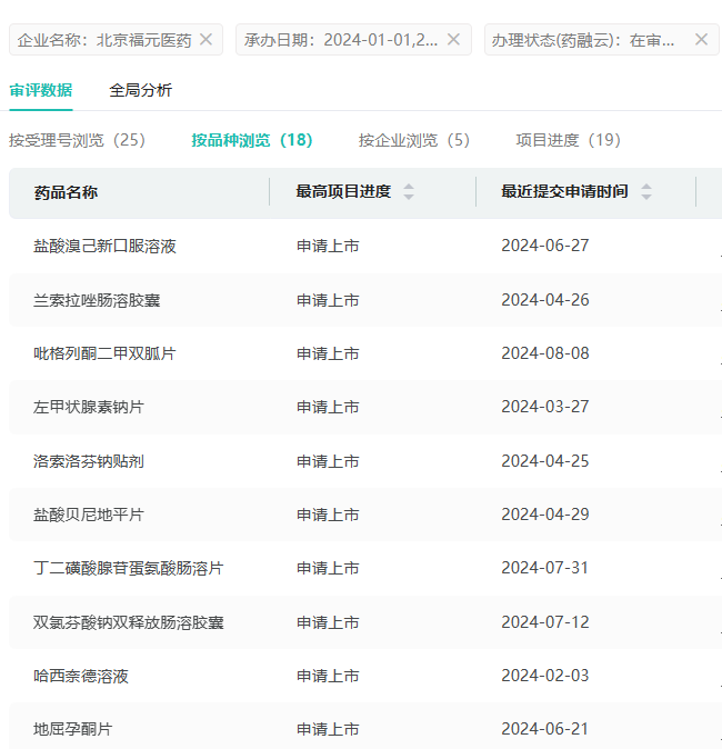
2024年至今,北京福元医药(含子公司)有盐酸溴己新口服溶液、吡格列酮二甲双胍片、兰索拉唑肠溶胶囊等18个品种提交了仿制申请,均在审评审批中。

截图来源:药融云中国药品审评数据库
今年以来,南京易亨制药有伏立康唑干混悬剂、吡格列酮二甲双胍片、吲达帕胺缓释片、甲磺酸多沙唑嗪缓释片 、米拉贝隆缓释片5个品种提交了仿制申请,均在审评审批中。
参考来源:
[1] CDE官网
[2] 药融云数据库
相关阅读:
1. 千亿糖尿病江湖,竞争白热化!GLP-1R激动剂或是下一个降糖王者?
2. 成都倍特药业:3类仿制化药吡格列酮二甲双胍片上市申请获受理
<END>
想要解锁更多药物研发信息吗?查询药融云数据库(vip.pharnexcloud.com/?zmt-mhwz)掌握药物基本信息、市场竞争格局、销售情况与各维度分析、药企研发进展、临床试验情况、申报审批情况、各国上市情况、最新市场动态、市场规模与前景等,以及帮助企业抉择可否投入时提供数据参考!注册立享15天免费试用!








川公网安备51019002008863号
本网站未发布麻醉药品、精神药品、医疗用毒性药品、放射性药品、戒毒药品和医疗机构制剂的产品信息
收藏
登录后参与评论
暂无评论