2024年质子泵抑制剂(PPI)市场,艾普拉唑表现夺目。其注射剂荣登榜首,肠溶片则位居前三甲,持续彰显强大市场竞争力。

截图来源:摩熵医药全国医院(全终端)销售数据库
2022年6月,丽珠艾普拉唑肠溶片被确定为参比制剂,正式拉开仿制药市场竞争序幕。石药中诺药业(石家庄)在2023年10月首家申报并在2025年2月首家获批,拿下国内首仿。

截图来源:摩熵医药一致性评价数据库
但目前艾普拉唑肠溶片市场份额仍由丽珠集团独享,石药中诺药业暂未上市销售。

截图来源:摩熵医药全国医院(全终端)销售数据库
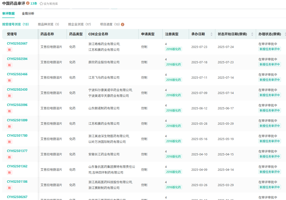
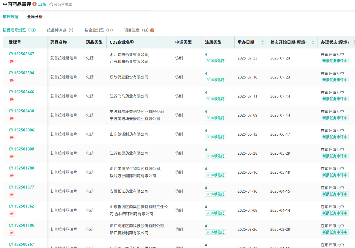
在国内仿制领域,除了一举拿下国内首仿的石药中诺药业(石家庄)外,北京福元医药、辰欣药业、山东鲁抗医药、山东朗诺制药等13家企业也已提交上市申请。

截图来源:摩熵医药中国药品审评数据库
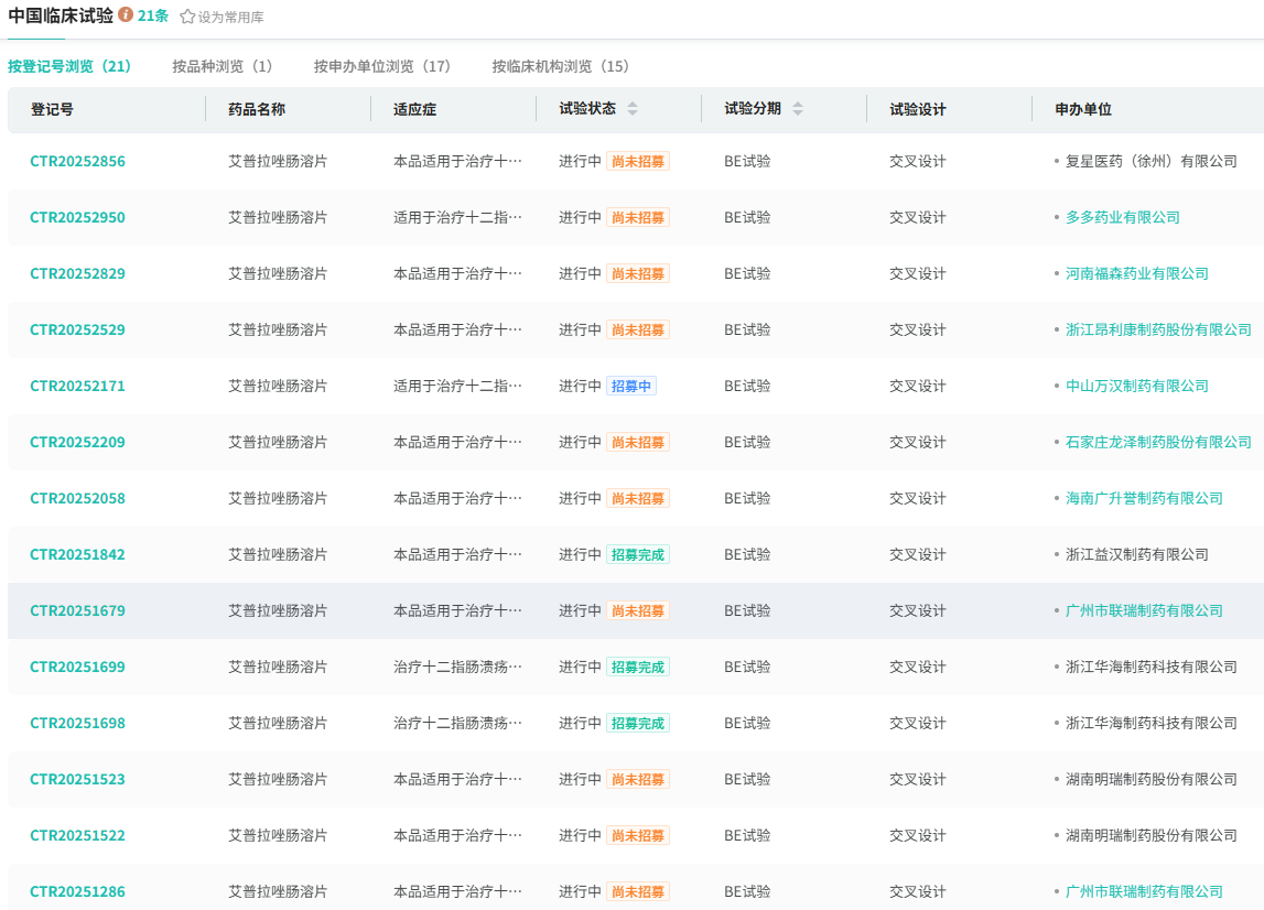
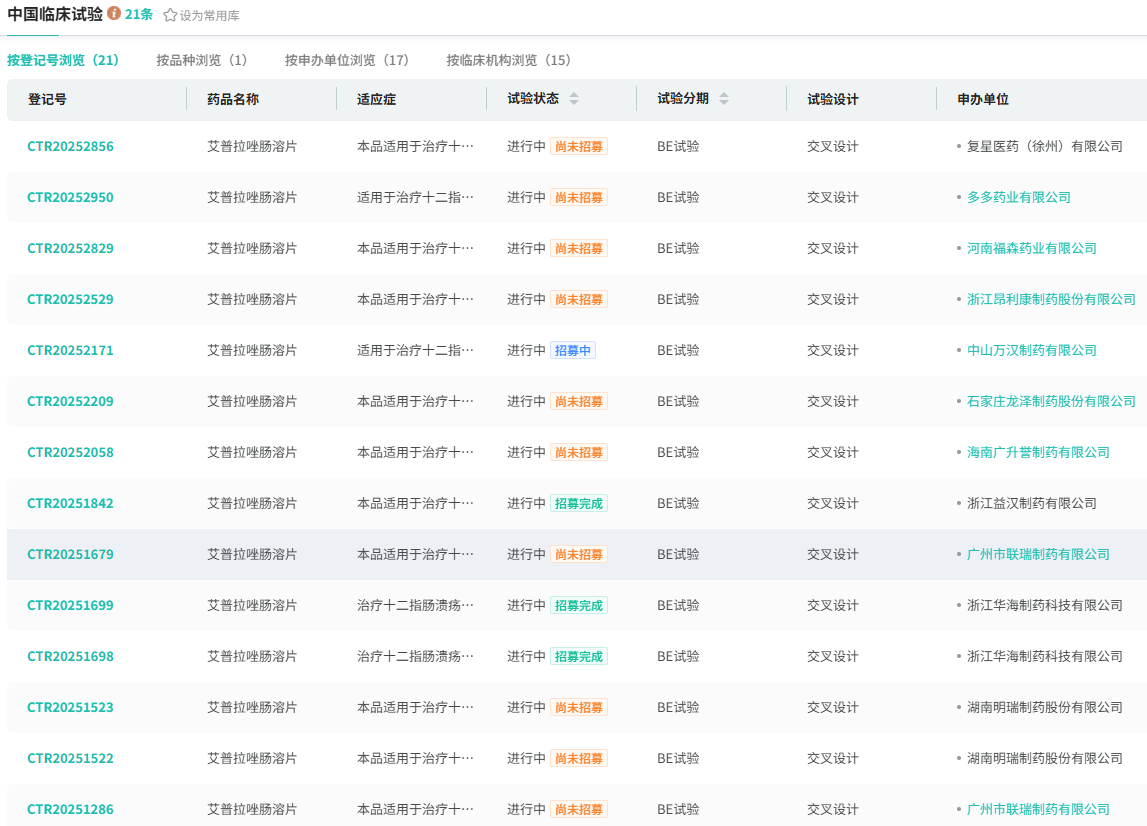
另有湖南华纳大药厂、科伦制药、复星医药、四川国为制药等17家企业登记了艾普拉唑肠溶片的生物等效性试验。

截图来源:摩熵医药中国临床试验数据库
公开资料显示,艾普拉唑化合物专利以及肠溶片专利已经到期,其他产品例如艾普拉唑针剂到期时间为2036年,微丸专利已授权到2040年。
丽珠制药在艾普拉唑的专利布局

来源:河南科技《艾普拉唑知识产权的引进再创新》(2021)
质子泵抑制剂一直以来主导着抑酸药物市场,24年院内市场份额为137.39亿元。目前国内已上市药物包括奥美拉唑、艾司奥美拉唑、泮托拉唑、艾普拉唑、雷贝拉唑、兰索拉唑等。由于用药人群庞大,国内药企纷纷布局。

截图来源:摩熵医药全国医院(全终端)销售数据库
艾普拉唑的仿制格局演变,正是国内PPI领域竞争迈入下半场的缩影。以艾普拉唑为主的细分市场正从“独家主导”加速转向“多强竞逐”。
未来,在多重驱动下,这场围绕百亿市场的较量将日趋激烈,而更充分的竞争不仅会推动药品可及性提升,也将倒逼行业在质量与创新上持续突破,最终惠及广大患者。
想要解锁更多药物研发信息吗?查询摩熵医药(原药融云)数据库(vip.pharnexcloud.com/?zmt-mhwz)掌握药物基本信息、市场竞争格局、销售情况与各维度分析、药企研发进展、临床试验情况、申报审批情况、各国上市情况、最新市场动态、市场规模与前景等,以及帮助企业抉择可否投入时提供数据参考!注册立享15天免费试用!

收藏
登录后参与评论
暂无评论