
近日,罕见病龙头公司BioMarin Pharmaceutical Inc. (NASDAQ: BMRN) 公布2023年H1财报。财报显示,2023H1总收入11.92亿美元(85.48亿人民币,按最新汇率1 美元 ≈ 7.1708 人民币计算),同比增长13%,现金及现金等价物15.57亿美元(111.65亿人民币)。
2023H1公司的前三大产品销售情况如下:
VimizimH1营收3.67亿美元,同比增长3%。该药物于2014年2月获得FDA批准,用于治疗粘多糖贮积症IVA型(Morquio A综合征),Vimizim是美国FDA批准的首个Morquio A综合征治疗药物。2019年6月Vimizim(中文商品名:唯铭赞)在中国获批,该药是国内首个黏多糖贮积症治疗药物。

VoxzogoH1营收2.01亿美元,同比增长273%。增长迅速的原因是药物在2021年底和2022年初获得监管部门批准,全球市场持续扩张和患者的快速接受。2021年,美国FDA批准Voxzogo注射液上市,用于治疗5岁及以上骨骺(生长板)“开放”的软骨发育不全的儿童患者。Voxzogo是一款C型利钠肽类似物,它可通过阻断FGFR3的活性,直接靶向软骨发育不全的潜在病理生理学,从而促进软骨内骨形成,让患儿的生长速率恢复正常。
NaglazymeH1营收2.13亿美元,同比下降13%。该药物于2005年获批上市,用于治疗粘多糖增多症VI (MPS VI)。MPS VI一种罕见的遗传代谢疾病,该病幼年即开始发作,患者表现为生长迟缓、身体组织受损和智力障碍。该疾病由于体内缺乏N-乙酰半乳糖胺-4-硫酸酯酶所引起的。Naglazyme通过酶替代疗法能够有效的缓解症状。

BioMarin颇具看点的是基因疗法Roctavian,于今年6月29日获FDA批准用于治疗严重血友病A,是目前此病的唯一批准基因疗法。已获得FDA授予的突破性疗法认定(BTD)、孤儿药资格认定(ODD)、再生医学先进疗法认定(RMAT)。
基因疗法Roctavian预计将于8月用于商业用途,公司预计Roctavian今年营收0.5~1.5亿美元(3.59~10.76亿人民币)。
BioMarin正在直接与德国国家雕像健康保险基金协会(GKV)合作,以最终获得Roctavian。目前,德国患有严重血友病A的人,有资格接受Roctavian治疗,可以通过指定患者授权或以前获得的基于结果的协议获得治疗。在法国和意大利,BioMarin正在与单一公共保险基金直接合作,以确保报销和获得Roctavian,预计在2023年晚些时候。
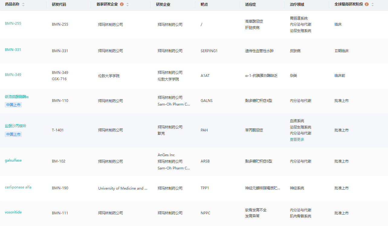
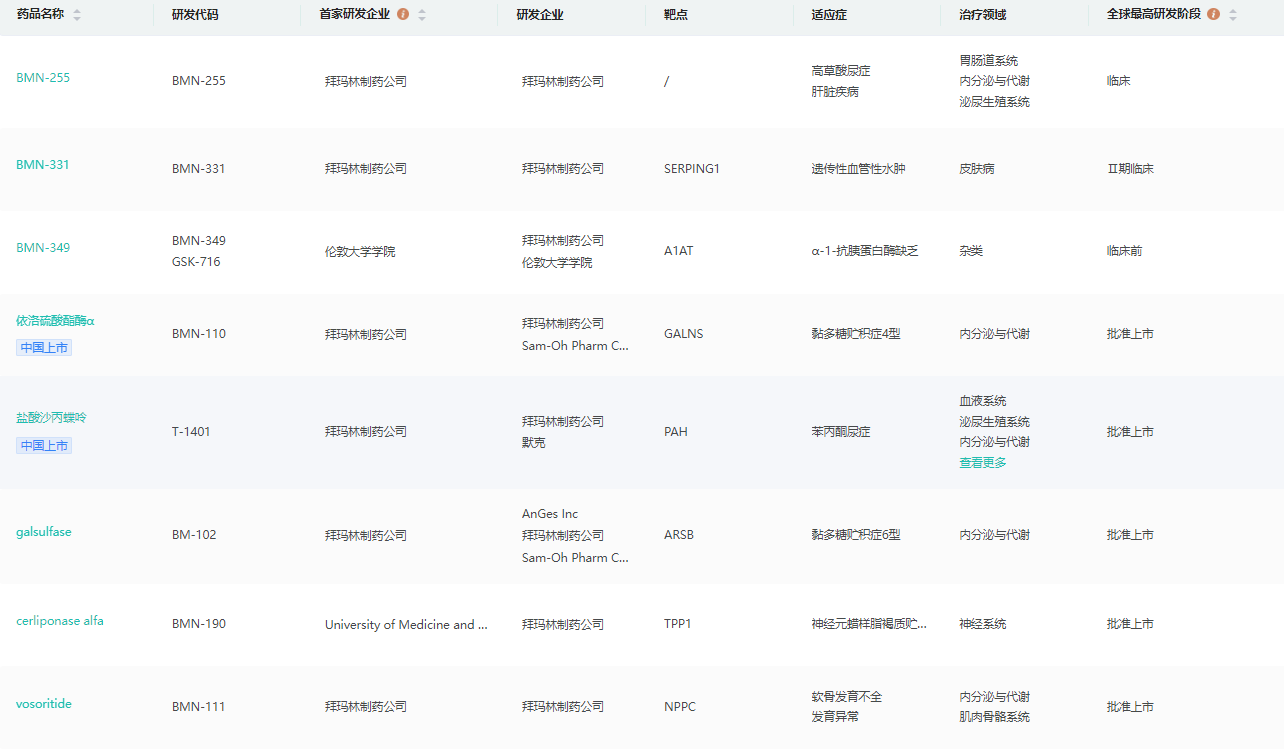
BioMarin的研发管线(部分)

截图来源:药融云全球药物研发数据库
参考资料:
公司财报
药融云数据库
要解锁更多企业药品研发信息吗?查询药融云数据库(vip.pharnexcloud.com/?zmt-mhwz)掌握药品各国上市情况、药品批文信息、销售情况与各维度分析、市场竞争格局、一致性评价情况、集采中标情况、药企申报审批信息、最新动态与前景等,以及帮助企业抉择可否投入时提供数据参考!注册立享15天免费试用!








川公网安备51019002008863号
本网站未发布麻醉药品、精神药品、医疗用毒性药品、放射性药品、戒毒药品和医疗机构制剂的产品信息
收藏
登录后参与评论
暂无评论