
相比部分靶点清晰、机制清晰、治疗方法多样的肿瘤领域(oncology),神经系统疾病领域(CNS)的部分疾病发病机理并不清晰,且患者从患病到发病时间长、难以诊断,这些都导致所有药企无处下手,只能通过不断尝试来验证猜想而一些疾病试验观察时间长,耗时耗力,投入成本巨大。
在全球TOP10的国际药企继续布局神经系统疾病领域时,宇宙大药厂辉瑞(Pfizer)以退为进,放弃了自主研发这条路,2018年初,辉瑞初步暂停了神经科学领域的研发项目,包括针对阿尔兹海默病、帕金森病和癫痫等项目。在放弃自主研发神经科学领域的项目6个月后,辉瑞旗下投资公司Pfizer Ventures(辉瑞风险投资)计划投资6亿美元给新兴生物技术公司,其中,现有资金(1.5亿美元)的约25%投资于新兴成长型神经科学公司。
2018年10月辉瑞和贝恩资本合作推出了专注于开发治疗中枢神经系统疾病的疗法公司Cerevel Therapeutics辉瑞向其提供一系列处于不同临床研究阶段的化合物和若干临床前研发阶段的化合物,所涉及的疾病治疗领域包括帕金森病、阿尔茨海默病、癫痫、精神分裂症和成瘾性疾病。与此同时,辉瑞公司制定了一项为期五年的计划,投资6亿美元作为风险投资基金,其中高达1.5亿美元用于神经科学。

药融云数据库监测显示:2020年10月,Cerevel Therapeutics通过与Perceptive发起的SPAC Arya Sciences II合并上市,2020年年底公司市值约21亿美元,截至2023年11月14日,公司总市值为45.90亿美元。
作为专注于研究大脑科学的公司,Cerevel Therapeutics通过精确识别和定位特定神经科学疾病的神经回路,开辟了新的治疗选择;仅选择性地靶向与疾病生理学相关的受体亚型,以最大限度地减少不良脱靶效应,同时最大限度地提高活性;不仅如此,还设计了完全和部分激动剂、拮抗剂和变构调节剂,可以精确地微调受体药理学和神经回路活性,而不会过度激活或过度抑制内源性生理范围。
1.产业布局
Cerevel Therapeutics利用其对神经回路和靶向受体亚型选择性的深入研究,正在推进其广泛而多样化的新型神经科学候选产品。

Emraclidine是一种M4选择性正变构调节剂(PAM),正在开发用于精神分裂症和阿尔茨海默病精神病。
针对精神分裂症的临床2期试验是称为EMPOWER-1和EMPOWER-2的两项安慰剂对照的研究,该试验中Emraclidine被研究为每日一次的药物,且无需滴定。EMPOWER计划数据预计将于2024年下半年公布,目前正在进行为期52周的开放标签安全扩展试验EMPOWER-3也在继续招募。为了支持Emraclidine治疗精神分裂症的潜在注册方案,除了EMPOWER计划外,Cerevel Therapeutics还优先完成必要的非临床和临床药理学研究。

毒蕈碱型乙酰胆碱能受体正向变构调节剂 (M4 Positive Allosteric Modulator)
针对Emraclidine的阿尔茨海默病精神病,Cerevel Therapeutics启动了一项临床试验1期多次递增剂量研究,以评估其在65-85岁老年健康志愿者中的安全性、耐受性和药代动力学。目前FDA已授予Emraclidine快速通道资格,用于治疗与阿尔茨海默病精神病相关的幻觉和妄想。

截图来源:药融云全球药物研发数据库
Darigabat是α2/3/5选择性GABAA受体PAM,目前正在开发用于治疗癫痫和恐慌症。
Cerevel Therapeutics正在进行REALIZE试验和ADAPT试验,REALIZE试验是针对局灶性癫痫的临床试验2期概念验证以及相应的开放标签安全性扩展试验,该试验的数据读数预计将于2024年年中公布。ADAPT试验是一项针对恐慌症的临床试验2期概念验证。
Tavapadon是一种D1/D5部分激动剂,主要用于治疗帕金森病,目前处于临床试验3期。
Tavapadon 有可能成为帕金森病的首创D1/D5选择性部分激动剂,作为单一疗法和辅助治疗。针对帕金森病(TEMPO-1、-2和-3)的单一疗法(早期)和辅助(晚期)的所有三项临床试验3期研究以及相应的开放标签扩展试验(TEMPO-4)正在进行中。预计TEMPO-3的数据将在2024年上半年公布,TEMPO-1和TEMPO-2的数据将在2024年下半年公布。
CVL-871是一种正在开发的D1/D5部分激动剂,用于治疗痴呆相关冷漠。目前正在针对痴呆相关的冷漠进行临床试验2a期探索性研究。
除了这些先导项目外,Cerevel Therapeutics还在推进其早期临床管线和发现项目,其中包括CVL-354,一种选择性κ阿片受体拮抗剂(KORA),用于治疗重度抑郁症和物质使用障碍;用于治疗精神和神经系统适应症的选择性M4激动剂方案;选择性PDE4抑制剂(PDE4D-sparing)计划,用于治疗精神,神经炎症和其他疾病。
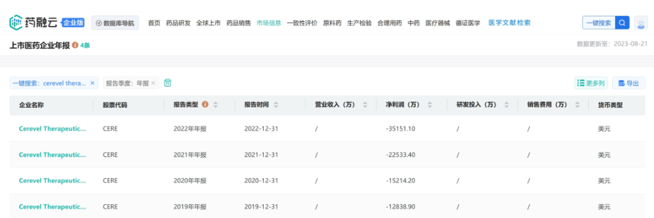
2.财务状况
从药融云获悉,Cerevel Therapeutics成立至今一直在加大资金投入,2022年全年的研发费用为2.803亿美元,研发费用包括500万美元和1820万美元的基于股票的薪酬费用,而上年同期研发费用只有1.619亿美元,研发费用的增加主要是由于emraclidine, tavapadon和darigabat临床项目的持续推进,增加了对早期研发的投资以及增加的人员和其他基础设施成本,以支持研发管线的持续增长和发展。

药融云数据库:企业年报
截至2023年9月30日,公司前三个季度研发费用为2.375亿美元,研发费用总额包括680万美元和2030万美元的股权薪酬费用,与上一年相比研发费用的增加主要是由于emraclidine和tavapadon项目的持续推进,以及人员成本的增加,包括基于股权的薪酬。2023年前三个季度的一般和管理费用为7020万美元,包括1030万美元和2390万美元的股权薪酬费用,与上年同期相比,一般和行政费用的增加主要是由于人事成本增加,包括基于股权的薪酬,部分被与专业费用相关的支出减少所抵消。

与2022年第四季度相比,Cerevel Therapeutics预计2023年的一般及行政开支将保持相对稳定,公司的现金、现金等价物和有价证券预计将继续支持运营到2025年。

2023年12月7日,制药巨头艾伯维宣布一项最终协议,将以每股45美元的价格现金收购Cerevel Therapeutics及其强大的神经科学产品管线,总价值约87亿美元,预计将在2024 年完成收购。
参考:
NMPA/CDE;
药融云数据库
FDA/EMA/PMDA;
相关公司公开披露(除标注外,正文图片均来自企业官网);等等
<END>
要解锁更多企业药品研发信息吗?查询药融云数据库(vip.pharnexcloud.com/?zmt-mhwz)掌握药品各国上市情况、药品批文信息、销售情况与各维度分析、市场竞争格局、一致性评价情况、集采中标情况、药企申报审批信息、最新动态与前景等,以及帮助企业抉择可否投入时提供数据参考!注册立享15天免费试用!








川公网安备51019002008863号
本网站未发布麻醉药品、精神药品、医疗用毒性药品、放射性药品、戒毒药品和医疗机构制剂的产品信息
收藏
登录后参与评论
暂无评论