
近日,上海阳光医药采购网公示了“2024年5月部分短缺药全国平均价”,2024年至今,上海阳光医药采购网先后公布了4份部分短缺药平均价名单,目前未公布2024年2月份的相关情况。

截图来源:上海阳光医药采购网
据悉,2022年8月至今,上海阳光医药采购网,陆续公示了多批短缺药的全国平均价,以供各医疗机构根据市场供需情况,在保供稳价的基础上,采购质量可靠、价格适宜的药品。此次,共有4款短缺药的全国平均价拟公示。据药融云数据库显示,葡萄糖酸钙注射液、维生素K1注射液两大品种在2023年全国院内市场的销售额超5亿元。

来源:上海阳光医药采购网
两大超5亿元品种,全国平均价迎来“两连降”
葡萄糖酸钙注射液主要适用于钙缺乏、急性血钙过低、碱中毒及甲状旁腺功能减退所致的手足搐搦症、维生素D缺乏症等。据上海阳光医药采购网公示,2024年至今,葡萄糖酸钙注射液全国平均价迎来“两连降”。3月2.5元/支的葡萄糖酸钙注射液的价格于5月再次下滑,降至0.65元/支。据药融云数据库显示,葡萄糖酸钙注射液在2023年全国院内市场的销售额达5.3亿元。

截图来源:药融云全国医院销售数据库
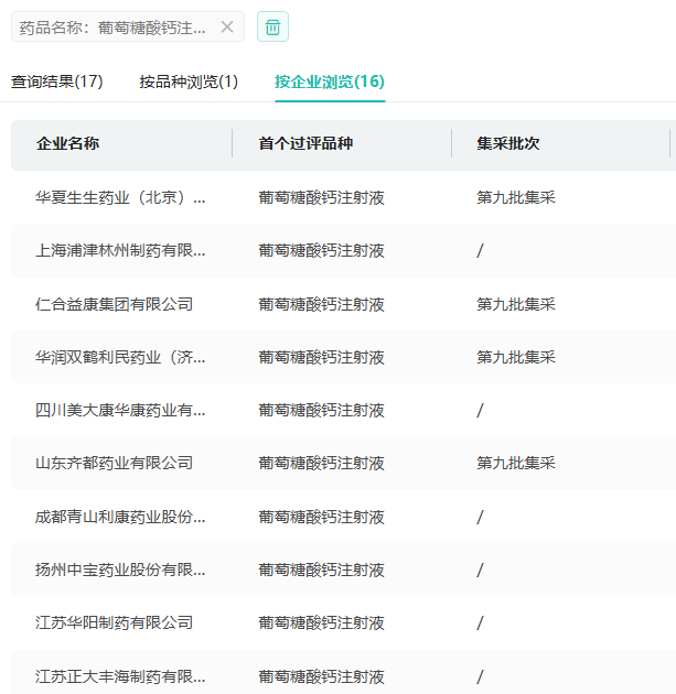
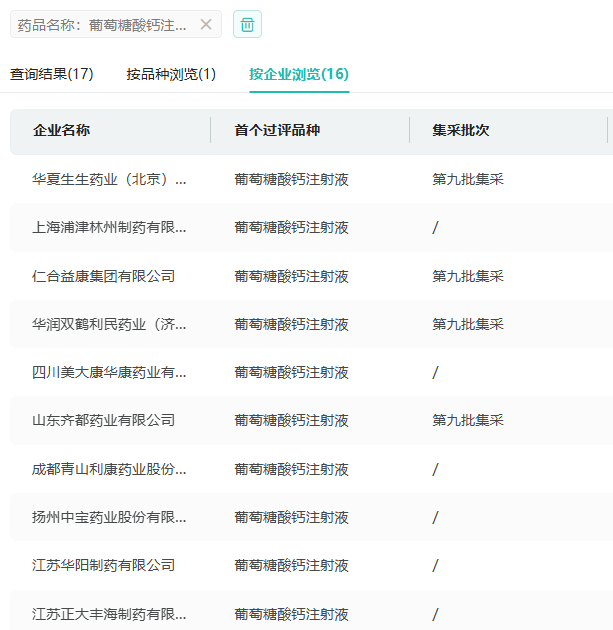
目前,葡萄糖酸钙注射液在国内有超80家药企拥有生产批文,16家药企通过一致性评价,其中有湖南科伦制药、海南倍特药业、山东齐都药业、仁合益康集团等8家药企的葡萄糖酸钙注射液进入第9批集采。

截图来源:药融云过评药品汇总数据库
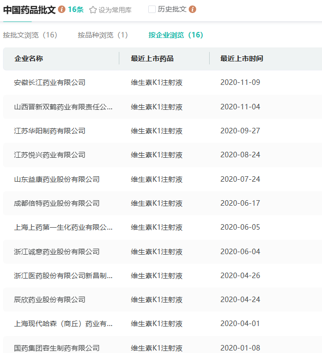
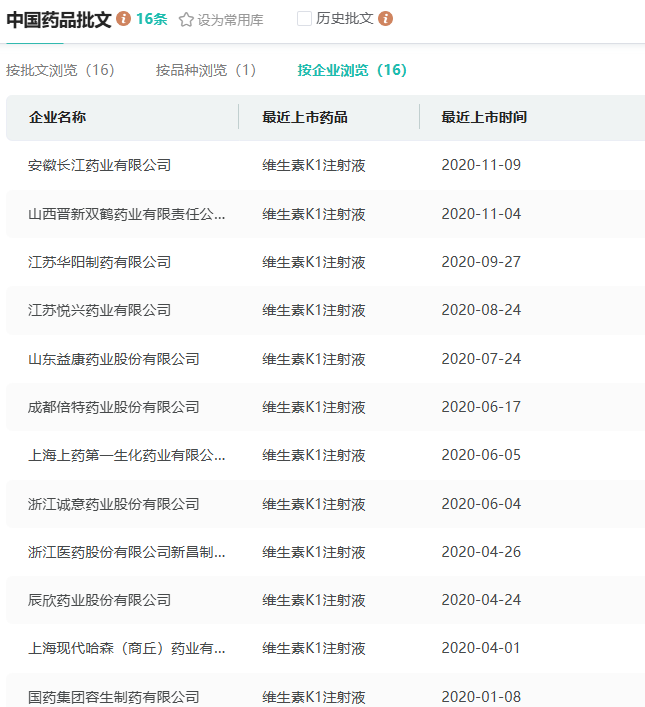
此次,同样迎来“两连降”的还有维生素K1注射液。今年3月,12.59元/支的维生素K1注射液的价格于5月再次下滑,降至11.11元/支,该品种是一种止血剂,主要用于维生素K缺乏引起的出血。据药融云数据库显示,维生素K1注射液在2023年全国院内市场的销售额达5.6亿元。
目前,维生素K1注射液有正大天晴药业、辰欣药业、成都倍特药业、江苏华阳制药等16家药企拥有生产批文。此外,维生素K1注射液目前暂无药企通过一致性评价。

截图来源:药融云中国药品批文数据库
国采保障短缺药供应,呋塞米双剂型纳入集采救援
在集采政策的持续深化下,第八批国家组织药品集中采购(简称“国采”)再显担当,成功将部分国家短缺药监测名单中的关键品种纳入其中,并对短缺药品给予了特别的政策倾斜。
呋塞米注射液主要用于治疗水肿性疾病。上海阳光医药采购网公示,2024年5月其价格在2.67元/支。呋塞米注射液这一临床不可或缺的药品,因利润空间有限,曾一度面临生产动力不足、供应短缺的困境。在2023年3月2日启动的第八批国采中,呋塞米脱颖而出,成为中标品种之一。这9家中选厂家将按照集采规则,合计获得首年约定采购量计算基数的80%。这意味着它们将承担主要的供应责任,以满足市场需求。

中选药品平均价格较之前下降了18%,为患者带来了实实在在的减负效果。同时,庞大的采购量也反映出呋塞米在医疗领域的重要性,总金额高达1.9亿元的采购规模,进一步印证了其市场需求之旺盛。
值得一提的是,天津金耀集团、河南润弘等业内知名企业均成功中选,而河南润弘更是以2.32元/支的超低中标价脱颖而出,赢得了2254万支的约定采购量。金耀集团亦不负众望,确保了超过1600万支的供应(自产和委托生产)。

此外,2023年12月5日,被誉为急抢救药品“小国采”的专项采购文件正式公布,进一步拓宽了短缺药品保供渠道。此次采购覆盖了除特定地区外的27个省区,直至2026年底,为易短缺药品如呋塞米片提供了稳定的市场预期。其中,20mg规格的呋塞米片约定采购量高达7.16亿多片,彰显了国家对短缺药品供应保障的高度重视。
目前,呋塞米片已有三家企业通过了一致性评价,包括上海朝晖药业、天津力生制药及江苏亚邦爱普森药业,它们将共同为市场提供高质量、可信赖的药品选择。
参考来源:
[1] 上海阳光医药采购网
[2] 药融云数据库
[3] 广州药品集团采购平台
<END>
想要解锁更多药品信息吗?查询药融云数据库(vip.pharnexcloud.com/?zmt-mhwz)掌握药品各国上市情况、药品批文信息、销售情况与各维度分析、市场竞争格局、一致性评价情况、集采中标情况、药企申报审批信息、最新动态与前景等,以及帮助企业抉择可否投入时提供数据参考!注册立享15天免费试用!








川公网安备51019002008863号
本网站未发布麻醉药品、精神药品、医疗用毒性药品、放射性药品、戒毒药品和医疗机构制剂的产品信息
收藏
登录后参与评论
暂无评论