
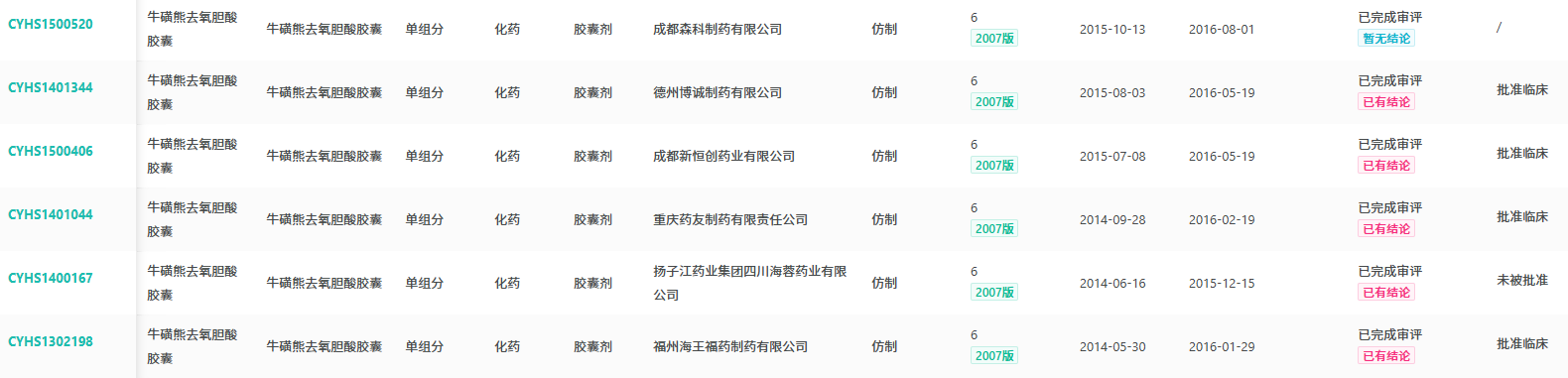
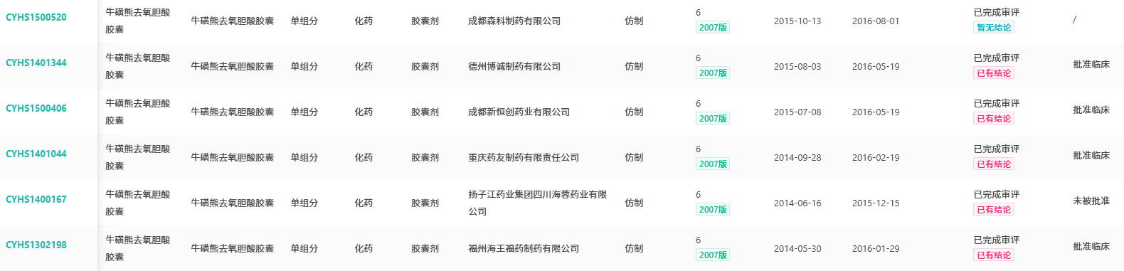
2025年5月8日,据中国国家药品审评中心(CDE)官网最新显示,杭州沐源生物医药科技有限公司按注册分类4类申报的牛磺熊去氧胆酸胶囊上市申请获受理。为国产首家仿制药申报上市品种。

截图来源:国家药监局药品审评中心
牛磺熊去氧胆酸具有解痉、抗惊厥、抗炎及溶胆石等作用,临床主要用于治疗胆囊胆固醇结石、原发硬化性胆管炎、原发胆汁性肝硬化和慢性丙型病毒性肝炎等。
牛磺熊去氧胆酸胶囊的原研厂家是意大利贝斯迪大药厂(Besins Healthcare),首次在意大利上市的时间为1991年,于1992年在欧洲上市,2007年由香港铨福发展有限公司引进中国上市,商品名为“滔罗特”。 目前尚未纳入医保目录和基药目录!
据摩熵医药数据库的销售数据库显示,全国医院(全终端)销售额2023年为1亿元,2024上半年为0.31亿元。仅原研厂家销售。











川公网安备51019002008863号
本网站未发布麻醉药品、精神药品、医疗用毒性药品、放射性药品、戒毒药品和医疗机构制剂的产品信息
收藏
登录后参与评论
暂无评论