
9月28日,国家药监局发布最新中药保护品种公告,为中药市场投下一颗“重磅炸弹”——江西普正制药的全杜仲胶囊、健民药业的七蕊胃舒胶囊,双双获批为首家中药二级保护品种。这意味着这两款独家中成药,将在保护期内享受市场独占权,其他企业不得仿制,市场前景一片光明。

截图来源:NMPA
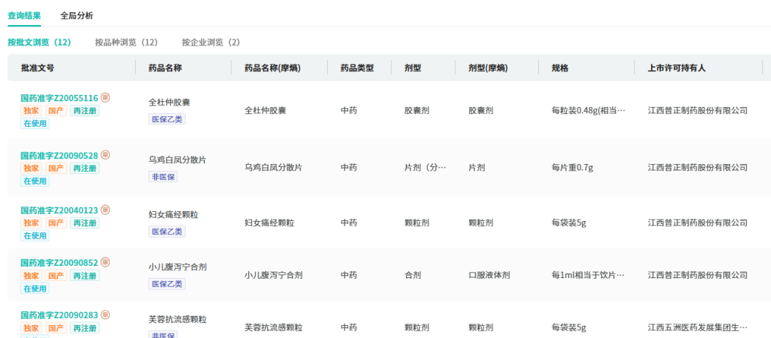
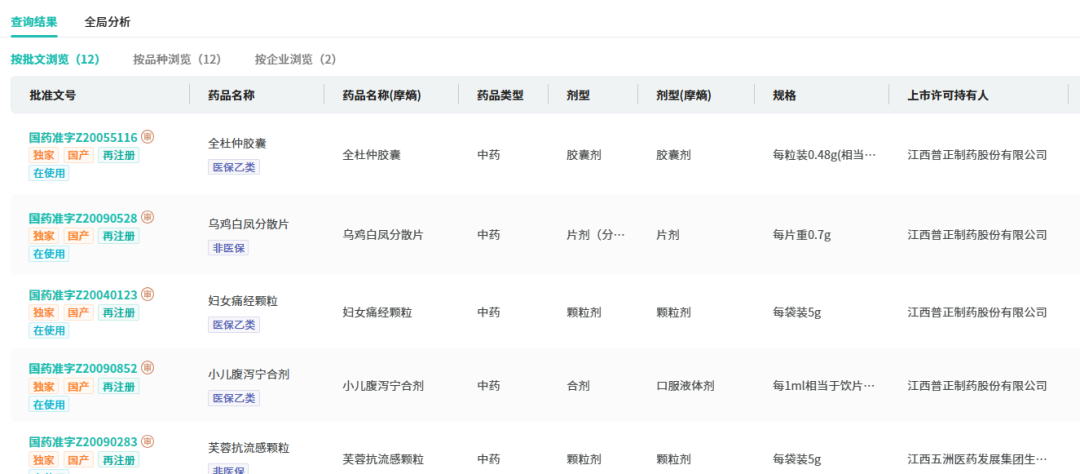
一、大涨113%的中药大品种,普正制药持续领跑行业
全杜仲胶囊是我国首个获国家中药品种保护的杜仲药品,也是普正制药继红花逍遥片后第二个获此类保护的产品。普正制药作为杜仲全产业链研发链主企业,其全剂型独家品种全杜仲胶囊以杜仲单方入药,有补肝肾、强筋骨、降血压等功效,对肾虚腰痛、骨质疏松及“三高”靶器官损伤防治效果显著。全杜仲胶囊自2005年上市,质量稳定、疗效确切,深受医患欢迎。据摩熵医药数据库显示,2024年全杜仲胶囊在全终端医院市场销售额超8900万元,同比增长达113.33%,属中药大品种。










川公网安备51019002008863号
本网站未发布麻醉药品、精神药品、医疗用毒性药品、放射性药品、戒毒药品和医疗机构制剂的产品信息
收藏
登录后参与评论
暂无评论