
2025年中药二级保护品种呈现“数量增长、质量提升、结构优化”态势,截至11月底,国家药监局已批准15个新品种。12月15日,一品红制药的芩香清解口服液与山东凤凰制药的天丹通络片双双成为首家中药二级保护品种。

截图来源:NMPA
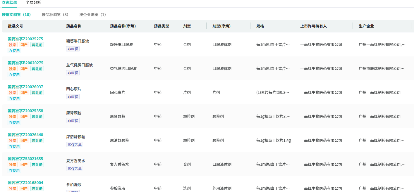
一品红:27个儿童药批件 + 手握8款独家中药
芩香清解口服液是一品红的独家中药品种,用于疏风解热,清泻里热,解毒利咽,在临床上主要用于小儿上呼吸道感染属表里俱热证。据摩熵医药数据库显示,在2024年芩香清解口服液在全国医院(全终端)销售额超1亿元。

2025年中药二级保护品种呈现“数量增长、质量提升、结构优化”态势,截至11月底,国家药监局已批准15个新品种。12月15日,一品红制药的芩香清解口服液与山东凤凰制药的天丹通络片双双成为首家中药二级保护品种。

截图来源:NMPA
芩香清解口服液是一品红的独家中药品种,用于疏风解热,清泻里热,解毒利咽,在临床上主要用于小儿上呼吸道感染属表里俱热证。据摩熵医药数据库显示,在2024年芩香清解口服液在全国医院(全终端)销售额超1亿元。
芩香清解口服液获批,是中药政策落地成果,亦是对企业儿童药研发创新的支持。未来,它将与馥感啉口服液双轮驱动,完善一品红儿童中药核心产品矩阵。一品红作为儿童用药创新头部品牌,以临床需求为导向,构建高端制剂平台,掌握多项核心技术,已获27个儿童药注册批件,覆盖全年龄段多治疗领域。截至目前,一品红有8款独家中药品种获批。

截图来源:摩熵医药中国药品批文数据库
天丹通络片是山东凤凰制药的独家品种,已被纳入全国医保乙类目录。该药临床应用已近二十年,具有活血通络、熄风化痰的功效,适用于中风中经络、风痰瘀血痹阻脉络证。凤凰制药于2022年5月发起了该产品的上市后临床研究,并于2024年8月完成。摩熵医药数据库数据显示,2024年天丹通络片在全国医院(全终端)销售额超7亿元,同比增长达6.80%。
从脑血管疾病内服中成药TOP50的市场表现来看,2024年,注射用血塞通在全国医院(全终端)销售额超过36亿元,稳居榜首;复方丹参滴丸销售额超29亿元,紧随其后位列第二;脑心通胶囊销售额超过27亿元,占据第三名。近年来,山东凤凰制药的天丹通络片均在该榜单中占有一席之地。

截图来源:摩熵医药全终端医院销售数据库
山东凤凰制药在心脑血管与血液系统药物(中成药)领域深耕多年,目前已有降脂宁片、天丹通络片、复方川芎片、养阴降压胶囊等9款品种获批上市,其中4个为独家品种(含独家剂型),天丹通络胶囊也已被纳入中药保护品种目录。

截图来源:摩熵医药中国药品批文数据库
此次,一品红制药的芩香清解口服液与山东凤凰制药的天丹通络片同日获批中药二级保护品种,意义重大。中药品种保护制度构建起坚实壁垒,为原研企业及优势品种企业的核心技术筑牢安全防线,全方位保障其合法权益。
同时,该制度犹如强劲引擎,有效激发中药研制单位与生产企业开发新品种、提升药品质量的内生动力。未来,此制度与获批产品协同发力,不仅助力企业稳固核心产品的市场地位、获取长期利润,更将引领整个中药产业踏上高质量发展的康庄大道。
参考来源:
[1] NMPA官网
[2] 摩熵医药(原药融云)数据库
扩展阅读:
1. 33个中成药拟入拟入2025版《中国药典》,多款独家品种在列,覆盖多领域治疗
2. 最新网上药店销售TOP10公布!抗ED“神药”断层C位,多款独家中成药霸榜,同仁堂、华润领跑
想要解锁更多药品信息吗?查询摩熵医药(原药融云)数据库(vip.pharnexcloud.com/?zmt-mhwz)掌握药品各国上市情况、药品批文信息、销售情况与各维度分析、市场竞争格局、一致性评价情况、集采中标情况、药企申报审批信息、最新动态与前景等,以及帮助企业抉择可否投入时提供数据参考!注册立享15天免费试用!

10114
2026年04月24日 10:00
收藏
登录后参与评论
暂无评论