
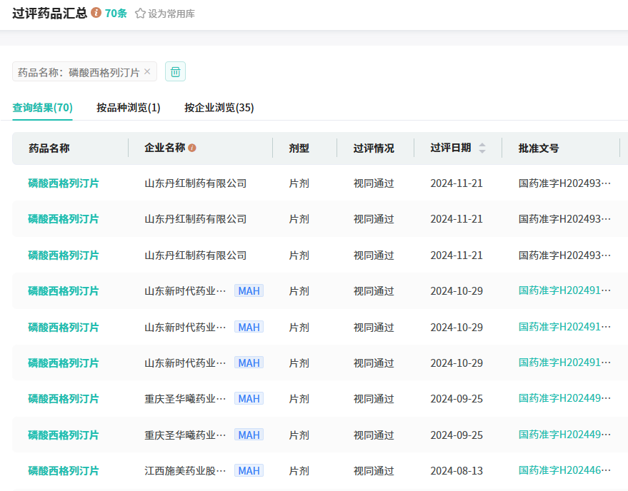
11月22日,据山东步长制药发布公告,称其全资子公司陕西步长制药的人知降糖胶囊获批为首家中药二级保护品种,保护期为自公告日起七年。同日其全资子公司山东丹红制药的磷酸西格列汀片和孟鲁司特钠咀嚼片两大品种获批上市。

截图来源:企业公告
步长独家中成药品种,同比增长达310.66%
人知降糖胶囊为陕西步长独家获批保护品种,用于Ⅱ型糖尿病属气阴两虚兼燥热伤津证的辅助治疗,缓解倦怠乏力,气短懒言,口干口渴,五心烦热,自汗盗汗,多食易饥,便秘溲赤,心悸失眠,腰酸不适等。据摩熵医药数据库显示,人知降糖胶囊在2023年全国医院销售(全终端)销售额为6.61万元,同比增长达310.66%。









川公网安备51019002008863号
本网站未发布麻醉药品、精神药品、医疗用毒性药品、放射性药品、戒毒药品和医疗机构制剂的产品信息
收藏
登录后参与评论
暂无评论