
12月11日,正大天晴子公司连云港润众制药的司美格鲁肽注射液上市申请获受理,注册分类为3.3类。

至此,国内申报司美格鲁肽仿制上市的企业已集齐10家,按时间分别为:九源基因、丽珠集团、华东医药、齐鲁制药、联邦制药、惠升生物、石药集团、成都倍特、复星万邦、正大天晴。

12月11日,正大天晴子公司连云港润众制药的司美格鲁肽注射液上市申请获受理,注册分类为3.3类。

至此,国内申报司美格鲁肽仿制上市的企业已集齐10家,按时间分别为:九源基因、丽珠集团、华东医药、齐鲁制药、联邦制药、惠升生物、石药集团、成都倍特、复星万邦、正大天晴。
| 企业名称 | 申报临床 | 批准临床 | 申请上市 | 批准上市 | 一致性评价 |
|---|
从注册分类来看,只有齐鲁和石药的司美格鲁肽是按照化药改良新药2.2类申报,其它几款药都是按照生物类似药3.3类申报。
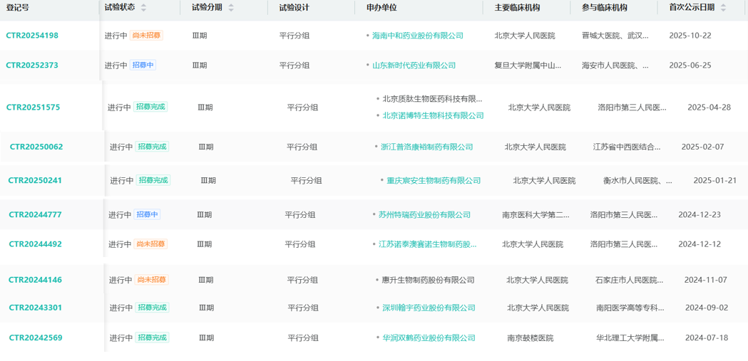
此外,还有10款国产司美格鲁肽注射液已经进入到了临床III期阶段,来自质肽生物、华润双鹤、翰宇药业等多家药企。

近期国内围绕司美格鲁肽的研发动态频繁,有好有坏。
12月2日,CDE显示,上海世领的司美格鲁肽鼻喷雾剂IND申请已暂停,IND暂停原因通常与资料补充不达要求有关。
将司美格鲁肽改良成吸入制剂本身就具有高难度,诺和诺德也曾开发GLP-1吸入剂(NN9924),但因生物利用度低和咳嗽副作用终止。辉瑞探索过 Exubera(胰岛素吸入剂)技术转化,但未成功推广,足见其难度。
改良剂型“失败”,对司美格鲁肽的继续研究似乎陷入了停滞。
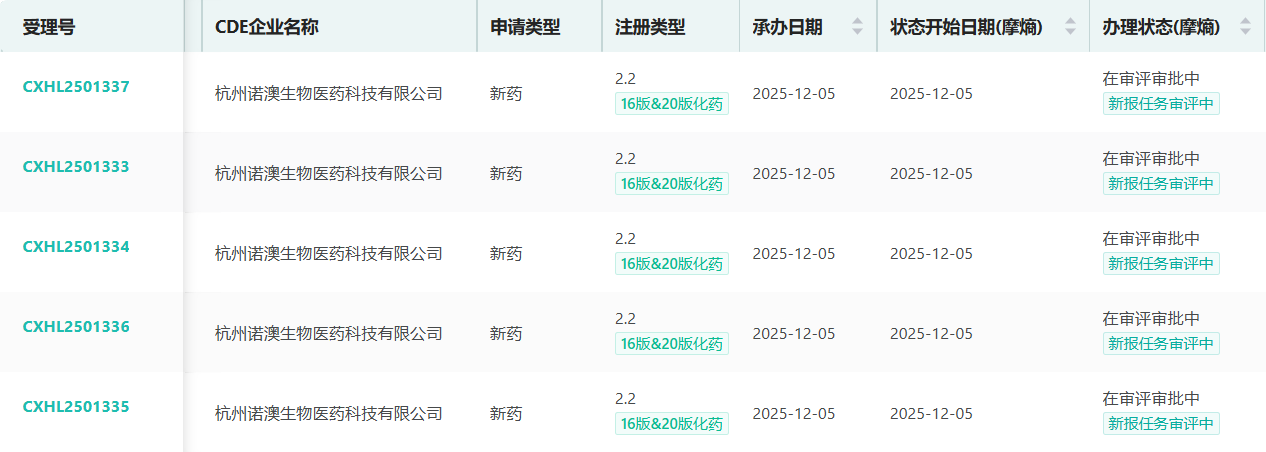
而与此同时,国内对司美格鲁肽已上市剂型的仿制竞争正如火如荼进行着,就在鼻喷剂IND暂停3天后,杭州诺澳生物司美格鲁肽片剂申报了IND,成为国产首款司美格鲁肽片剂。

国产司美格鲁肽再次被局限在了已上市的剂型,片剂和注射剂,尤其是注射剂,国内已是第十家申报上市。
就在3天前,石药集团宣布,公司已提报的司美格鲁肽注射液第二项减重适应症的上市申请被受理。
国内如此密集的申报,企业铆足了劲,势必要在司美格鲁肽2026年3月专利到期后拼出一个好结果。
在制剂端推进的同时,原料药端的竞争同样迅速扩张。
从CDE备案情况来看,齐鲁制药、基诺厚普、同达药业、健翔生物、诺泰奥赛诺、苏州天马、中和药业共7家企业完成或正在推进相关原料药的注册申报。
再从产能配备情况来看,截至2025年,国内已有超30家企业完成或规划相关产线布局,涵盖化学合成、固相多肽合成(SPPS)、发酵法等多种技术路径。
根据公开信息梳理,当前国内产能可划分为三大梯队,整体呈现“头部领跑、中游扩产、长尾跟进”的格局。
表:国内司美格鲁肽原料药现有产能及规划产能情况




普利制药、圣诺生物、翰宇药业以及诺泰生物是目前行业内产能规划的“领头羊”。根据其已公布数吨级以上的庞大产能规划,目标直指规模化与成本优势,是未来市场供应的主力军。
普利制药12吨/年产能已进入试生产,规划进一步扩展至50吨/年;圣诺生物的新项目建成后预计具备10吨级多肽原料药产能;翰宇药业计划在2025年将司美格鲁肽产能提升至5–10吨/年;诺泰生物则凭借单线2.25吨/年+0.5吨/年的已建产能,在投产进度上领先。
第二梯队包括药明康德(规划至10万升反应釜体积)、凯莱英(年底达4.4万升)以及健元/健翔、奥锐特、瑞德林等数吨级扩产企业;丽珠集团、中肽生化、华海/赛奥等企业产能集中在1–2吨区间。
总体来看,普利、圣诺、翰宇、诺泰、药明康德五家企业合计规划产能已超过20吨/年,占披露总量七成以上,产能向头部快速集中。
此外,还有部分企业以百公斤级产能入局,更多承担技术验证、特色中间体或特定客户供给角色,包括博瑞医药、信立泰、美药星、湃肽生物、中美华东等,产能在100–600公斤之间。九洲药业、昂博医药、常州制药厂则在发酵法、固相合成、中间体等特定技术路线形成差异化布局。
整体来看,国内产能扩张呈多技术路线并行态势,从固相合成到普利制药的发酵法、常州制药厂的固态合成均在推进,未来的成本结构、质量稳定性与一致性评价将成为竞争关键。
在产品协同方面,部分企业尝试通过共线策略提升灵活性,例如翰宇药业明确其司美格鲁肽与替尔泊肽、利拉鲁肽共线生产,以应对GLP-1类药物内部的需求波动。丽珠集团、九源基因等企业则同时布局原料药与制剂,逐渐形成覆盖上游至下游的全链竞争力。
然而,庞大的产能规划最终需要市场的消化。
在专利壁垒、仿制药上市进度以及实际生产成本等多重变量下,这些产能在多大程度上转化为实实在在的订单与业绩?还有待观察。
参考来源:
[1] 摩熵医药(原药融云)数据库
[2] 药事纵横
[3] 干粉吸入制剂
[4] 药物递送
[5] 医药投资部落
扩展阅读:
1. 华东医药的司美格鲁肽注射液体重管理适应症IND获NMPA批准!
2. 2025年全球畅销药TOP50::诺和诺德司美格鲁肽166亿美元登顶,礼来替尔泊肽147亿美元紧追
3. 重磅GLP-1类糖尿病新药,又一药企布局司美格鲁肽生物类似药!
想要解锁更多药物研发信息吗?查询摩熵医药(原药融云)数据库(vip.pharnexcloud.com/?zmt-mhwz)掌握药物基本信息、市场竞争格局、销售情况与各维度分析、药企研发进展、临床试验情况、申报审批情况、各国上市情况、最新市场动态、市场规模与前景等,以及帮助企业抉择可否投入时提供数据参考!注册立享15天免费试用!

325
2023年01月26日 00:00
收藏
登录后参与评论
暂无评论