近日,正大天晴递交的3.3类新药司美格鲁肽注射液临床申请获CDE受理,该药是一款GLP-1类糖尿病新药。据药融云数据库,目前国内已有多家企业布局司美格鲁肽生物类似药,最高已推进到临床三期,国产首家待决出。与此同时,正大天晴还有多款糖尿病新药正在布局中。

截图来源:CDE官网
一、重磅GLP-1类糖尿病新药,持续爆火,销售额破百亿!
司美格鲁肽(semaglutide)原研产品由诺和诺德开发,是一款人胰高血糖素样肽-1(GLP-1)类似物,以葡萄糖浓度依赖性机制促胰岛素分泌并抑制胰高血糖素分泌,可使2型糖尿病患者血糖水平大幅改善,并且低血糖风险较低。此外,semaglutide还能够通过降低食欲和减少食物摄入量,诱导减肥。除此之外,semaglutide还能够显著降低2型糖尿病患者重大心血管事件(MACE)风险。
司美格鲁肽一经上市便引爆市场,美国、欧洲、中国等无一例外出现阶段性断货现象。2022年司美格鲁肽全球销售额便已高达109亿美元,与2021年的61亿美元相比,增长高达78%,成为首个年销售额破百亿的GLP-1类糖尿病新药。
2023年Q1,司美格鲁肽三个剂型合计贡献了42.4亿美元,占诺和诺德总收入超53%,其中,两款降糖药均实现了大幅增长:司美格鲁肽注射液Ozempic销售额为196.40亿丹麦克朗(29.1亿美元,同比大涨63%);司美格鲁肽片Rybelsus销售额为43.56亿丹麦克朗(约6.5亿美元,同比大涨111%)。
二、专利到期在即,司美格鲁肽生物类似药研发火热,国产首家花落谁手?
2021年4月,GLP-1类糖尿病新药司美格鲁肽原研首次在中国获批上市,批准司美格鲁肽注射液0.5毫克、1毫克预充注射笔用于辅助饮食和运动以改善2型糖尿病(T2DM)患者的血糖控制。2021年12月3日,据国家医保局公告,诺和诺德生产的司美格鲁肽注射液被纳入《国家基本医疗保险、工伤保险和生育保险药品目录(2021年)》。医保谈判后,1.5毫升的降至478元/支,3毫升的降至890元/支。
据药融云数据库统计,2022年司美格鲁肽在我国院内销售额暴涨,一举突破十亿大关。据诺和诺德财报,在中国市场,诺和诺德2022年和2023年Q1所占的GLP-1市场份额均在65%左右,其中,司美格鲁肽2023年Q1销售额达到8.7亿元。

截图来源:药融云全国医院销售数据库
诺和诺德特别看重该GLP-1类糖尿病新药,对于在中国市场的期望远不止于此。6月初,诺和诺德递交了司美格鲁肽注射液新适应症的上市申请并获受理,此次新适应症为作为低卡路里饮食和增加体力活动的辅助治疗用于初始体重指数(BMI)≥30kg/m2(肥胖),或≥27kg/m2且<30kg/m2(超重)并且伴有至少一种与超重相关合并症的成人患者。如若顺利获批,则意味着中国患者也能用上“减肥针”。
另外,司美格鲁肽化合物专利在国内将于2026年到期,这便给了国内药企机会。
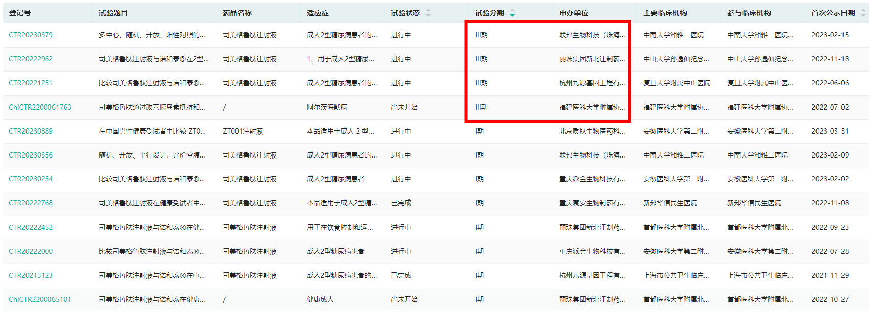
经药融云数据库查询显示,目前国内已有多家企业加入了司美格鲁肽生物类似药开发竞赛中,其中华东医药、丽珠医药和联邦制药进展最快,已将产品推至三期临床,或将拿下国产首家。
司美格鲁肽生物类似药国内药企临床开展情况(部分,完整内容请登录“药融云数据库www.pharnexcloud.com/?mh”查看)

截图来源:药融云中国临床试验数据库
此外,除了本次申报临床的正大天晴药业外,还有惠升生物、江苏万邦生化、北京质肽生物、重庆宸安生物等药企递交了司美格鲁肽生物类似药的临床申请,齐鲁制药、石药集团中奇制药递交了化药司美格鲁肽注射液的临床申请,部分药企已获临床默示许可。
三、专注糖尿病新药,正大天晴持续加码
在糖尿病治疗领域,除了本次申报临床的司美格鲁肽生物类似药,正大天晴还布局有利拉鲁肽注射液、德谷胰岛素注射液、注射用AP026、TQ-F3083等多个糖尿病新药。

数据来源:药融云数据库
参考来源:
[1] CDE官网
[2] 药融云数据库
想要解锁更多药物研发信息吗?查询药融云数据库(vip.pharnexcloud.com/?zmt-mhwz)掌握药物基本信息、市场竞争格局、销售情况与各维度分析、药企研发进展、临床试验情况、申报审批情况、各国上市情况、最新市场动态、市场规模与前景等,以及帮助企业抉择可否投入时提供数据参考!注册立享15天免费试用!

<END>








川公网安备51019002008863号
本网站未发布麻醉药品、精神药品、医疗用毒性药品、放射性药品、戒毒药品和医疗机构制剂的产品信息
收藏
登录后参与评论
暂无评论