
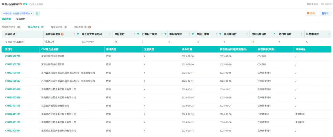
7月30日,据国家药品审评中心(CDE)官网最新公示信息,深圳立健药业有限公司按化药注册分类4类申报的头孢托仑匹酯颗粒上市申请已正式获得受理,有望打破原研药长期垄断的市场格局。

截图来源:CDE官网
头孢托仑匹酯是由日本明治制果与TAP公司联合开发的第三代头孢类抗菌药,堪称抗菌界的“明星选手”,1994年首先以片剂形式在日本上市(商品名:Meiact MS),2001年进入美国市场,2005年获欧盟批准,目前已在全球27个国家上市。其颗粒剂型于1998年在日本获批,2009年扩展至成人吞咽障碍患者使用。作为针对敏感菌感染的广谱抗生素,该产品适用于浅表性皮肤感染、肺炎、中耳炎、鼻窦炎、膀胱炎等多种适应症,通过抑制细菌细胞壁合成发挥抗菌作用,对葡萄球菌属、链球菌属、肺炎链球菌等常见病原菌具有强效活性,尤其对耐药菌株(如青霉素耐药肺炎链球菌)表现出显著优势。

截图来源:摩熵医药全球药物研发数据库
原研企业明治制果的头孢托仑匹酯颗粒于2016年进入中国市场,2021年通过国家医保谈判进入医保目录(限儿童使用)。据摩熵医药数据库显示,2024年全国医院(全终端)市场销售额突破2亿元,增长率高达81.42%,市场潜力显著。然而截至目前,国内尚无仿制药获批,由原研独占国内市场。









川公网安备51019002008863号
本网站未发布麻醉药品、精神药品、医疗用毒性药品、放射性药品、戒毒药品和医疗机构制剂的产品信息
收藏
登录后参与评论
暂无评论