
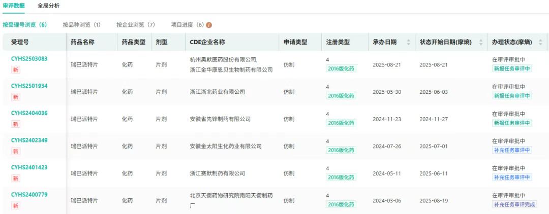
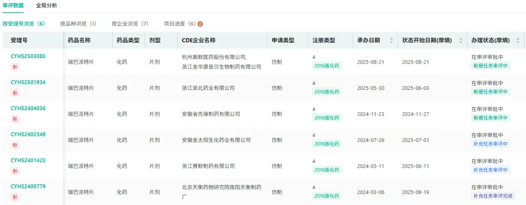
8月21日,CDE官网显示,杭州奥默医药与浙江金华康恩贝生物制药按4类仿制化药联合申报的瑞巴派特片上市申请已获受理。该药2024年院内销售额近8.5亿元,并成功入选第十一批国家集采,众多企业“光脚”抢滩。

截图来源:CDE官网
瑞巴派特(Rebamipide)是一种新型的胃粘膜保护剂,用于治疗胃溃疡、胃炎、消化性溃疡和炎症性肠疾病。其由大冢制药开发,最早于1990年获PMDA批准上市,全球上市时间已超30年,是治疗与胃酸分泌相关疾病的药物畅销产品。

截图来源:摩熵医药全球药物研发数据库
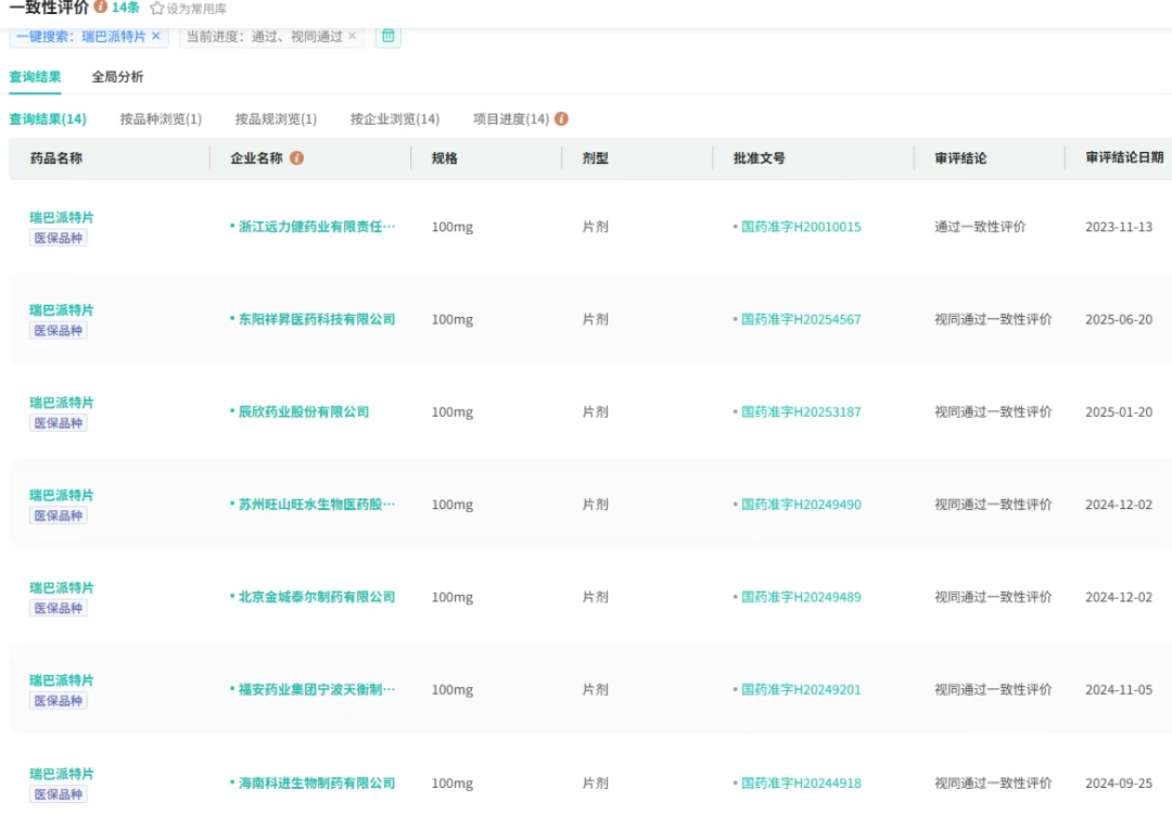
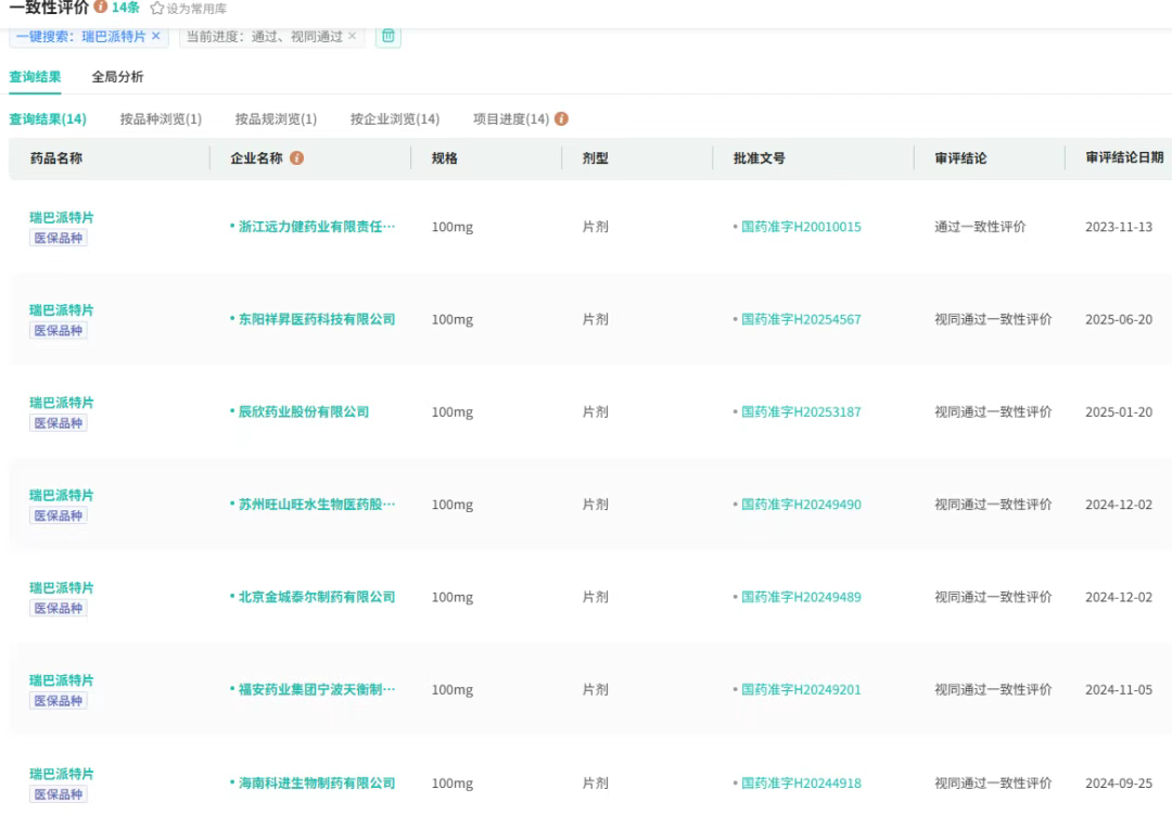
瑞巴派特片于1998年1月引入中国,商品名为“膜固思达”,由浙江大冢制药生产和销售,目前为我国医保乙类品种。在我国院内市场,该药品销售额整体保持平稳上涨趋势。其累计销售额已达56.58亿元;2024年为8.49亿元,同比递增8.42%。














川公网安备51019002008863号
本网站未发布麻醉药品、精神药品、医疗用毒性药品、放射性药品、戒毒药品和医疗机构制剂的产品信息
收藏
登录后参与评论
暂无评论