
随着巴以冲突升级,以色列这个国家在公众视野中占据了越来越多的位置。尽管面临地区政治紧张的局面,以色列由强大的学术支撑、世界一流的研究设施和非常高的研发投入所驱动,仍然在制药和生物技术行业保持着超水平发挥。
以色列的制药和生物技术市场以高研发支出和令人印象深刻的国际影响力而享誉全球,拥有世界一流的出口数量和不断增长的市场价值。尤其是仿制药事业稳步上升大大驱动了以色列每年向世界各地市场的出口,本文将汇总以色列药企排名TOP10,使大家了解这个仿制药出名的国家的药企以及其业绩和主要业务领域。

1. Teva Pharmaceutical

仿制药巨头Teva Pharmaceutical成立于1901年,总部位于以色列彼尔谷。该公司是全球最大的非专利药制造商和全球第二大药品制造商。Teva既有的优势业务包含中枢神经系统和呼吸系统两大核心领域,在此基础上不断延伸和丰富仿制药和专科药产品线,特别是复杂和高壁垒产品。
Teva2022年全年业绩显示:营收149.25亿美元,同比下滑6%;销售成本79.52亿美元,毛利润69.73亿美元,同比下降8.18%;研发投入8.38亿美元,占总营收的5.61%,相比去年下降0.4%,也几乎没有明显改变。销售和市场费用22.65亿美元,占总营收的15.18%,管理费用11.80亿美元,占总营收的7.91%,与去年同期基本一致。

11月8日,Teva发布2023Q3业绩:前三季度共营收113.89亿美元,同比增长3%,其中Q3营收38.5亿美元,同比增长7%,收入的增加得益于AUSTEDO ®在北美地区和AJOVY ®在全球地区的稳定增长以及仿制药业务在美国、欧洲和国际市场的持续稳定增长;2023年全年收入展望从150亿~ 154亿美元调整至151亿~ 155亿美元。Teva预计,目前以色列的局势对该公司的业务和业绩不会产生实质性的影响,并称已为关键产品制定了备用生产地的应急计划。

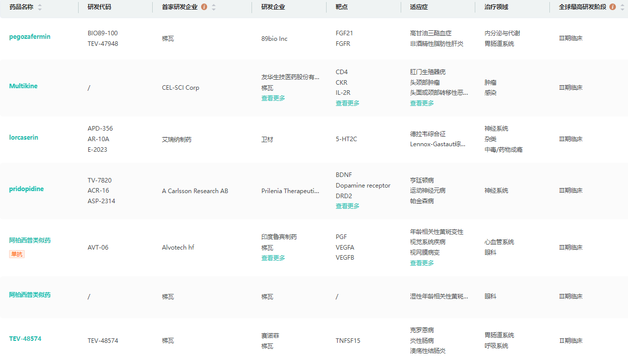
Teva目前有两款产品处于临床3期,两款产品处于临床2期,两款产品处于临床1期,五款产品处于临床前研发阶段。
研发管线(部分)

截图来源:药融云全球药物研发数据库
2. Perrigo

Perrigo成立于1887年,总部位于以色列内蓬。该公司是一家全球化的制药公司,其主要业务领域包括消费者健康、消费品、动物保健和制药等领域。
Perrigo2022年全年业绩显示:净销售额44.52亿美元,同比增长7.5%,净销售额的增长主要得益于收购HRA以及收购美国和加拿大 GoodStart® 婴儿配方奶粉品牌带来的2.6亿美元净销售额;约1.56亿美元的战略定价行动和全球品类增长以及美国品牌和商店品牌份额的增加。报告毛利率为33.1%,与去年同期相比增长了30个基点。

11月7日,Perrigo发布2023Q3业绩:前三季度净销售额35亿美元,同比增长6.1%,主要原因是收购Gateway带来的1.888亿美元增长,约1.64亿美元的战略定价行动,以及CSCA和CSCI分部内非处方药和口腔护理产品类别的销售量增加;毛利12.53亿美元,同比增长16.8%;营业收入1.68亿美元,同比增长249%,其中Q3净销售额11.24亿美元,同比增长2.1%;营业收入6210万美元,同比增长87.6%。

3.Taro Pharmaceutical

Taro Pharmaceutical是一家以色列公司,主要在北美和以色列生产和销售皮肤病药物。太阳制药已经拥有Taro超过78%的股份,并将以每股38美元的价格收购剩余股份。Taro的资产总额为13亿美元,公司拥有2.74亿美元的现金和短期银行存款。
Taro 2022年全年业绩显示:净销售额为5.73亿美元,同比增长2.07%;归母净利润2544.5万美元,同比下降56.33%;毛利润2.68亿美元,同比下降8.46%。研发投入52.24亿美元,相比去年下降4%。销售费用3.04亿美元,同比增加13.6%。

2023年10月26日,Taro发布2023Q3业绩:净销售额为1.48亿美元,同比增长13.6%,毛利润为7360万美元(占净销售额的49.7%),同比增长56.6%;研发费用1.43亿美元,同比增长24.3%,主要原因是临床研究增加。截至2023年9月30日的六个月,运营活动产生的净现金为5530万美元,同比增长46.7%。

4. Kamada

Kamada成立于1990年,总部位于以色列内蓬。该公司主要从事生物制药领域的研究和开发。其主要业务领域包括临床治疗和预防疾病、血液学和呼吸道疾病等领域。
Kamada2022年全年业绩显示:全年营收1.29亿美元,同比增加25%;毛利润和毛利率分别为 4670 万美元和36%,同比大幅增长。2022 财年达到 Kamada 历史上最高的年度运营现金流,达 2860万美元;CYTOGAM® 和 KEDRAB® 销售、GLASSIA® 特许权使用费、其他专利产品在国际市场的销售以及蓬勃发展的以色列分销业务等多重增长驱动力,使 2022 年业绩强劲。

11月13日,Kamada发布2023Q3业绩:2023年前三季度共营收1.06亿美元,同比增长26%,收入增加的主要原因是Kedrion的KEDRAB 销售额增加,该产品在美国市场的市场份额和需求增加。研发费用1069.4万美元,同比增长5%,主要是由于推进吸入式AAT 的关键性3期InnovAATe 试验。截至2023年9月30日,公司拥有现金、现金等价物和短期投资5,260万美元。

Kamada拥有一系列用于治疗罕见严重疾病的上市产品,在特种血浆衍生领域处于领先地位,专注于治疗替代疗法有限的疾病。公司还在推进针对重大未满足医疗需求领域的创新开发管线。公司的战略重点是利用其重要的商业催化剂,以及在血浆衍生产品和生物制药领域的生产和开发专长,推动利润增长。公司的商业产品组合包括六种获得 FDA 批准的血浆衍生生物制药产品:CYTOGAM®、KEDRAB®、WINRHO SDF®、VARIZIG®、HEPAGAM B® 和 GLASSIA®,以及 KAMRAB®、KAMRHO (D)® 和两种抗蛇毒 (ASV) 产品。
研发管线(部分)

截图来源:药融云全球药物研发数据库
5.UroGen Pharma

UroGen Pharma成立于2004年,公司总部位于新泽西州普林斯顿,并在以色列开展业务。UroGen 是一家生物技术公司,致力于开发和商业化治疗尿路癌和特殊癌症的创新解决方案,为患者提供更好的选择。UroGen开发了一种专有的创新技术平台RTGelTM,这是一种反向热缓释水凝胶,具有改善现有药物治疗效果的潜力。
UroGen 2022年全年业绩显示:总营收6436万美元,同比增长44%;毛利润5690万美元,同比增长32%;研发费用5291万美元,同比增长32%,主要归因于2022年较高的研究与开发费用,与UGN-102的III期ENVISION研究有关;销售费用8284万美元,同比下降5%。

UroGen候选研究产品处于尿路癌治疗开发的最前沿,目前有两款产品,涉及非肌肉浸润性膀胱癌(NMIBC)、泌尿肿瘤学中的单一疗法或联合疗法。UroGen 公司的首款商业产品和用于低级别非肌层浸润性膀胱癌患者膀胱内溶液的研究治疗药物 UGN-102(丝裂霉素)旨在通过非手术方式消融肿瘤。
研发管线(部分)

截图来源:药融云全球药物研发数据库
参考资料:
各公司官网
药融云数据库
<END>
要解锁更多企业药品研发信息吗?查询药融云数据库(vip.pharnexcloud.com/?zmt-mhwz)掌握药品各国上市情况、药品批文信息、销售情况与各维度分析、市场竞争格局、一致性评价情况、集采中标情况、药企申报审批信息、最新动态与前景等,以及帮助企业抉择可否投入时提供数据参考!注册立享15天免费试用!








川公网安备51019002008863号
本网站未发布麻醉药品、精神药品、医疗用毒性药品、放射性药品、戒毒药品和医疗机构制剂的产品信息
收藏
登录后参与评论
暂无评论