
近日,NMPA发布最新一批药品批准证明文件送达信息,其中,阿哌沙班片迎来3家药企同日获批上市,并视同通过一致性评价,分别是山东新时代药业、杭州民生药业和天地恒一制药。据药融云数据统计,目前阿哌沙班片还有4家企业提交了仿制申请,均在审评审批中。

截图来源:NMPA官网
阿哌沙班片原研药(Eliquis®艾乐妥)由百时美施贵宝与辉瑞联合研发,是一种口服有效的、可逆的、高选择性的直接Xa因子抑制剂,适用于髋关节或膝关节择期置换术的成年患者,预防静脉血栓栓塞事件(VTE)。于2011和2012年在欧洲和美国上市,用于患者术后静脉血栓栓塞症(VTE)预防及房颤患者脑卒中预防。2013年 1 月在中国上市。阿哌沙班片在2020年则为141.17亿美元,2021年的销售额为167.32亿美元,2022年阿哌沙班全球销售额合计182.69亿美元。据药融云数据统计,阿哌沙班片在2020全国院内销售达到最高峰值,超8000万元,涨幅达112%。

截图来源:药融云全国医院销售数据库
在2022年全国TOP10企业中,中国制药以37%的市场份额超越原研百时美施贵宝,荣登榜首。在前五榜单中,国内药企占据5个席位,而百时美施贵宝未进入前5名单。

截图来源:药融云全国医院销售数据库-全局分析
据药融云数据统计,阿哌沙班片还有华润双鹤药业、安徽九洲方圆制药、山东鲁抗医药、山西兰花药业4家药企提交了仿制申请,均在审评审批中。
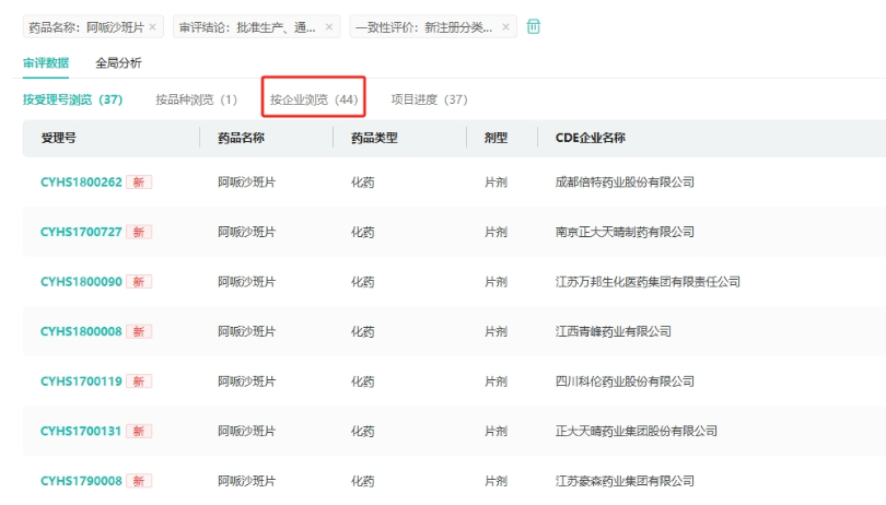
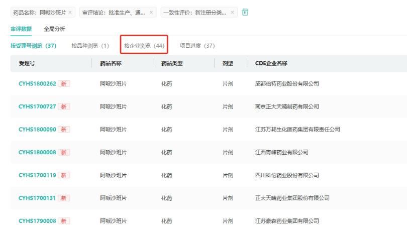
目前,阿哌沙班片已有南京海辰药业、南京正大天晴制药、四川科伦药业、成都倍特药业、江苏万邦生化等44家企业获批生产并视同过评。

截图来源:药融云中国药品审评数据库
三家企业,山东新时代药业领跑过评,除此次过评的阿哌沙班片,目前已有他达拉非片、盐酸替罗非班氯化钠注射液、奥利司他胶囊、盐酸表柔比星注射液等56个品种过评。
此外,杭州民生药业有吡嗪酰胺片 、盐酸右美托咪定注射液等18个品种过评,天地恒一制药17个品种过评。
<END>
要解锁更多企业药品研发信息吗?查询药融云数据库(vip.pharnexcloud.com/?zmt-mhwz)掌握药品各国上市情况、药品批文信息、销售情况与各维度分析、市场竞争格局、一致性评价情况、集采中标情况、药企申报审批信息、最新动态与前景等,以及帮助企业抉择可否投入时提供数据参考!注册立享15天免费试用!








川公网安备51019002008863号
本网站未发布麻醉药品、精神药品、医疗用毒性药品、放射性药品、戒毒药品和医疗机构制剂的产品信息
收藏
登录后参与评论
暂无评论