
近日,NMPA连续发布2批药品批准证明文件送达信息,其中,辰欣药业大丰收,共有3款品种迎来最新仿制药过评,分别是依诺肝素钠注射液、缬沙坦氨氯地平片(I)和甲钴胺片。至此,辰欣药业共有17个品种(21品规)过评/视同过评。



截图来源:NMPA官网
21亿抗凝血药物
依诺肝素钠注射液属于低分子肝素,主要用于抗凝、抗血栓等症状的治疗,用于防治血栓形成或栓塞性疾病。在低分子肝素抗凝剂中,依诺肝素钠注射液属于主力品种,其近年来的销售市场持续扩张,销售额稳定增长。据药融云统计,原研赛诺菲的依诺肝素钠2021年在全球的销售额达18亿美元,同比增长了21.49%。反观国内市场,形势也一片大好,依诺肝素钠注射液2021年在院内的销售额达21亿元,同比增长了16.9%。
依诺肝素钠注射液院内销售情况

图片来源:药融云全国医院销售数据库
根据药融云数据库显示,目前国内有10余家药企获批生产依诺肝素钠注射液。在一致性评价方面,加上此次最新仿制药过评的辰欣药业(《重磅低分子肝素抗凝剂!2品种最新通过仿制药一致性评价》),现已有深圳天道医药(首家过评)、山东新时代药业等8家药企过评。其中,2021年在国内销售市场上较为领先的有深圳市天道医药(15.22%)、南京健友生化(12.58%)和常山生化制药(6.08%)。
2021年依诺肝素钠注射液院内销售生产企业TOP10
图片来源:药融云全国医院销售数据库
10亿降压药
缬沙坦氨氯地平片(I)原研由诺华研发,适用于缬沙坦单药治疗或者氨氯地平单药治疗未能充分控制血压的患者。据药融云统计,缬沙坦氨氯地平片(I)近年来在我国院内市场的销售峰值超15亿人民币,2021年有所下滑,其中诺华制药(74.83%)为市场主力生产企业,之后依次为花园药业(15.37%)、恒瑞医药(6.19%)、百奥药业(3.6%)等。今年前2个季度的销售情况也不太理想,预估全年销售额在9亿元左右。
缬沙坦氨氯地平片(I)院内销售情况(微信搜索"药融云小程序"查看更多维度数据分析)

截图来源:药融云全国医院销售数据库
亿元维生素B12贫血药
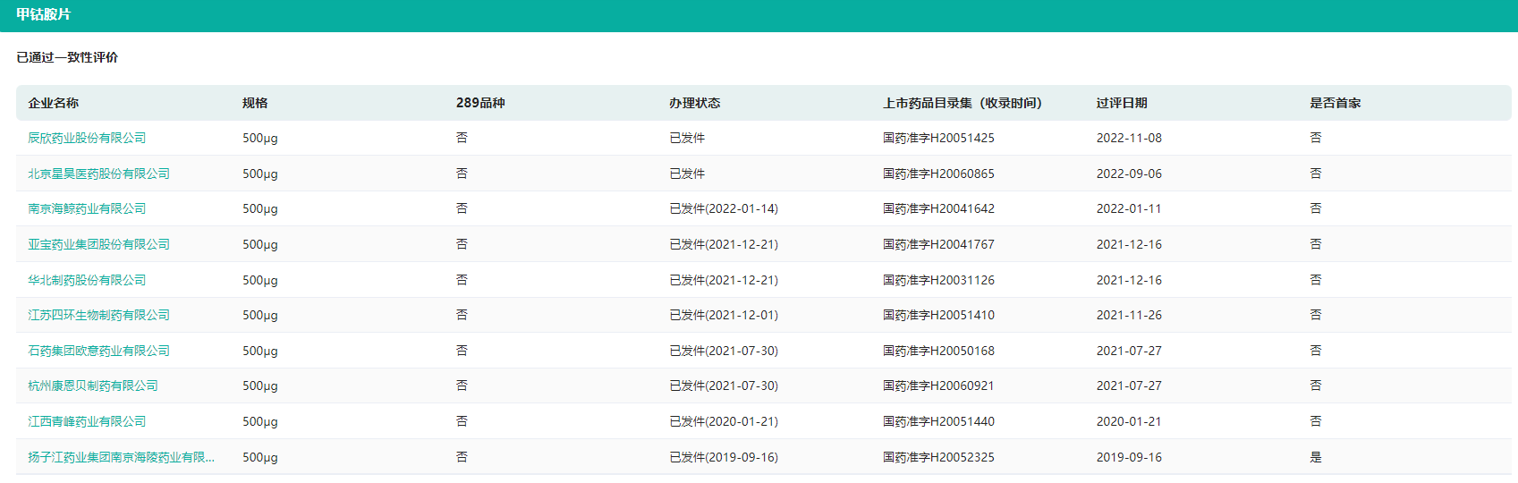
甲钴胺片通常用于治疗周围神经病和缺乏维生素B12导致的巨红细胞性贫血,该药在我国院内的销售峰值曾达到近十亿,近两年出现暴跌,2021年院内销售额仅不到5亿,市场主要由卫材占领,其次是青峰药业领衔国内药企。截至目前,共有10家药企陆续拿下仿制药过评,其中扬子江药业集团南京海陵药业于2019年9月斩获甲钴胺片国内首家。
甲钴胺片仿制药过评情况

截图来源:药融云一致性评价数据库
参考来源:
[1]NMPA官网
[2] 药融云数据库
想要解锁更多仿制药信息吗?查询药融云数据库(vip.pharnexcloud.com/?zmt-mhwz)掌握仿制药国内市场格局、上市情况、一致性评价、销售情况与各维度分析、企业申报情况、国家审批最新进展、集采情况、价格信息、市场规模与前景等,以及帮助企业抉择可否投入时提供数据参考!注册立享15天免费试用!

—END—







川公网安备51019002008863号
本网站未发布麻醉药品、精神药品、医疗用毒性药品、放射性药品、戒毒药品和医疗机构制剂的产品信息
收藏
登录后参与评论
暂无评论