
近日,NMPA发布最新一批药品批准证明文件送达信息,其中,吸入用乙酰半胱氨酸溶液迎来2家药企同日获批上市,并视同通过一致性评价,分别是津药和平(天津)制药、北京京沈医药。据药融云数据统计,该品种在2022年全国院内销售超20亿元。

截图来源:NMPA
吸入用乙酰半胱氨酸溶液主要用于治疗浓稠黏液分泌物过多的呼吸道疾病,如急性支气管炎、慢性支气管炎及其病情恶化者、肺气肿、黏稠物阻塞症以及支气管扩张症。据药融云数据统计,该品种在2022年全国医院销售表现卓越,销售额超20亿元。2023年(截止Q3)院内销售额超16亿元,表现依然强劲。

截图来源:药融云全国医院销售数据库
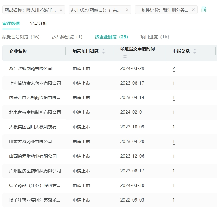
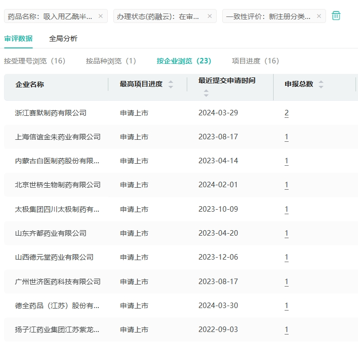
目前吸入用乙酰半胱氨酸溶液由原研企业赞邦占据半壁江山。仿制药布局方面,国内有扬子江药业、浙江康恩贝制药、山东齐都药业、太极集团四川太极制药等超20家药企提交了仿制申请,均在审评审批中。

截图来源:药融云中国药品审评数据库
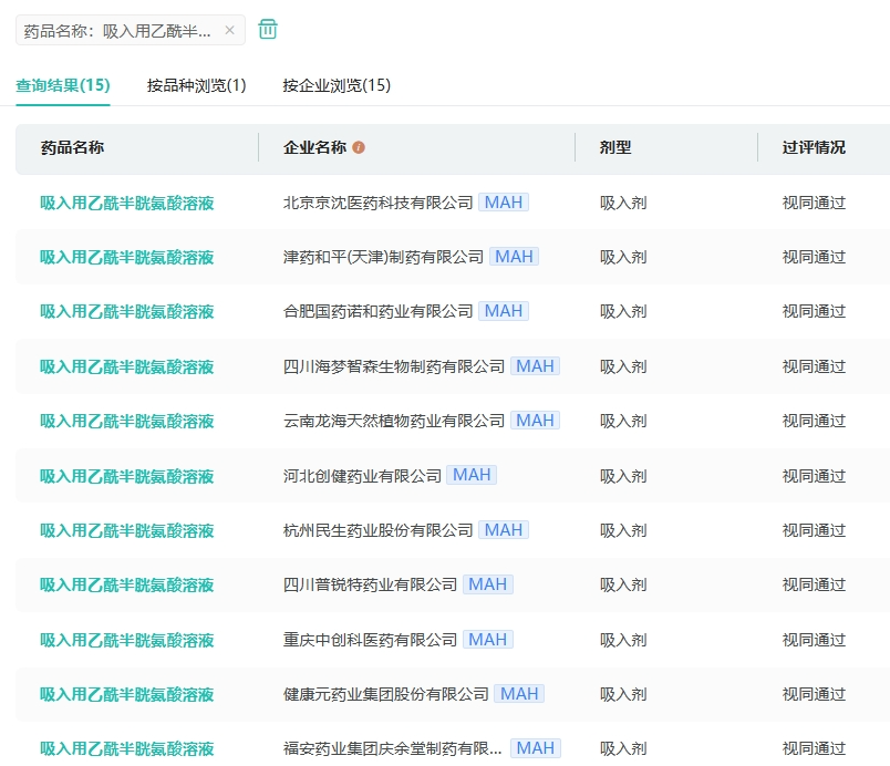
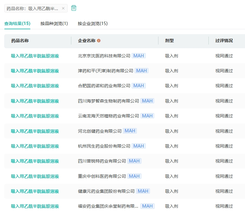
除此次获批并过评的2家药企,吸入用乙酰半胱氨酸溶液目前还有健康元药业、江苏康缘药业、河北仁合益康药业等13家药企过评。该品种竞争企业数量(原研+过评)已达到5家及以上,是国采十批中竞争尤为激烈的品种之一,市场角逐日趋白热化。

截图来源:药融云过评药品汇总数据库
在仿制药布局领域,津药和平(天津)制药提交了地塞米松磷酸钠注射液、注射用氢化可的松琥珀酸钠、酒石酸布托啡诺注射液等24个品种的仿制申请,均在审评审批中。
目前津药和平(天津)制药已有吸入用乙酰半胱氨酸溶液、盐酸甲氧氯普胺注射液2个品种过评。
<END>
要解锁更多企业药品研发信息吗?查询药融云数据库(vip.pharnexcloud.com/?zmt-mhwz)掌握药品各国上市情况、药品批文信息、销售情况与各维度分析、市场竞争格局、一致性评价情况、集采中标情况、药企申报审批信息、最新动态与前景等,以及帮助企业抉择可否投入时提供数据参考!注册立享15天免费试用!








川公网安备51019002008863号
本网站未发布麻醉药品、精神药品、医疗用毒性药品、放射性药品、戒毒药品和医疗机构制剂的产品信息
收藏
登录后参与评论
暂无评论