
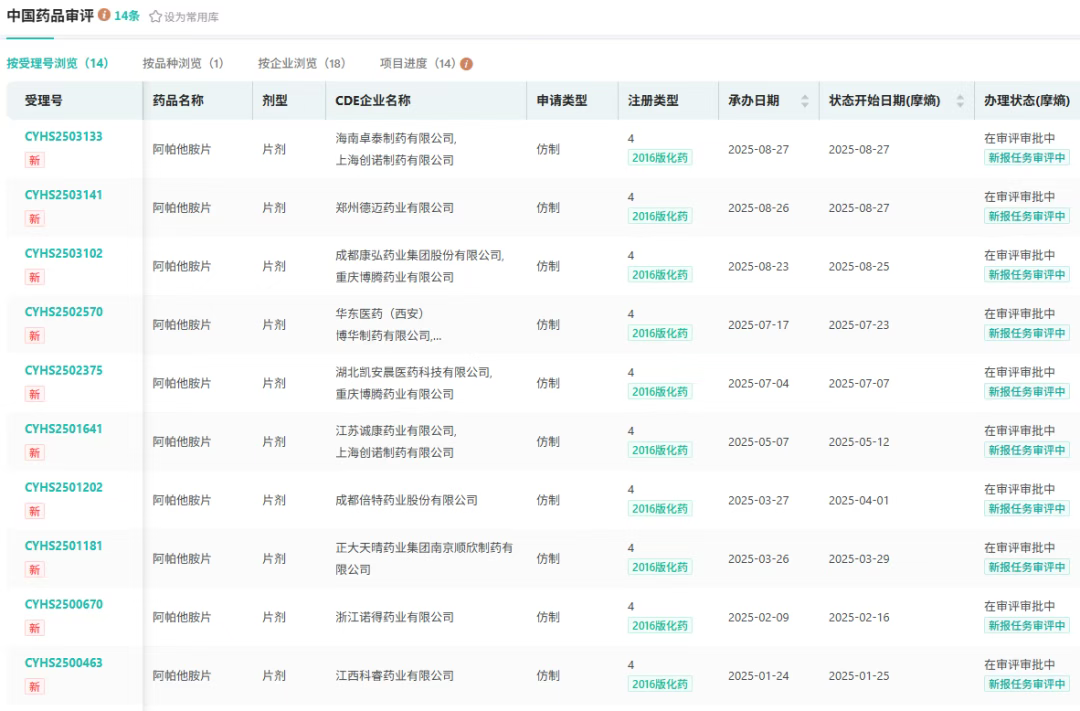
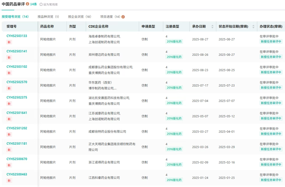
8月27日,CDE官网显示,海南卓泰制药与上海创诺制药按4类化药联合申报的阿帕他胺片上市申请已获受理。2024年,该药物全球销售额近30亿美元,在我国院内市场亦突破7亿大关。目前国产第四家席位正在激烈竞争中。

截图来源:CDE官网
阿帕他胺(apalutamide)是新一代的可口服的雄激素受体(AR)抑制剂,主要用于治疗非转移性去势抵抗性前列腺癌(nmCRPC),是全球首个针对该病症的治疗药物。

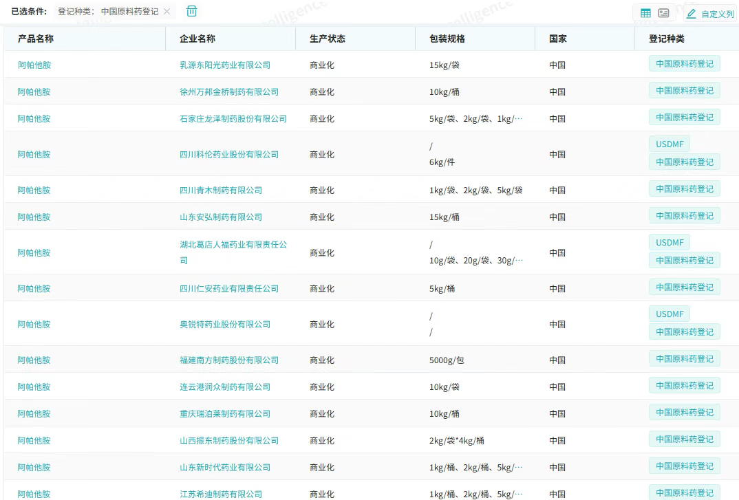
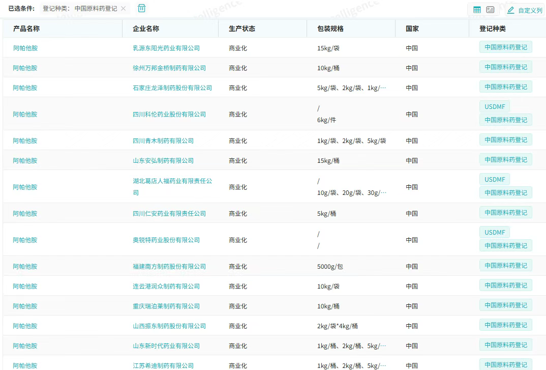
截图来源:摩熵医药全球药物研发数据库
该药最初由加利福尼亚大学研发,2009年授权Aragon独家开发;2013年Aragon被强生(Johnson)收购,强生旗下子公司杨森制药负责阿帕他胺的研制、上市、生产及销售,2018年首获FDA批准在美国上市。
据摩熵医药数据库显示,2023年阿帕他胺全球销售额超23亿美元,同比增长26.58%,2024年市场版图进一步扩张,销售额攀升至29.99亿美元,实现25.96%的同比增长 。

截图来源:摩熵医药全球药物研发数据库
阿帕他胺于2019年在中国获批上市,商品名为“安森珂”;2020年获批新适应症;2021年成功纳入国家医保乙类目录。医保加持下,其国内销售迎来爆发式增长,2024年全国院内销售额突破7.3亿元,同比增长11.62%,市场扩容迅速。















川公网安备51019002008863号
本网站未发布麻醉药品、精神药品、医疗用毒性药品、放射性药品、戒毒药品和医疗机构制剂的产品信息
收藏
登录后参与评论
暂无评论