
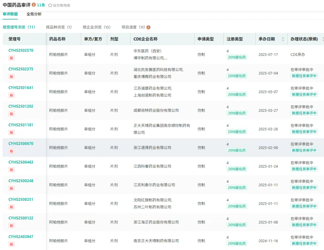
7月17日,CDE官网显示,华东医药旗下博华制药和中美华东联合提交了4类化学仿制药阿帕他胺片的上市申请,并获受理。华东医药将参与该产品国产第四家争夺。

截图来源:CDE官网
阿帕他胺是新一代的可口服的雄激素受体抑制剂,主要用于治疗非转移性去势抵抗性前列腺癌,为全球首个治疗非转移性去势抵抗性前列腺癌的药物。

截图来源:摩熵医药全球药物研发数据库
该药最初由美国加利福尼亚大学研制,2009年授权美国Aragon制药独家开发。Aragon于2013年被强生收购。此后,强生旗下子公司杨森制药负责该药的研发、上市及生产销售。
2018年,阿帕他胺片在美国获批上市。据摩熵医药数据库统计,2023年阿帕他胺全球销售额突破20亿美元,同比增长26.58%,2024年市场继续扩张,销售额已达29.99亿美元,同比递增25.96%。

截图来源:摩熵医药全球药物研发数据库
在国内,阿帕他胺于2019年获批上市,商品名“安森珂”,用于治疗有高危转移风险的非转移性去势抵抗性前列腺癌(NM-CRPC)成年患者,有效地弥补了国内前列腺癌临床治疗的缺口。
2021年纳入医保后,阿帕他胺进入高速放量阶段,销售额持续高涨。22年阿帕他胺院内销售近4亿元,同比增长达1982.9%,23年突破6亿大关,24年再增11.62%,达到7.34亿元,三年间实现从千万级到亿级市场的跨越式增长。










川公网安备51019002008863号
本网站未发布麻醉药品、精神药品、医疗用毒性药品、放射性药品、戒毒药品和医疗机构制剂的产品信息
收藏
登录后参与评论
暂无评论