从市场格局来看,吲哚布芬片的竞争态势正悄然改变。尽管中美华东制药在全国院内市场中仍以99.45%的市场份额高居榜首,但随着多家仿制药企入局,其长期独家垄断的格局正逐步转向多家企业分羹的局面。

截图来源:摩熵医药全国医院销售(全终端)数据库
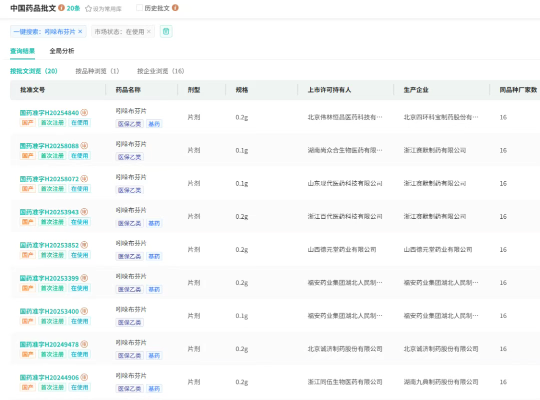
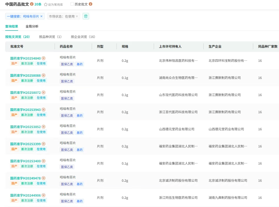
目前,国内有浙江赛默制药、湖南九典制药、山东鲁盛制药、杭州中美华东制药、福安药业等16家的吲哚布芬片生产批文在使用中。

截图来源:摩熵医药中国药品批文数据库
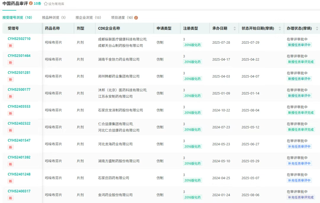
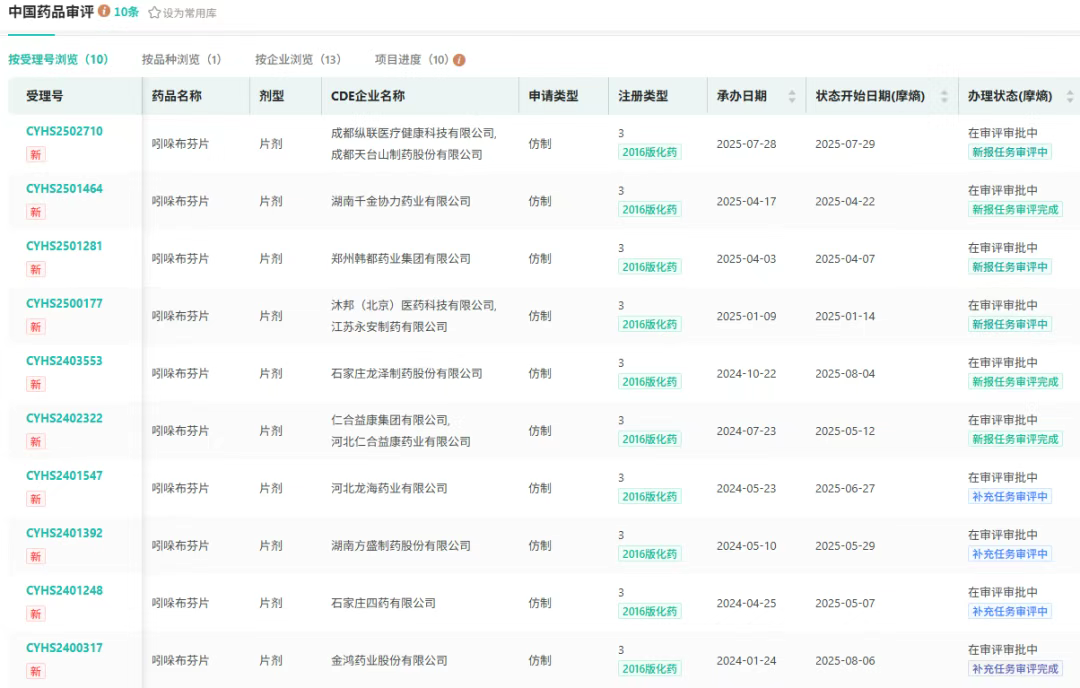
另有石家庄四药、仁合益康集团、河北龙海药业、湖南方盛制药等13家国内药企提交了3类注册仿制申请上市,均处于审评审批阶段。

截图来源:摩熵医药中国药品审评数据库
随着市场竞争的加剧,吲哚布芬片的专利纠纷问题也日益凸显,成为行业内不可忽视的焦点议题。截止目前,山东现代医药已经是第7家因专利纠纷被暂停销售吲哚布芬片的企业。
2024年9月,浙江美迪深生物率先因专利纷争被被暂停吲哚布芬片采购资格;2025年2月,湖南九典制药、浙江同伍生物两家企业因同样原因被暂停采购资格;7月,湖南尚众合生物、呋欧医药科技、山东鲁盛制药均被卷入其中。

截图来源:上海阳光医药采购网
之所以出现上述局面,源于中美华东制药围绕吲哚布芬布局了一系列晶型专利,这在业内被称为针对该药物的“专利丛林”。其中,核心专利“一种吲哚布芬晶型X和晶型D及其制备方法”已于2023年5月9日获得授权,保护期至2040年。

截图来源:摩熵医药中国医药专利数据库
随着心血管疾病发病率攀升与人口老龄化加剧,吲哚布芬片市场预计将持续增长。叠加基层医疗市场潜力逐步释放,该药拓展空间广阔。当前,中美华东制药依托其晶型专利,仍享有强劲的市场保护。
小结
吲哚布芬片的市场争夺与专利博弈,折射出医药行业创新保护与市场竞争的深层张力。这场围绕专利的较量或许还将持续,但最终无论是专利布局的坚守还是市场份额的再分配,都将推动行业在合规与创新的平衡中寻找更可持续的发展路径。
想要解锁更多药物研发信息吗?查询摩熵医药(原药融云)数据库(vip.pharnexcloud.com/?zmt-mhwz)掌握药物基本信息、市场竞争格局、销售情况与各维度分析、药企研发进展、临床试验情况、申报审批情况、各国上市情况、最新市场动态、市场规模与前景等,以及帮助企业抉择可否投入时提供数据参考!注册立享15天免费试用!

收藏
登录后参与评论
暂无评论