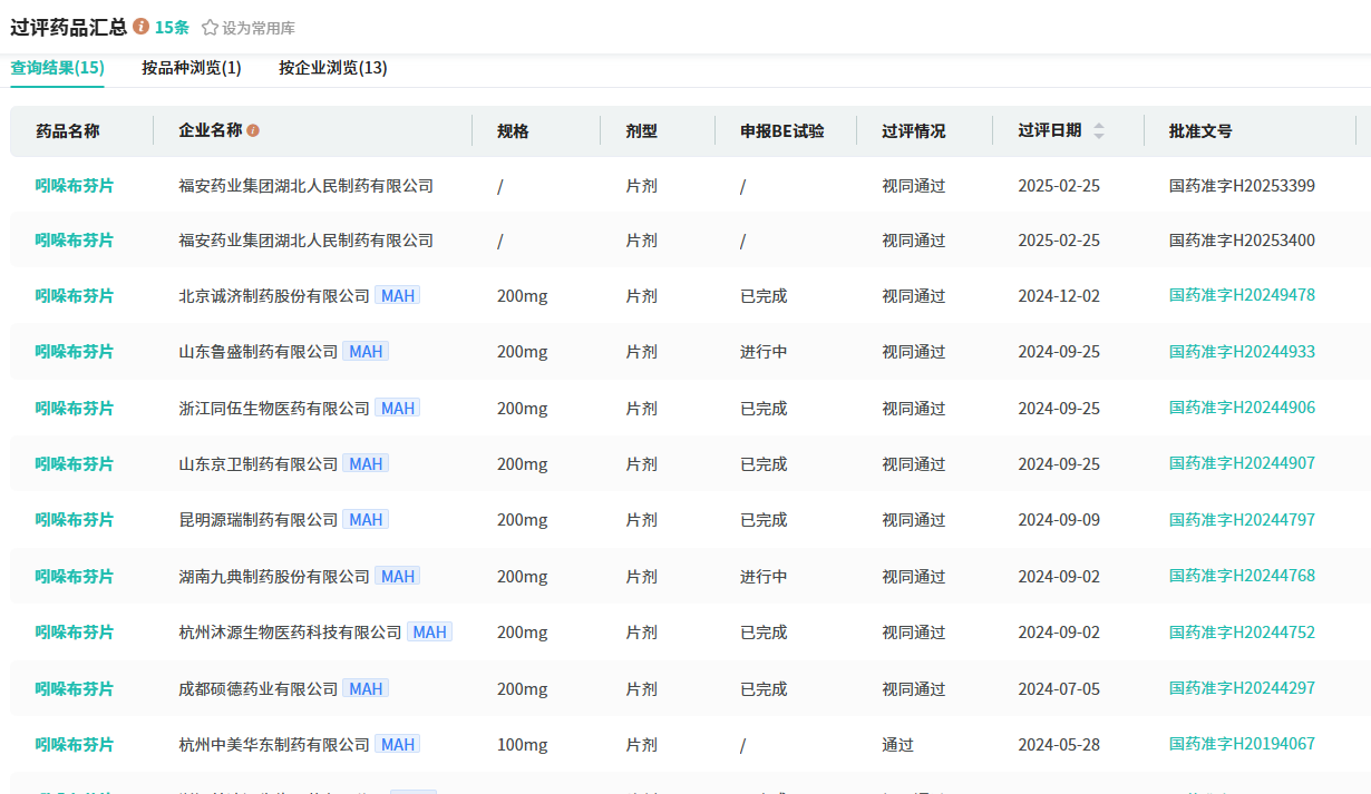
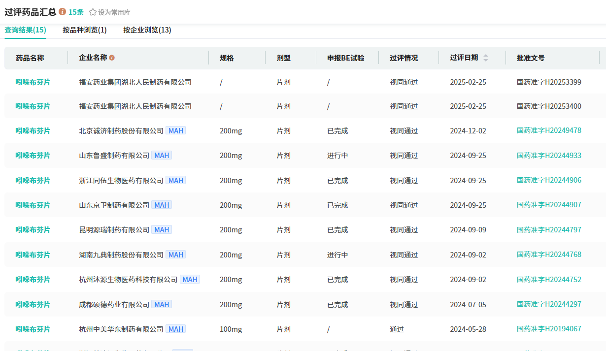
目前,吲哚布芬凭借卓越的临床疗效与显著的市场成绩,已有14家国内药企提交3类注册仿制申请上市,均处于审评审批阶段。在已通过评的企业中,福安药业集团于今年2月25日率先获得批准。除长期保持市场领先地位的中美华东制药外,另有超10家企业均在2024年过评,包括山东京卫制药、山东鲁盛制药、成都硕德药业、昆明源瑞制药、杭州沐源生物医药及湖南九典制药等。

截图来源:摩熵医药过评药品汇总数据库
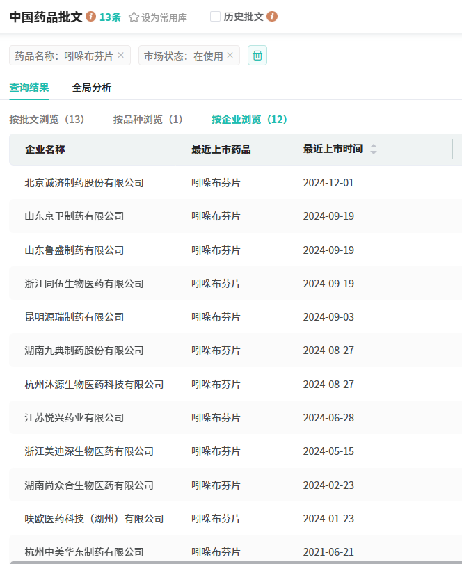
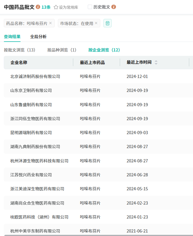
据摩熵医药数据库数据显示,尽管中美华东制药的吲哚布芬片在2024年全国院内市场中仍以99.97%的市场份额高居榜首,但随着多家新入局企业已通过评审,该产品的市场竞争格局也正悄然转变,由原先华东医药子公司中美华东的长期独家垄断,转变为多家企业分羹的局面。随着市场竞争的加剧,专利纠纷问题也日益凸显,成为行业内不可忽视的焦点议题。

截图来源:摩熵医药全国医院销售数据库
华东医药专利连环狙击,仿制药企不断面临挑战
吲哚布芬片,作为一款历经40年市场考验的药品,近年年销售额持续超十亿元,为华东医药贡献了可观的利润。为了持续延长这一成熟产品的市场竞争力,中美华东不仅积极发起专利诉讼,还为其申请了晶型专利保护。据国家知识产权局官网信息,中美华东制药已成功登记了相关专利,有效期将延续至2040年。此外,中美华东还构建了一系列专利组合,包括吲哚布芬药物组合物、晶型E及其制备方法等,形成了严密的专利壁垒。

截图来源:摩熵医药全球上市药品专利数据库
2024年9月,美迪深的吲哚布芬片因专利纠纷遭遇采购暂停,此次是中美华东第二次成功利用专利保护狙击竞争对手。这一举措导致九典制药和同伍生物医药两家企业的相关产品短期内面临市场份额损失,并可能波及到其他省份的销售。然而,尽管中美华东手握多项专利,但行业内对此似乎并不完全认同。随着吲哚布芬片的新批文仍不断涌现,诚济制药、悦兴药业等企业的同类产品相继获批上市,面对激烈的市场竞争,华东医药的专利狙击策略能否持续有效,尚存不确定性。

截图来源:摩熵医药中国药品批文数据库
收藏
登录后参与评论
暂无评论