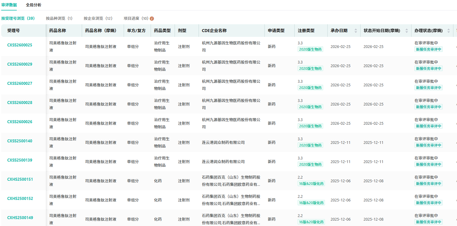
随着专利窗口的打开,国内企业正在加速布局。摩熵医药数据显示,截至目前,已有超过10家国内企业的司美格鲁肽产品申报上市。其中,齐鲁制药和石药集团以2.2类改良新药申报,其余企业大多按3.3类申报,一场围绕“国产司美格鲁肽”的研发与申报竞赛已全面展开。

查数据,找摩熵!图源:摩熵医药-中国药品审评数据库
二、倍特生物双线布局:糖尿病、减重市场两手抓
成都倍特生物是这场国产替代浪潮中的重要参与者。2025年9月,该公司已经递交了该产品用于改善2型糖尿病患者血糖控制的上市申请。此次肥胖适应症的申报,意味着其“糖尿病+减重”双赛道布局策略正式落地。

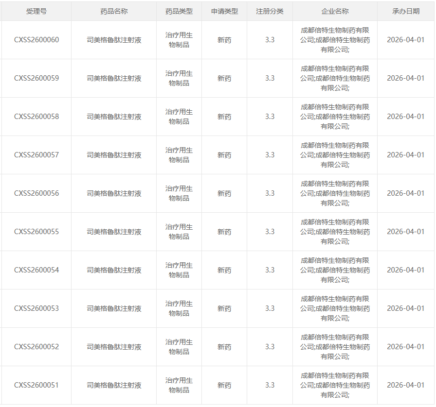
查数据,找摩熵!图源:摩熵医药-全球药物研发数据库
司美格鲁肽注射液是倍特药业首个申报上市的生物药。摩熵医药数据显示,2025年,生物药在全终端医院市场的销售规模已超过2300亿元,同比增长3.42%,潜力不容小觑。截至目前,倍特药业及子公司已上市的产品涉及化学药和中成药,暂无生物药获批,司美格鲁肽注射液有望为公司打开生物药市场大门。
倍特生物已完成两项关键III期临床研究,分别针对2型糖尿病和肥胖适应症。其中,针对肥胖的III期研究旨在评估其司美格鲁肽注射液与原研产品WEGOVY®在肥胖成年患者中作为生活方式干预辅助治疗的疗效相似性。
三、国产企业差异化竞争,产能竞赛同步打响
在适应症布局上,国产司美格鲁肽的首发适应症均为2型糖尿病,但部分企业已开始寻求差异化竞争。除2型糖尿病外,九源基因、石药和倍特生物还申报了肥胖适应症,丽珠集团则申报了糖尿病患者的心血管事件二级预防适应症,显示出国内企业正从单纯仿制向创新应用拓展。

查数据,找摩熵!图源:摩熵医药-中国药品审评数据库
早前,倍特药业已布局了5款生物药1类新药。其中,注射用HC010和BPR-101胶囊已在II期临床阶段,BPR-102胶囊在2025年5月首次获得临床批件,用于绝经后萎缩性阴道炎的治疗。BPR-101胶囊是一种采用乳杆菌及其代谢物的复方制剂,旨在恢复阴道健康微生态。2025年5月,该新药针对细菌性阴道病的II期临床已顺利完成。
收藏
登录后参与评论
暂无评论