中国市场是诺和诺德除美国外的第二大市场,也是全球减重药竞争最激烈的战场之一。然而,原研的“贵族”光环正被内外夹击削弱。
- 股价暴跌:过去五个交易日,诺和诺德股价累计跌超20%,近一月跌幅超44%,市值跌破1300亿美元,一周蒸发约350亿美元。
- 提前降价:2月24日,诺和诺德宣布自2027年起大幅下调美国司美格鲁肽价格——减重版Wegovy降50%,降糖版Ozempic降35%。
- 国内跟进:2月26日,青海药品采购中心下调口服司美格鲁肽片剂挂网价约20%;去年12月,诺和诺德已将“诺和盈”价格腰斩近50%,应对礼来的替尔泊肽的强势竞争。

截图来源:青海省药械集中采购网
摩熵医药数据显示,司美格鲁肽在2021年国内上市后销售额持续攀升,2024年国内全终端医院市场销售额超41亿元。但其价格从上市初期的超千元降至四年后的400元左右。自费市场上,礼来的替尔泊肽电商平台“2折促销”,与司美格鲁肽正面交锋,价格战或难避免。
三、国际巨头的新一轮围剿
诺和诺德的压力不只来自仿制药,还有礼来的猛烈攻势。
2月26日,礼来宣布其口服GLP-1RA Orforglipron在控糖和减重方面优于口服司美格鲁肽:
- 36mg组糖化血红蛋白降幅2.2%,高于口服司美格鲁肽14mg组的1.4%;
- 体重平均下降8.9kg,比口服司美格鲁肽的5.0kg高出73.6%。
礼来已向全球40多个国家的监管机构提交Orforglipron的上市申请,预计美国将于2026年第二季度就其肥胖适应症作出审批决定。
Fierce Pharma预测,Orforglipron在2032年销售额将达118亿美元,仅次于诺和诺德的下一代产品CagriSema(预测172亿美元)。
但2月23日,诺和诺德头对头试验显示:CagriSema治疗84周体重减轻23%,而替尔泊肽为25.5%。消息一出,诺和诺德股价闪崩超15%。被视为“接班神药”的CagriSema,未能压制礼来。
(相关扩展阅读:诺和诺德复方减重新药CagriSema头对头替尔泊肽Ⅲ期临床研究未达终点,股价大跌15%)
四、国产大军与降糖药:GLP-1之后,谁在围剿“药王”?
专利悬崖的浪潮,正从减重赛道一路蔓延至降糖药市场。
减重战场:司美格鲁肽的“国产围剿”
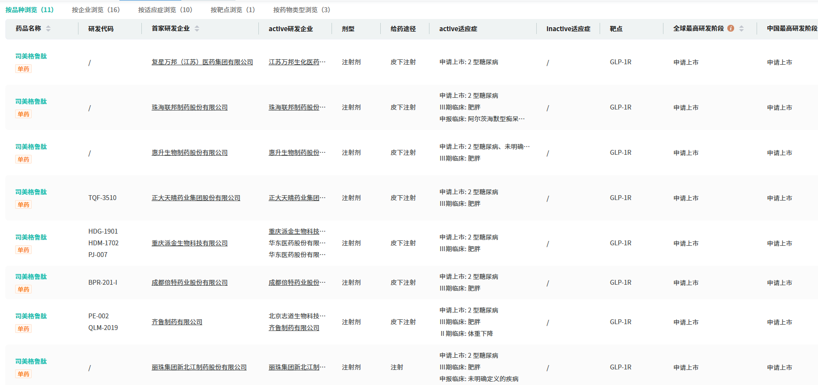
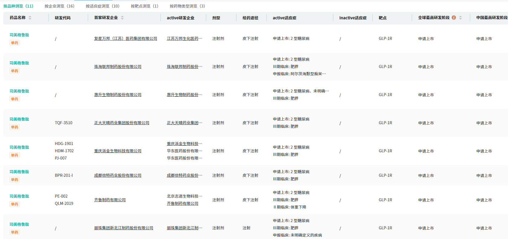
摩熵医药数据显示,国家药监局已受理11款国产司美格鲁肽上市申请,正大天晴、复星、成都倍特、石药、中美华东、齐鲁制药等已列队完毕。此外,国内还有多家药企的司美格鲁肽处于临床不同阶段,涵盖注射液、吸入喷雾剂、皮下注射、片剂等多种剂型,预计2026下半年至2027年将迎来第二波申报高峰。
收藏
登录后参与评论
暂无评论