
12月11日,据CDE官网显示,正大天晴子公司连云港润众制药按3.3类注册分类提交了司美格鲁肽注射液的上市申报获受理。

截图来源:CDE官网
据摩熵医药数据库显示,正大天晴的司美格鲁肽于2023年6月首次申请临床,8月获批临床,并在10月首次启动临床。目前该药已经启动2项III期临床试验:2型糖尿病适应症于2024年1月启动,今年6月已完成试验;肥胖适应症则始于2024年12月,于今年8月完成患者招募。

截图来源:摩熵医药全球药物研发数据库
司美格鲁肽的核心专利将于2026年3月到期,未来将面临着激烈的竞争。目前国内已有10款国产司美格鲁肽申报上市,分别来自正大天晴、石药集团、复星万邦、倍特药业、惠升生物、中美华东、联邦制药、九源基因、丽珠集团、齐鲁制药。
从注册分类来看,齐鲁制药和石药集团的司美格鲁肽是按照化药改良新药2.2 类申报,其它几款药都是按照生物类似药3.3类申报。
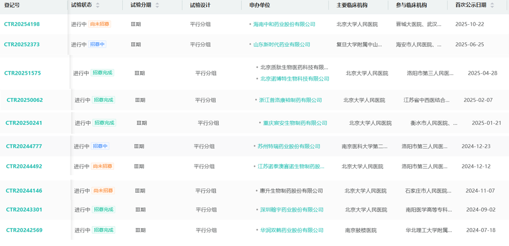
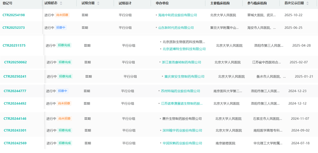
此外,还有10款国产司美格鲁肽已经进入到了临床III期阶段,来自质肽生物、华润双鹤、翰宇药业等公司。不难预料,未来国内的司美格鲁肽市场将进入残酷的竞争时代。

截图来源:摩熵医药数据库
参考来源:
[1] CDE官网
[2] 摩熵医药(原药融云)数据库
扩展阅读:
1. 南京正大天晴制药:氯苯唑酸葡胺软胶囊获批并视同过评,为国产第2家!
2. 正大天晴独家签约友芝友生物,3.15亿拿下M701肿瘤新药大陆权益
3. 2024年6月最新批件!67个品种过评,涉及正大天晴、科伦制药、倍特药业……
想要解锁更多药物研发信息吗?查询摩熵医药(原药融云)数据库(vip.pharnexcloud.com/?zmt-mhwz)掌握药物基本信息、市场竞争格局、销售情况与各维度分析、药企研发进展、临床试验情况、申报审批情况、各国上市情况、最新市场动态、市场规模与前景等,以及帮助企业抉择可否投入时提供数据参考!注册立享15天免费试用!








川公网安备51019002008863号
本网站未发布麻醉药品、精神药品、医疗用毒性药品、放射性药品、戒毒药品和医疗机构制剂的产品信息
收藏
登录后参与评论
暂无评论