
11月17日,九典发布公告:宣布加大对湖南诺纳医药科技有限公司的投资。
九典公告表示,为巩固对诺纳医药的控股地位,进一步深化公司在生物医药领域的战略布局,拟使用自有资金4,658.45万元,收购海南上善弘仁私募持有的诺纳医药10%股权。
本次交易完成后,九典对诺纳医药的持股比例将由60%提升至70%。
剩余30%股份,则由另一家老牌中药企业,湖南富兴集团下属子公司“湖南复兴飞鸽药业” 所持有。
01
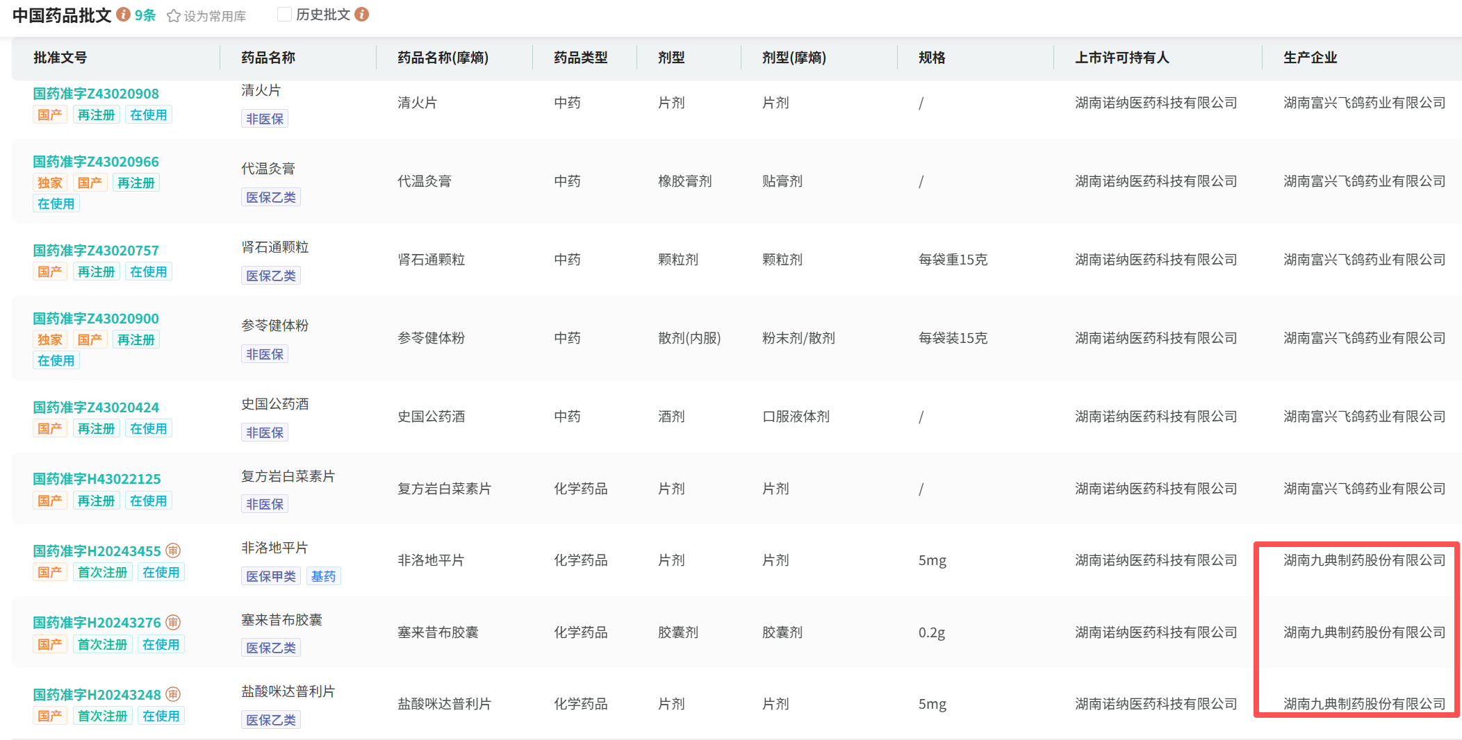
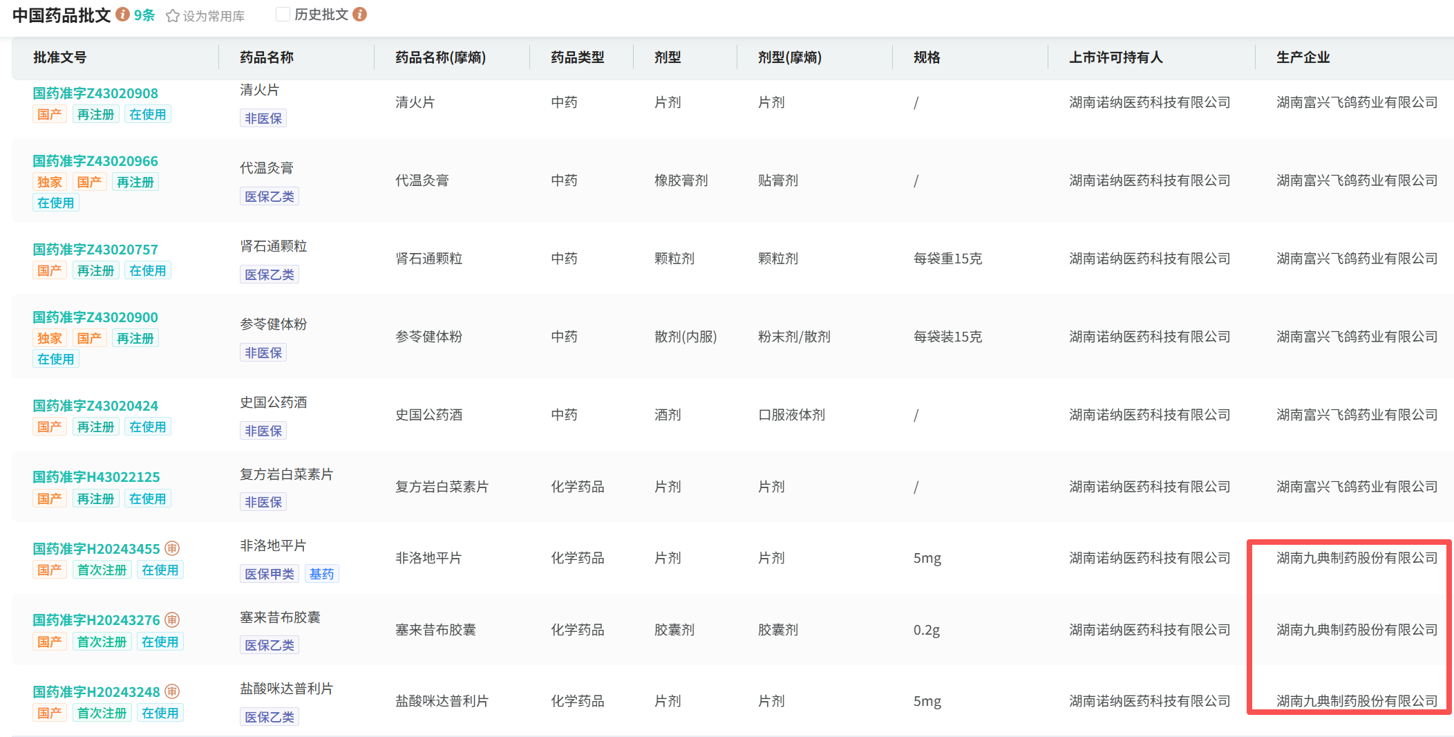
被投资方诺纳医药,成立于2021年10月,旗下共持有9个品种(5个中药和4个化药)。
仔细看这几个品种的生产企业很有意思,共9个品种,其中6个品种由富兴飞鸽代工,剩下3个品种则由九典代工。

截图来源:摩熵医药数据库
有意思的是,经查,诺纳医药持有的6个富兴飞鸽代工品种,均是由富兴飞鸽转让而来的,持有人转让完成时间就在11月初。

更更有意思的是,这6个品种中还包含了2个富兴飞鸽的独家中药品种:代温灸膏和参岑健体粉。
尤其值得注意的是代温灸膏,这个品种是富兴飞鸽的当家王牌品种,年销售额接近2个亿,撑起了该企业绝大部分的销售额。

行业共识,像“富兴飞鸽代温灸膏”这种常年稳定销售、有品牌效应的中药独家品种,价值是非常之高的。
而今富兴飞鸽却直接将其与其他五个产品打包给了诺纳医药,现在又成为其股东,不知是何用意。
现下诺纳医药的实际控股为九典,九典在公告内明确表示与富兴飞鸽不存在关联。
02
再看剩下3款由九典代工的化药(非洛地平片、盐酸咪达普利片、塞来昔布胶囊),均是24年过评的品种。
这三个品种中,唯一值得一提的是塞莱希布胶囊,这是唯一一个目前诺纳医药正在销售的品种,也是唯一一个九典原先没有的品种。
塞来昔布胶囊,是一个历久弥新的大品种。原研辉瑞,一款非甾体抗炎药,于2000年在国内上市,商品名为西乐葆,辉瑞独家了二十多年,最高的时候年销售额接近15亿。
直到2020年,开始有仿制企业过评,随后被纳入第三批集采,集采后院内销售额从超10亿降至5-6亿,西乐葆未中标,但地位却丝毫没被撼动,直到2024年医院端西乐葆依旧占比45%。
塞来昔布胶囊属于不被集采定生死的品种,院内市场原研地位坚挺,院外更是逐年增长,近三年药店端销售额年年破五亿,其中西乐葆占比接近80%。
在院外,塞来昔布胶囊在原研之下没有强者,石药,正大、恒瑞、齐鲁等统统只抢得到几千万的市场,除原研外没有超强仿制企业,对一些小公司而言反倒是一种机会。

注意到诺纳医药的塞来昔布胶囊销售增长很快,2024年2月下旬获批,24年销售尚不足50万,而2025年仅上半年就已经超过400万。尤其是药店端,25上半年两百万销售额增长来自药店,增长率超2588%。
九典公告称此次收购是为了整合资源,提升行业竞争力,诺纳医药靠着九典或许会有不一样的发展前景。
参考来源:摩熵医药数据库
扩展阅读:
1. 2大亿元品种!九典制药视同通过一致性评价,拿下国内首仿药
2. 九典制药克立硼罗软膏上市申请获CDE受理,竞争皮肤病用药市场
3. 宁夏伊品生物投资7018万元技改,缬氨酸年产能将达4.6万吨
想要解锁更多药企信息吗?查询摩熵医药(原药融云)数据库(vip.pharnexcloud.com/?zmt-mhwz)掌握药企公司基本信息、投融资情况、产品管线分布、药物销售情况与各维度分析、药物研发情况、年度报告、最新进展动态、临床试验信息、市场规模与前景等,以及帮助企业抉择可否投入时提供数据参考!注册立享15天免费试用!








川公网安备51019002008863号
本网站未发布麻醉药品、精神药品、医疗用毒性药品、放射性药品、戒毒药品和医疗机构制剂的产品信息
收藏
登录后参与评论
暂无评论