
10月26日,据CDE官网显示,湖南九典制药提交的4类仿制药克立硼罗软膏上市申请获受理。近日齐鲁制药顺利获批,拿下国产第2家。据摩熵医药数据库显示,克立硼罗软膏在2023年全国院内市场的销售额超1亿元。

截图来源:CDE
克立硼罗软膏由Anacor制药公司开发,是皮肤病用药明星产品。2020年7月,克立硼罗软膏在中国获批上市,用于治疗2岁及以上患者轻度至重度特应性皮炎,被列入国家《第二批临床急需境外新药》。据摩熵医药数据库显示,克立硼罗软膏在2023年全国院内市场的销售额超1亿元,同比增长超120%。该品种在临床应用广泛,竞争状况良好,市场潜力巨大。

截图来源:摩熵医药(原药融云)全国医院销售数据库
截至目前,克立硼罗软膏在国内目前有2家国内药企获批,2021年首次进入医保谈判目录,今年9月南京万融健诚医药斩获该品种首仿,10月齐鲁制药拿下该品种国产第2家。

截图来源:摩熵医药(原药融云)中国药品批文数据库
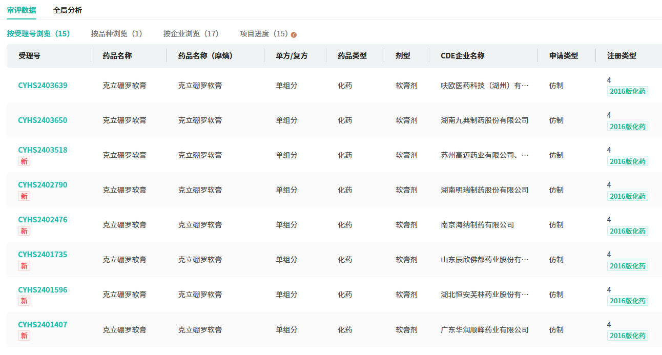
目前,克立硼罗软膏有九典制药、江苏万高药业、扬子江药业集团江苏制药、山东辰欣佛都药业、南京海纳制药、华益泰康药业等17家药企提交了4类仿制申请,均在审评审批中。若九典制药能顺利获批,有望后来者居上,夺得国产第3家。

截图来源:摩熵医药(原药融云)中国药品审评数据库
2024年至今,湖南九典制药有兰索拉唑肠溶胶囊、依巴斯汀口服溶液、吲哚布芬片等9个品种过评,其中依巴斯汀口服溶液、酮洛芬凝胶2品种为首家过评。
参考来源:
[1] CDE官网
[2] 摩熵医药(原药融云)数据库
<END>
想要解锁更多药物研发信息吗?查询摩熵医药(原药融云)数据库(vip.pharnexcloud.com/?zmt-mhwz)掌握药物基本信息、市场竞争格局、销售情况与各维度分析、药企研发进展、临床试验情况、申报审批情况、各国上市情况、最新市场动态、市场规模与前景等,以及帮助企业抉择可否投入时提供数据参考!注册立享15天免费试用!








川公网安备51019002008863号
本网站未发布麻醉药品、精神药品、医疗用毒性药品、放射性药品、戒毒药品和医疗机构制剂的产品信息
收藏
登录后参与评论
暂无评论