
药融云医药投融资数据库最新信息显示,Frontier Medicines公司近期成功完成了8000万美元的超额C轮融资。本轮融资由Deerfield Management Company和Droia Ventures共同领投,同时得到了战略投资者Galapagos NV的高度参与。此外,既有投资者DCVC Bio、MPM Capital和RA Capital Management等也积极参与了此次融资。此次所募集的资金将主要用于推进Frontier Medicines公司的潜在“first-in-class”KRAS G12C抑制剂FMC-376以及其他药物管线的临床开发。
FMC-376是一款在研口服的KRAS G12C小分子抑制剂,其独特之处在于能够同时靶向处于活性(ON)与非活性(OFF)状态的KRAS蛋白,该疗法已在多种KRAS G12C突变非小细胞肺癌(NSCLC)、胰腺癌和结直肠癌模型以及NSCLC脑转移模型中显示出体内有效性,预计能够提高临床有效性并延长发生耐药性的时间。FMC-376独特的双重作用机制有可能克服当前KRAS G12C抑制剂应答率不高和耐药性的问题。
很长时间以来,研究认为KRAS突变蛋白是“难以成药”的靶点。但近年来,随着美国食品药品监督管理局(FDA)分别于2021年5月和2022年12月加速批准两款KRAS G12C抑制剂sotorasib(AMG-510)和adagrasib(MRTX849)上市后,KRAS G12C靶向治疗迎来前所未有的蓬勃发展,也为携带KRAS基因突变的恶性肿瘤患者提供了新的治疗希望。
sotorasib研发现状
图片来源:药融云全球药物研发数据库
全球首款上市的KRAS靶向药,破局不可成药靶点
Sorasasib(AMG-510)是由安进公司研发的一种可逆且高选择性的小分子抑制剂,专门针对KRAS G12C突变。这一药物经过近40年的研究,终于成为首个获批的KRAS靶向疗法,并且是唯一一个被批准用于治疗KRAS G12C突变的局部晚期或转移性非小细胞肺癌患者的靶向药物。2021年1月,百济神州与安进的合作使得AMG-510(Sotorasib)被中国国家药品监督管理局(NMPA)列入“拟突破性治疗药物品种”。目前,AMG-510在国内正处于申请临床阶段。
Adagrasib(MRTX849)是由Mirati Therapeutics公司研发的另一种口服KRAS G12C抑制剂。它具有高效和高选择性,主要用于治疗那些既往至少接受过一次系统治疗的、携带KRAS G12C突变的局部晚期或转移性非小细胞肺癌(NSCLC)患者。MRTX849的作用机制是通过不可逆地将KRAS分子锁定在其非活性状态,从而最大化抑制效果,并防止肿瘤细胞生长。这种药物展现出显著改善的半衰期和对肿瘤的渗透能力,能够在整个给药间隔期间关闭KRAS信号,并表现出比之前的KRAS突变选择性抑制剂更高程度的抗肿瘤活性。
尽管既往的研究显示,sotorasib和adagrasib分别为KRAS G12C突变的NSCLC患者带来了6.8和6.5个月的中位无进展生存期(PFS)的临床益处,但在亚洲患者人群中的数据仍然有限,这意味着临床获益仍有进一步提升的空间。因此,针对这一人群的研究和探索新的治疗策略显得尤为重要。
adagrasib临床试验结果查询
图片来源:药融云临床试验结果数据库
国内KRAS G12C抑制剂进展
虽然KRAS G12C抑制剂开发难度大,但是仍吸引了众多企业布局。截至目前,国内尚无KRAS G12C抑制剂上市,但迎来研发热潮,竞争也变的越来越激烈。
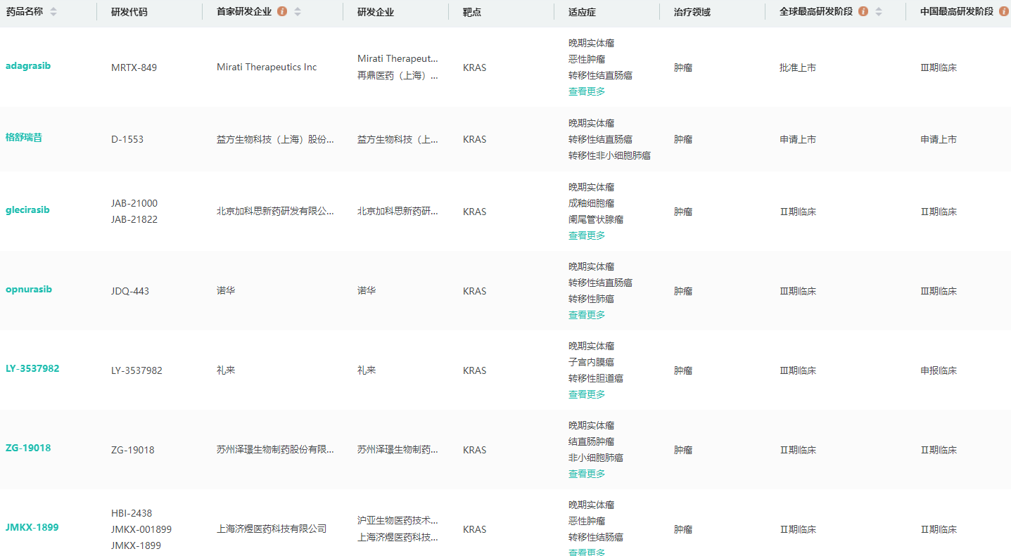
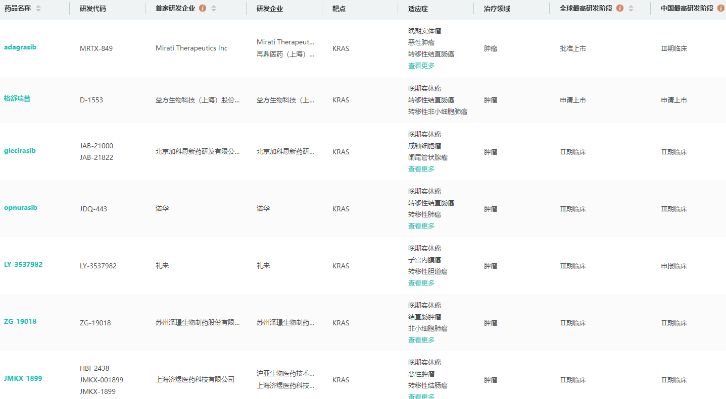
据药融云数据库统计,国内KRAS G12C抑制剂布局企业约七成还处于临床前阶段,已进入临床的有20余家。其中进度较快的有D-1553(申请上市)、IBI-351(申请上市)、MRTX-849(III期临床)、GDC-6036(III期临床)和JDQ443(III期临床)、JAB-21822(II期临床)等,国内“首款”的殊荣最终花落谁家,值得期待。
D-1553是由益方生物自主开发的国内首个进入临床试验阶段的KRAS G12C抑制剂,也是首个获得CDE突破性治疗品种的国产KRAS G12C抑制剂。2023年8月3日,中国生物制药曾公告,下属正大天晴药业集团已与益方生物签订许可与合作协议,获得后者KRAS G12C靶向药物D-1553产品在中国大陆地区开发、注册、生产和商业化的独家许可权。
IBI-351 (GFH-925) 是劲方医药研发的一款新型、具有口服活性的强效 KRAS G12C 抑制剂,通过阻断KRAS依赖的信号转导,抑制肿瘤细胞的增殖,并诱导细胞凋亡。2021年9月信达生物与劲方医药宣布达成全球独家授权协议,信达生物作为独家合作伙伴获得GFH-925在中国(包括中国大陆、香港、澳门及台湾)的开发和商业化权利,并拥有全球开发和商业化权益的选择权。
国内KRAS G12C抑制剂布局企业及进度查询
图片来源:药融云全球药物研发数据库
MRTX-849(阿达格拉西布,Adagrasib)是一款针对KRAS G12C突变体的特异性优化口服抑制剂。2021年6月1日,中国再鼎医药与Adagrasib的美国研发公司Mirati Therapeutics达成合作协议,获得在中国开发和独家商业化Adagrasib的权利。
JAB-21822(Glecirasib,戈来雷塞)是加科思自主研发的KRAS G12C变构抑制剂,初步临床效果积极,是潜在的同类最佳分子。戈来雷塞可作为单药用于治疗带有KRAS G12C突变的非小细胞肺癌、胰腺癌、结直肠癌等实体瘤,与SHP2i、EGFRi等联合用药,有望实现更优疗效,以及克服继发性耐药。
当前,国内针对KRAS G12C抑制剂的竞争愈发激烈,研发的整体趋势也在持续演变。在适应症方面,研发焦点已从非小细胞肺癌(NSCLC)逐渐扩展到其他适应症,如结直肠癌和胰腺癌等,显示出广泛的治疗潜力。治疗线数方面,也逐渐从末线向一线推进,意味着这些抑制剂在更早阶段的治疗中就能发挥重要作用。
在激烈的竞争环境下,究竟谁能成为“国内首款”KRAS G12C抑制剂,无疑令人期待。随着技术的不断进步和研究的深入,我们有理由相信,未来会有更多高效、安全的药物问世,为携带KRAS G12C突变的患者提供更多治疗选择。
<END>
要解锁更多企业药品研发信息吗?查询药融云数据库(vip.pharnexcloud.com/?zmt-mhwz)掌握药品各国上市情况、药品批文信息、销售情况与各维度分析、市场竞争格局、一致性评价情况、集采中标情况、药企申报审批信息、最新动态与前景等,以及帮助企业抉择可否投入时提供数据参考!注册立享15天免费试用!








川公网安备51019002008863号
本网站未发布麻醉药品、精神药品、医疗用毒性药品、放射性药品、戒毒药品和医疗机构制剂的产品信息
收藏
登录后参与评论
暂无评论