
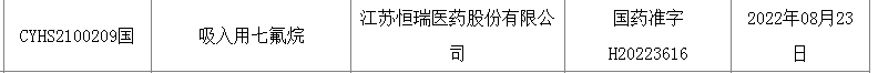
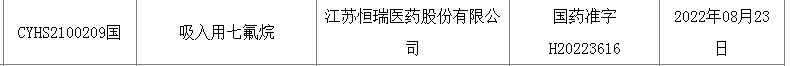
据近日NMPA所发布的药品批件信息,江苏恒瑞医药和河北一品生物的吸入用七氟烷同日过评。至此,这个年销售22亿元的麻醉剂大品种过评企业达3家。



截图来源:NMPA官网
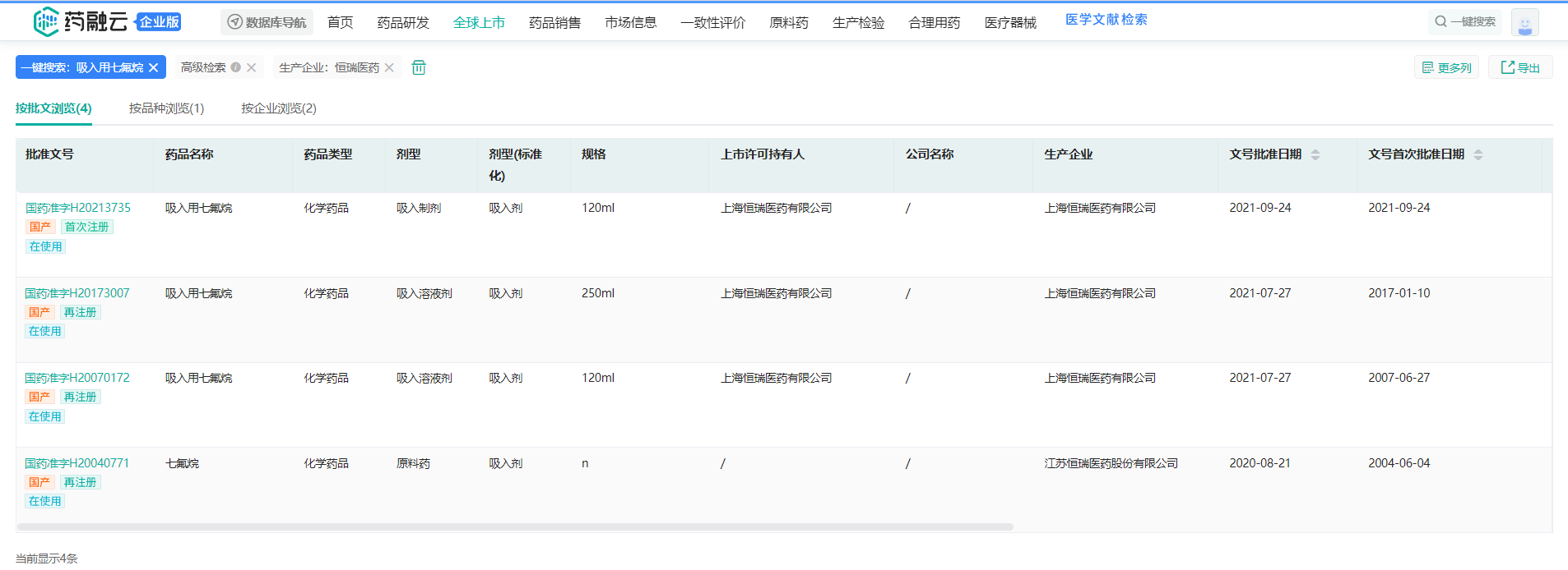
吸入用七氟烷原研来自丸石制药株式会社,以挥发性气体的形式从呼吸道通过进入人体内形成麻醉作用,适用于成年人和儿童的全身麻醉的诱导和维持。目前国内有丸石制药株式会社、上海恒瑞医药、鲁南贝特制药、河北一品制药等多家药企拥有该药品的批文。据药融云数据库显示,近年来吸入用七氟烷的院内销售额均稳定在20亿元左右,2021年超22亿元,其中上海恒瑞医药占据超6成的市场份额。
吸入用七氟烷院内销售情况

截图来源:药融云全国医院销售数据库
据药融云查询,此次并不是恒瑞医药第一次过评吸入用七氟烷。早在2021年,江苏恒瑞医药的吸入用七氟烷(规格:120ml)就率先以新注册分类获批上市,视同过评,拿下仿制药首家。
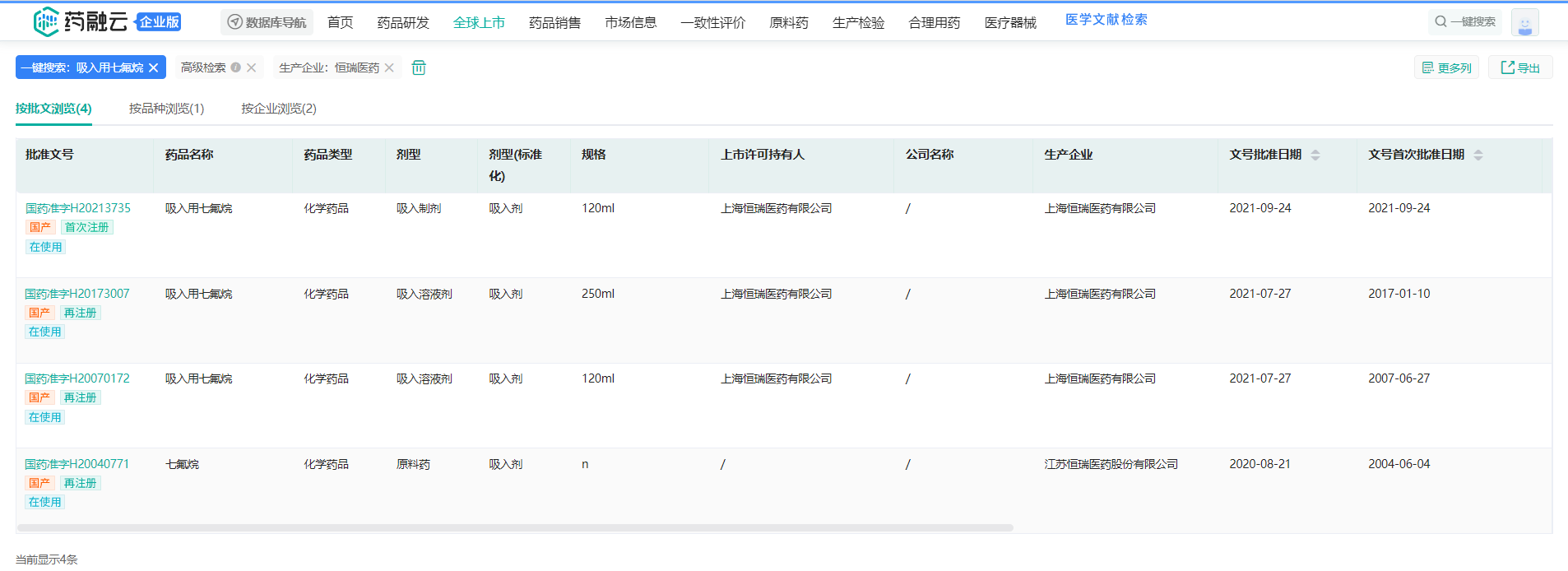
恒瑞医药吸入用七氟烷药品批文

截图来源:药融云中国药品批文数据库
目前,吸入用七氟烷还有4家企业提交上市申请在审评审批中,其中,四川百利药业、福建海西联合药业、山东新时代药业等3家国内企业以仿制4类报产,北京康利华咨询服务有限公司以5.2类报产(搜索"药融云小程序"进行相关更多数据查询)。
参考来源:
[1] CDE官网
[2] 药融云数据库
想要解锁更多药企仿制药信息吗?查询药融云数据库(vip.pharnexcloud.com/?zmt-mhwz)掌握药企仿制药申报情况、审批信息、最新进展、一致性评价、市场竞争格局、销售情况,市场规模与前景,可否投入!注册立享15天免费试用和虎年首份医药数据大礼包!

—END—







川公网安备51019002008863号
本网站未发布麻醉药品、精神药品、医疗用毒性药品、放射性药品、戒毒药品和医疗机构制剂的产品信息
收藏
登录后参与评论
暂无评论