

8月底,NMPA官网发布一批药品批准证明文件待领取信息,其中恒瑞医药以仿制4类报产的吸入用七氟烷(受理号CYHS2100209)获批上市,视同通过一致性评价。与此同时,一品制药的吸入用七氟烷(受理号CYHS2101295)也同日获批。
一品制药吸入用七氟烷一致性评价审评时间轴(部分)

图片来源:药融云一致性评价审评进度数据库
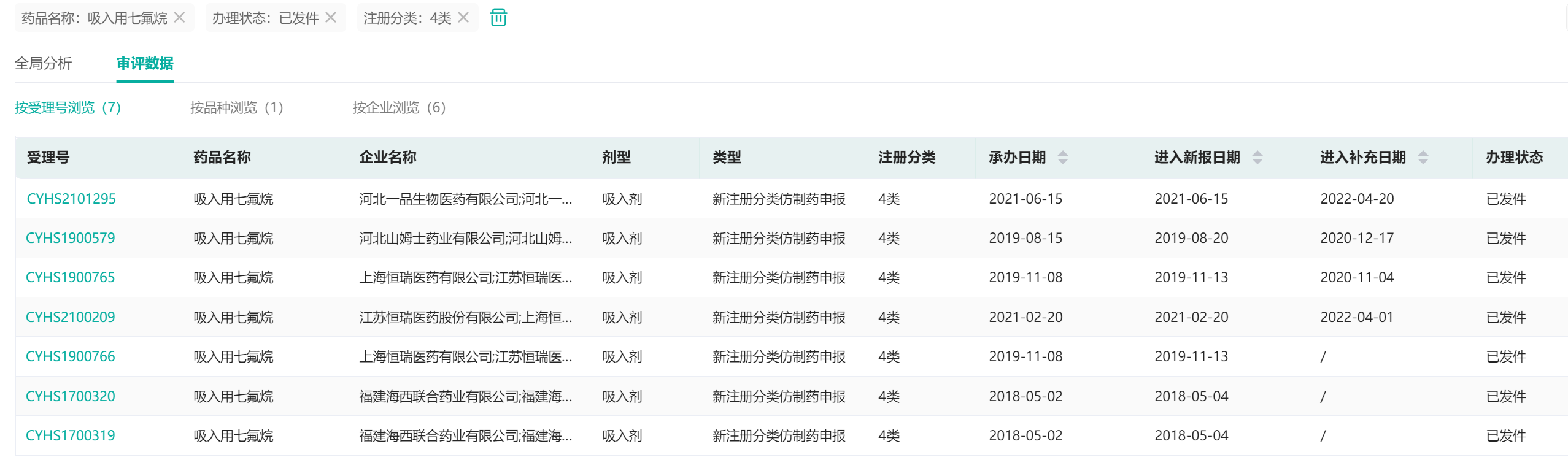
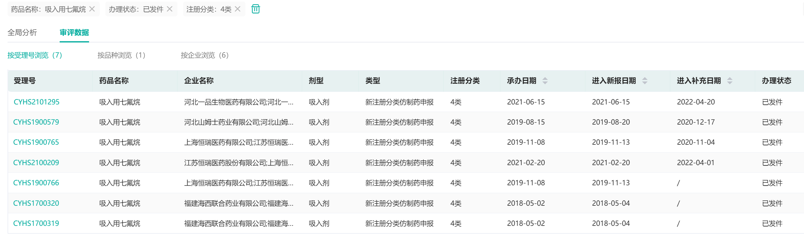
据药融云一致性评价审评进度数据库显示,截至目前,吸入用七氟烷有8家企业拥有生产批文,其中,有6家企业以仿制4类获批上市,包括上海恒瑞医药、江苏恒瑞医药、福建海西联合药业、河北一品制药、河北一品生物、河北山姆士药业。
此外,还有7家企业报产的吸入用七氟烷在审评审批中,其中福建海西联合药业、四川百利药业、山东新时代药业以仿制4类报产(搜索"药融云小程序"进行相关更多数据查询)。
吸入用七氟烷审评数据(部分)

图片来源:药融云一致性评价审评进度数据库
吸入用七氟烷以挥发性气体的形式从呼吸道通过进入人体内形成麻醉作用,适用于成年人和儿童的全身麻醉的诱导和维持。吸入用七氟烷由丸石制药株式会社研发,1990年首次在日本获批上市,商品名为喜保福宁®、SEVOFRANE®,现已在中国、美国、欧洲等国家获批上市。
据药融云全国医院销售数据库显示,在中国医院端市场吸入用七氟烷销售额已超20亿元,2021年销售额达22.47亿元,同比增长12.55%。其中,恒瑞医药占据了超六成的市场份额,而艾伯维、鲁南贝特分别占据其20%左右的市场份额。
吸入用七氟烷医院端历年销售趋势

图片来源:药融云全国医院销售数据库
截至目前,恒瑞医药吸入用七氟烷相关项目累计已投入研发费用约为1492万元。麻醉业务是恒瑞医药的第二大核心业务,2018年至2020年分别营收46.53亿元、55.07亿元和45.91亿美元。由于新冠疫情和带量采购的影响,2020年恒瑞医药麻醉业务营收下降。
恒瑞医药发布的2022年上半年业绩报告显示,2022年上半年恒瑞医药累计研发投入达到29.09亿元,同比增加12.74%,研发投入占销售收入的比重同比提升至28.44%,创历史新高。
报告期内,恒瑞医药取得创新药制剂生产批件2个,仿制药制剂生产批件11个;取得药品临床批件26 个;取得2个品种的一致性评价批件,1项临床试验被纳入美国 FDA 孤儿药资格认定,可谓成绩斐然。
恒瑞医药瑞维鲁胺片获批信息(部分)

图片来源:药融云中国药品审评数据库
近年来,因为吸入麻醉药在体内积累的可能性较低,同时对具有多种药物过敏的患者,吸入麻醉药物的给药方式被认为是安全的选择,市场规模一直在持续增长。且随着慢性病的流行、医疗保障体系的完善以及生活水平的提升,全球老龄化的加剧,全球手术数量有所增长,也将推动吸入式麻醉药品市场增长。
由于麻醉药行业具有专业性强、壁垒高的特征,国内市场主要呈现出国外进口企业和部分国内优势企业竞争的局面。未来,只有拥有好的创新能力的药企,才能将具有国际竞争力的麻醉药推向海外,参与全球市场的竞争,恒瑞医药值得期待。
想要解锁更多药企仿制药信息吗?查询药融云数据库(vip.pharnexcloud.com/?zmt-mhwz)掌握药企仿制药申报情况、审评情况、最新进展、一致性评价、市场竞争格局、销售情况,市场规模与前景,可否投入!注册立享15天免费试用和虎年首份医药数据大礼包!

<END>







川公网安备51019002008863号
本网站未发布麻醉药品、精神药品、医疗用毒性药品、放射性药品、戒毒药品和医疗机构制剂的产品信息
收藏
登录后参与评论
暂无评论