
近日,天津红日药业股份有限公司(以下简称“红日药业”)收到国家药品监督管理局核准签发的《药品补充申请批准通知书》(通知书编号:2023B04587、2023B04588),公司生产的罗库溴铵注射液通过了仿制药质量和疗效一致性评价。同时同意变更有效期和贮藏条件。生产工艺、质量标准和说明书照所附执行,标签相关内容应与说明书保持一致。有效期为24个月。

罗库溴铵注射液为全身麻醉辅助用药,用于常规诱导麻醉期间气管插管,以及维持术中骨骼肌的神经肌肉阻滞。该药品由ORGANON公司研发,于1994年在美国上市,2000年进口的罗库溴铵注射液在中国批准上市,有2.5ml:25mg和5ml:50mg两个规格。至今,罗库溴铵已在全球广泛使用,包括原研厂家Organon公司在内,国内已有15家企业获得了罗库溴铵注射液生产批文。
已有罗库溴铵注射液批文的相关企业

截图来源:药融云中国药品批文数据库
目前包括红日药业在内已有福安药业(首家过评)、浙江华海药业、扬子江等14家企业通过仿制药质量和疗效一致性评价。

截图来源:药融云过评药品汇总数据库
2003年11月,罗库溴铵经获准进入中国市场。近年来,随着我国医疗机构住院人数及手术台数持续增加,罗库溴铵国内市场持续扩容。根据药融云全国医院销售数据显示,罗库溴铵注射液在大医院2022年销售额高达9.36亿元,医院全终端销售额超过11亿元。

截图来源:药融云全国医院销售数据库
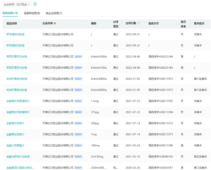
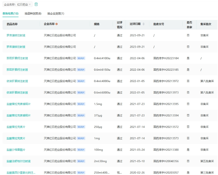
根据药融云一致性评价数据库显示,目前红日药业已有8个品种通过或视同通过一致性评价,依诺肝素钠注射液、盐酸法舒地尔注射液、盐酸莫西沙星氯化钠注射液在国家集采中顺利中标。

截图来源:药融云过评药品汇总数据库
<END>
要解锁更多企业药品研发信息吗?查询药融云数据库(vip.pharnexcloud.com/?zmt-mhwz)掌握药品各国上市情况、药品批文信息、销售情况与各维度分析、市场竞争格局、一致性评价情况、集采中标情况、药企申报审批信息、最新动态与前景等,以及帮助企业抉择可否投入时提供数据参考!注册立享15天免费试用!








川公网安备51019002008863号
本网站未发布麻醉药品、精神药品、医疗用毒性药品、放射性药品、戒毒药品和医疗机构制剂的产品信息
收藏
登录后参与评论
暂无评论