
近日,Vertex(福泰制药)宣布,欧洲药品管理局(EMA)已经受理了KAFTRIO (ivacaftor/tezacaftor/elexacaftor)与ivacaftor联合使用的II类变更申请。该申请是为了扩大已批准的KAFTRIO与ivacaftor联合治疗方案的适应症,用于治疗2岁及以上的囊性纤维化(CF)患者,这些患者的囊性纤维化跨膜传导调节(CFTR)基因突变根据临床和/或体外数据(包括N1303K突变)具有应答性。
该申请现在将由人用药品委员会(CHMP)审查,该委员会将向欧盟委员会发布关于批准该扩展许可的意见。支持此次提交的数据包括一项针对罕见非F508del KAFTRIO应答的CFTR突变患者的3期随机、安慰剂对照临床研究的结果。
该研究达到了其主要终点,并显示与安慰剂相比,KAFTRIO联合ivacaftor可导致肺功能具有统计学意义和临床意义的快速改善(ppFEV1增加9.2个百分点;P<0.0001;95% CI[7.2,11.3])。该药总体耐受性良好,安全性数据与KAFTRIO联合ivacaftor的既定安全性基本一致。如果联用方案获批,欧洲将有超过1500多例儿童第一次有资格获得一种可治疗疾病根本原因的药物。
Kaftrio与Kalydeco(ivacaftor)联合用药全球研发现状

图片来源:药融云全球药物研发数据库
药融云全球药物研发数据库显示,在欧洲,Kaftrio与Kalydeco(ivacaftor)联合用药方案于2020年8月已获得批准:用于治疗年龄≥12岁、CFTR基因中存在至少一个F508del突变的CF患者。在全球范围内,F508del是导致CF的最常见突变。
而在美国,这款三联疗法(Kaftrio+Kalydeco方案)已于2019年10月获得FDA批准,品牌名为Trikafta(elexacaftor/tezacaftor/ivacaftor+ivacaftor)。2021年6月,美国FDA批准扩大Trikafta的使用范围:纳入CFTR基因至少有一个F508del突变、或CFTR基因中有特定突变且基于体外数据对Trikafta治疗有反应的6-11岁CF患者。之前,Trikafta被批准用于携带至少一个F508del突变、或CFTR基因存在一个特定突变且基于体外数据该突变对Trikafta治疗有反应的≥12岁CF患者。
三联疗法(Kaftrio+Kalydeco方案)获得特殊审批

图片来源:药融云全球药物研发数据库
据悉,Vertex计划在澳大利亚、巴西、加拿大、新西兰和瑞士提交相同突变的监管文件。该公司还计划提交这些突变的子集,包括N1303K和非常规剪接突变,目前不包括在美国TRIKAFTA中美国食品和药物管理局的标签。
关于囊性纤维化
囊性纤维化(CF)是一种罕见的缩短寿命的遗传疾病,影响着全球88000多人。CF是一种进行性多器官疾病,影响肺、肝、胰腺、胃肠道、鼻窦、汗腺和生殖道。CF是由CFTR蛋白缺陷和/或缺失引起的。
虽然有许多不同类型的CFTR导致疾病的突变,绝大多数CF患者至少有一个F508del突变。CFTR突变通过导致CFTR蛋白缺陷或导致细胞表面CFTR蛋白缺乏或缺失而导致CF。CFTR蛋白的功能缺陷和/或缺失导致盐和水在许多器官中进出细胞的流动不畅。在肺部,这导致异常粘稠的粘液积聚、慢性肺部感染和进行性肺部损伤,最终导致许多患者死亡。死亡的中位年龄是30多岁,但是通过治疗,预计存活率正在提高。
中国CF患者罕见,于2018年被列入中国首批罕见病目录。近年来,CF在中国逐步被认识,中国近10年报道的CF患者数超过了之前30年总和的2.5倍,预计总人数超过2万例。
目前,囊性纤维化可通过药物治疗、手术治疗、生活调整等方式进行治疗。其中药物治疗是囊性纤维化的主要治疗方式。囊性纤维化主要影响的器官是肺部,黏液阻塞呼吸道,使其容易感染和发炎。因此,目前药物治疗囊性纤维化的主要目的为防止感染,减少肺部分泌液量和黏稠程度,为实现这一目的,常使用支气管扩张剂、抗生素、口服消化酶、CFTR调节剂等药物进行治疗。
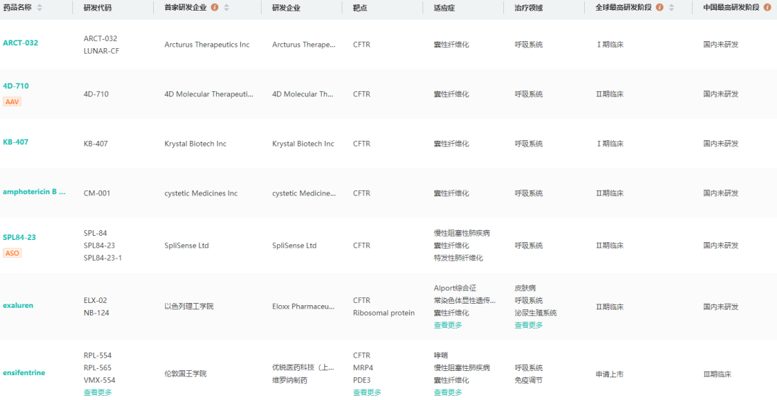
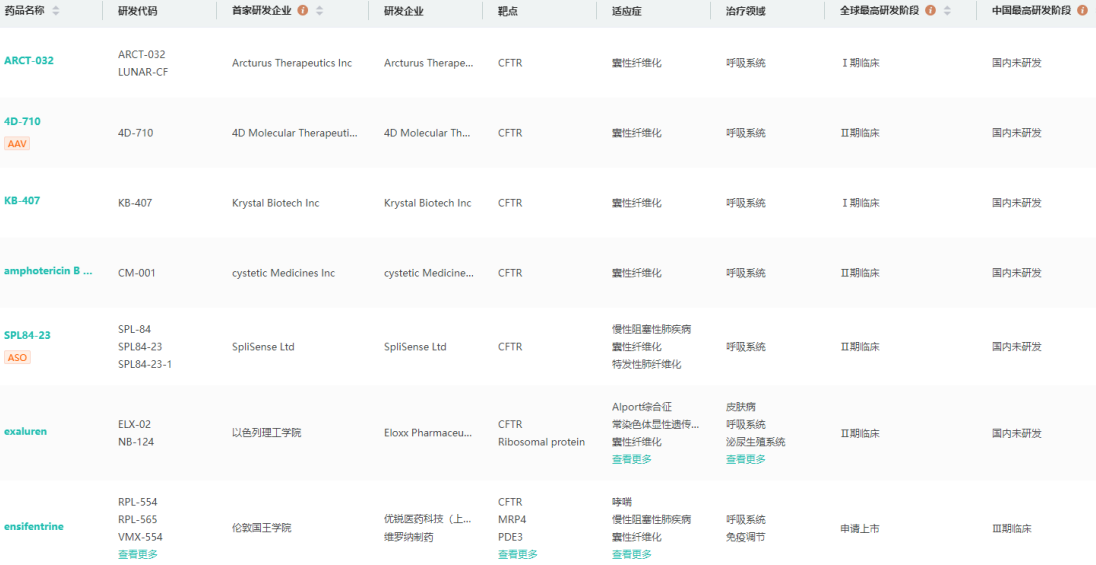
囊性纤维化全球在研药物查询(部分)

图片来源:药融云全球药物研发数据库
其中CFTR调节剂(囊性纤维化跨膜电导调节剂)是目前有效矫正囊性纤维化的关键药物之一。囊性纤维化患者最常携带的基因突变为CFTR第508位的苯丙氨酸缺失(Δ508),该突变会引起严重的蛋白运输缺陷从而导致CFTR在胞内滞留和提前降解。基于此,CFTR调节剂应运而生,可用于逆转突变危害,更有效的治疗囊性纤维化。
目前市面上已开发的CFTR调节剂主要有两大类,分别为矫正剂(增加细胞膜表面CFTR丰度)与增效剂(增强细胞膜上CFTR功能)。其中ivacaftor、tezacaftor、elexacaftor三种药物合并使用的三联疗法,是目前治疗囊性纤维化最先进的药物治疗手段,市场存在较大发展前景。
药融云数据库显示,全球范围内,布局囊性纤维化药物市场的企业主要有福泰制药(Vertex)、艾伯维(AbbVie)、艾尔建(Allergan)、凯西制药(Chiesi Farmaceutici SpA)、吉利德(Gilead)、诺华、朗煜药业等。
福泰制药以其针对治疗囊性纤维化(CF)的孤儿药起家,现在已经发展为庞大的生物技术公司,是目前全球囊性纤维化药物市场龙头企业,市值逼近千亿美元,年营收近百亿美金。它的成功得益于突破性药物TRIKAFTA(三组分复方制剂),其三联疗法Trikafta/Kaftrio在2023年一季度收入超过40亿美元。
<END>
要解锁更多企业药品研发信息吗?查询药融云数据库(vip.pharnexcloud.com/?zmt-mhwz)掌握药品各国上市情况、药品批文信息、销售情况与各维度分析、市场竞争格局、一致性评价情况、集采中标情况、药企申报审批信息、最新动态与前景等,以及帮助企业抉择可否投入时提供数据参考!注册立享15天免费试用!








川公网安备51019002008863号
本网站未发布麻醉药品、精神药品、医疗用毒性药品、放射性药品、戒毒药品和医疗机构制剂的产品信息
收藏
登录后参与评论
暂无评论