
近日,据CDE官网公示,扬子江药业集团提交了丁酸氯维地平乳状注射液3类仿制药上市申请获受理。2023年至今,公司有26个品种获批生产并视同过评,其中斩获3个首仿。目前扬子江药业提交了35个仿制申请,其中6个品种国内暂无企业获批,重磅出击6大首仿。同时还有154个品种(35个为首家)过评,在仿制药过评企业中一直名列前茅。

截图来源:CDE官网
丁酸氯维地平由阿斯利康研制的一种新型短效二氢吡啶类钙通道拮抗剂,适用于在口服降压药不适用或无法取得满意疗效的情况下治疗高血压。于2008年8月丁酸氯维地平注射用脂肪乳经美国FDA批准首次上市。
剑指27亿+抗高血压市场,重磅出击6大首仿
高血压是我国患病人数最多的慢性病之一,据弗若斯特沙利文的统计数据,2013-2019年中国抗高血压药物市场规模平均年复合增长率达到12.2%。高血压用药行业市场规模在2021年已突破千亿元,达到1035亿元,同比增长8.3%。据药融云数据统计,2022年全国院内抗高血压药(化药或生物药)市场销售额超27亿元,同比增长达18%。

截图来源:药融云全国医院销售数据库
在2022年全国院内抗高血压市场中,武田药业以21%的市场份额稳居首位。面对27亿元的抗高血压市场,扬子江药业也发起冲击,试图在市场中占据一席之地。据药融云数据统计,目前丁酸氯维地平乳状注射液仅有扬子江药业和南京优科制药提交了仿制申请,此外,扬子江药业还提交了35个仿制申请,其中丁酸氯维地平乳状注射液、比拉斯汀片、注射用卡非佐米、醋酸钠林格葡萄糖注射液、甲磺酸沙芬酰胺片、复方电解质注射液(III)6个品种国内目前暂时无企业获批,若扬子江药业顺利获批,有望获得首仿。

截图来源:药融云数据库整合
26个重磅品种获批,154个过评品种霸屏
2023年至今,扬子江药业已有26个仿制药获批生产并视同过评,其中盐酸奈康唑乳膏、氨氯地平贝那普利胶囊、头孢克洛缓释片(Ⅱ)、兰索拉唑肠溶胶囊、瑞戈非尼片5个品种为首家过评。
扬子江获批品种,标红为首家图片

截图来源:药融云中国药品审评数据库
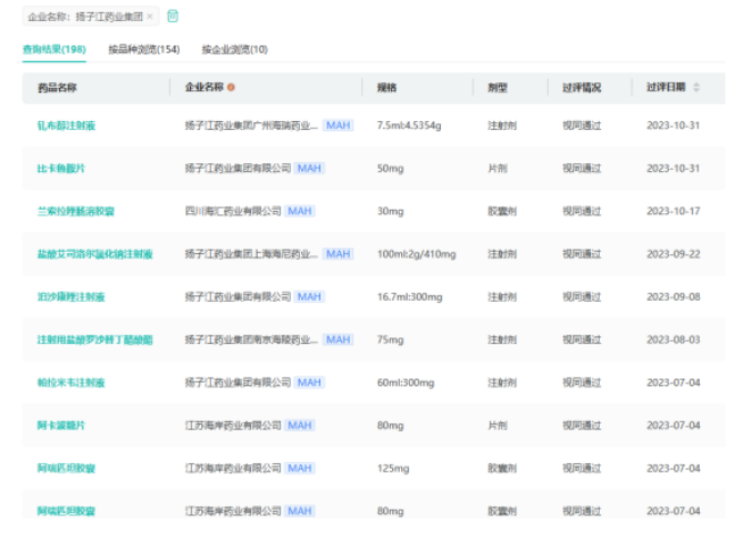
目前,还有154个品种过评,其中注射用头孢他啶、盐酸右美托咪定注射液、盐酸特拉唑嗪胶囊、依帕司他片、马来酸依那普利片等35个品种为首家过评,扬子江药业在仿制药过评企业中一直名列前茅。从治疗领域来看154个品种涵盖12个治疗大类,涵盖全身用抗感染药物(31个)、消化系统及代谢药(19个)、神经系统药物(19个)、抗肿瘤和免疫调节剂(18个)、心脑血管系统药物(17个)等领域。

截图来源:药融云过评药品汇总数据库
此外,今年已有27个品种(含子公司)过评,并斩获瑞戈非尼片、盐酸奈康唑乳膏、氨氯地平贝那普利胶囊3款首仿。
<END>
要解锁更多企业药品研发信息吗?查询药融云数据库(vip.pharnexcloud.com/?zmt-mhwz)掌握药品各国上市情况、药品批文信息、销售情况与各维度分析、市场竞争格局、一致性评价情况、集采中标情况、药企申报审批信息、最新动态与前景等,以及帮助企业抉择可否投入时提供数据参考!注册立享15天免费试用!








川公网安备51019002008863号
本网站未发布麻醉药品、精神药品、医疗用毒性药品、放射性药品、戒毒药品和医疗机构制剂的产品信息
收藏
登录后参与评论
暂无评论