
5月22日,据NMPA官网公示,其中,注射用头孢西丁钠迎来2家药企同日过评,分别是石药集团中诺药业和安徽省先锋制药。据药融云数据统计,该品种在2022年全国院内销售额超12亿元。

截图来源:NMPA
注射用头孢西丁钠作为一款备受信赖的头孢类抗菌药物,专门用于治疗对本品敏感的细菌所引发的多种感染。其适应症广泛,涵盖上下呼吸道感染、泌尿道感染(含无并发症的淋病)、腹膜炎、腹腔内及盆腔内感染、败血症(含伤寒)、妇科感染、骨与关节软组织感染以及心内膜炎等。据药融云数据统计,注射用头孢西丁钠在2022年全国院内销售额超12亿元,同比增长达2.55%,注射用头孢西丁钠在2023年(截止Q3)全国院内销售额近9亿元,显示出强劲的市场需求和广泛的应用前景。

截图来源:药融云全国医院销售数据库
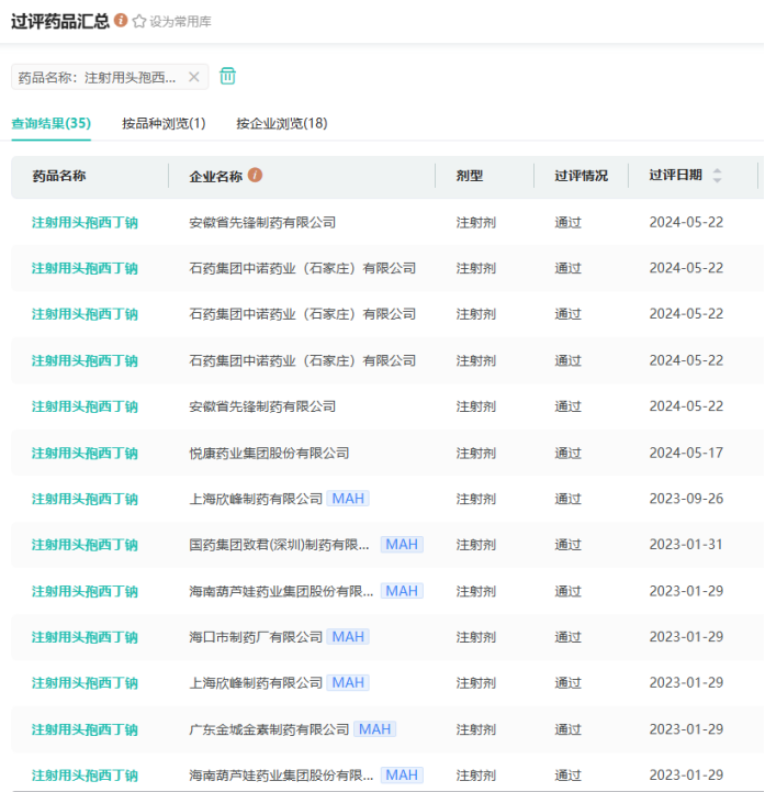
注射用头孢西丁钠在国内已有安徽省先锋制药、上海上药新亚药业、广州白云山医药集团、四川制药制剂、石药集团中诺药业等超60家药企拥有生产批文,其中过评的有石药集团中诺药业、安徽省先锋制药、山东鲁抗医药、四川制药制剂、扬子江药业、悦康药业等18家药企。

截图来源:药融云过评药品汇总数据库
目前石药集团中诺药业有20款药品过评,今年(截止5月22日)有注射用头孢呋辛钠、注射用头孢西丁钠、注射用氨苄西林钠等7个品种过评。

截图来源:药融云过评药品汇总数据库
此外安徽省先锋制药目前有9个品种过评,今年(截止5月22日)有注射用头孢呋辛钠、注射用头孢西丁钠、拉莫三嗪分散片等5个品种过评。
参考来源:
[1] NMPA官网
[2] 药融云数据库
<END>
想要解锁更多药物研发信息吗?查询药融云数据库(vip.pharnexcloud.com/?zmt-mhwz)掌握药物基本信息、市场竞争格局、销售情况与各维度分析、药企研发进展、临床试验情况、申报审批情况、各国上市情况、最新市场动态、市场规模与前景等,以及帮助企业抉择可否投入时提供数据参考!注册立享15天免费试用!








浙公网安备33011002015279
本网站未发布麻醉药品、精神药品、医疗用毒性药品、放射性药品、戒毒药品和医疗机构制剂的产品信息
收藏
登录后参与评论
暂无评论